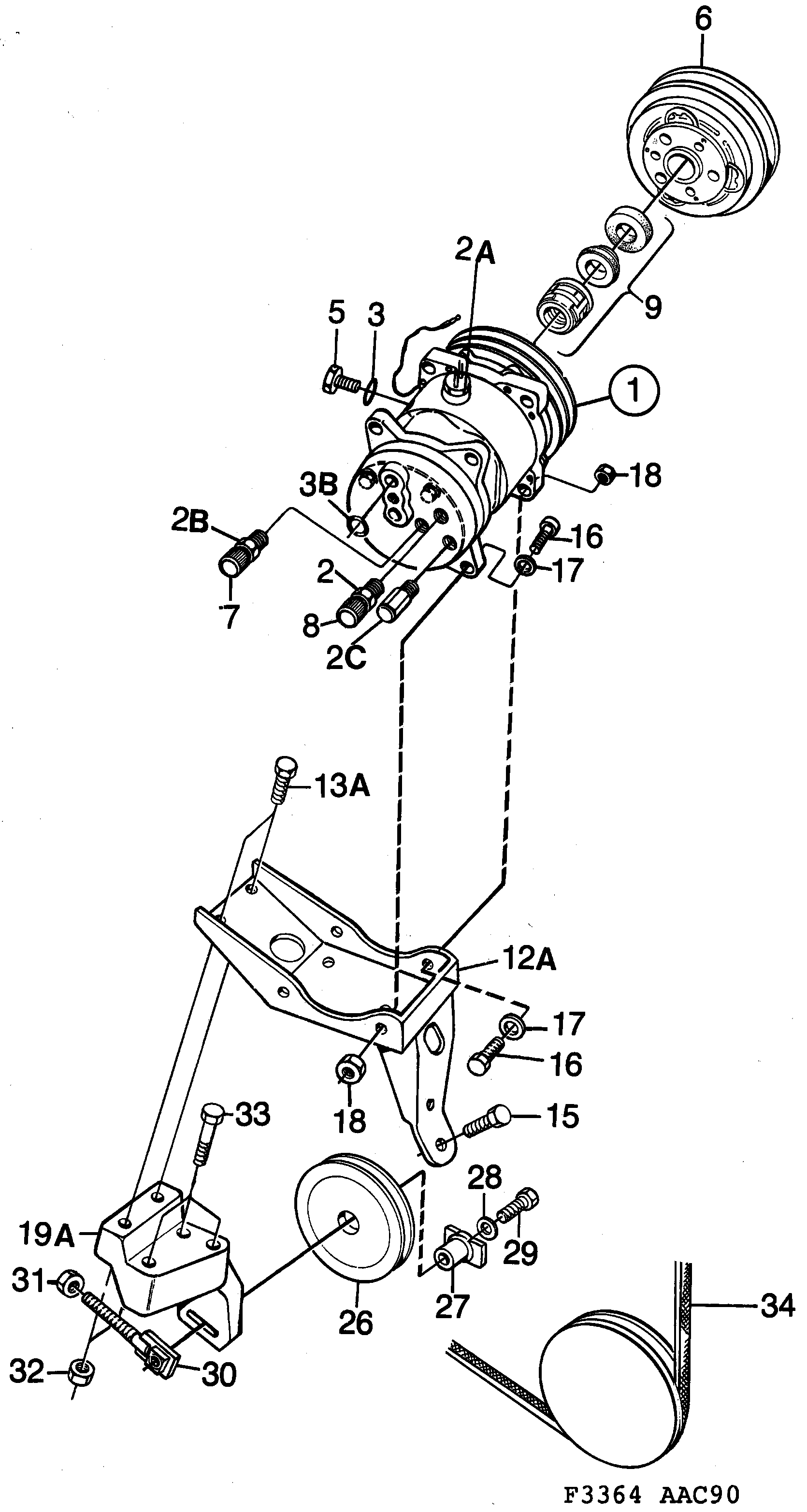
260: Heating and ventilation - AC compressor
(1990 - 1993) | For 900 (1990)
Also valid for CV 1994

| Pos. | Part No. | Qty | |||
|---|---|---|---|---|---|
| 1 | 4070827 Compressor -1990 | 1 | |||
| 1 | 4073995 Compressor 1990- | 1 | |||
| 2 | 4071411 Valve | 1 | |||
| 2A | 9481995 Switch | 1 | |||
| 2B | 9482225 Valve | 1 | |||
| 2C | 4070835 Valve | 1 | |||
| 3 | 9482217 Seal | 1 | |||
| 3B | 7972318 O-ring | 2 | |||
| 5 | 9482209 Plug | 1 | |||
| 6 | 9481987 Clutch | 1 | |||
| 7 | 4071593 Plug Brown | 1 | |||
| 8 | 4071585 Plug Black | 1 | |||
| 9 | 4074944 Sealing kit -1990 | 1 | |||
| 12A | 7549439 Bracket | 1 | |||
| 13A | 7975238 30509216 Screw | 2 | |||
| 15 | 9339615 Screw | 1 | |||
| 16 | 7975030 Screw | 4 | |||
| 17 | 8073108 Washer | 4 | |||
| 18 | 7967979 Nut | 4 | |||
| 19A | 7543556 Arm | 1 | |||
| 26 | 9325663 4118964 Pulley -1990 | 1 | |||
| 26 | 4118964 Pulley 1990- | 1 | |||
| 27 | 7543614 Pin | 1 | |||
| 28 | 7977440 Washer | 1 | |||
| 29 | 8083974 Screw | 1 | |||
| 30 | 7543606 Screw | 1 | |||
| 31 | 7971922 92150143 Nut | 1 | |||
| 32 | 7967953 11900429 Nut | 2 | |||
| 33 | 7975238 30509216 Screw | 3 | |||
| 34 | 9367020 Belt, v ribbed | 1 | |||
9482043 Oil | 1 | ||||
| X | |||||