680: Transmission - Gearbox, automatic - Control system
(1990 - 1993 | A) | For 9000 (1990)

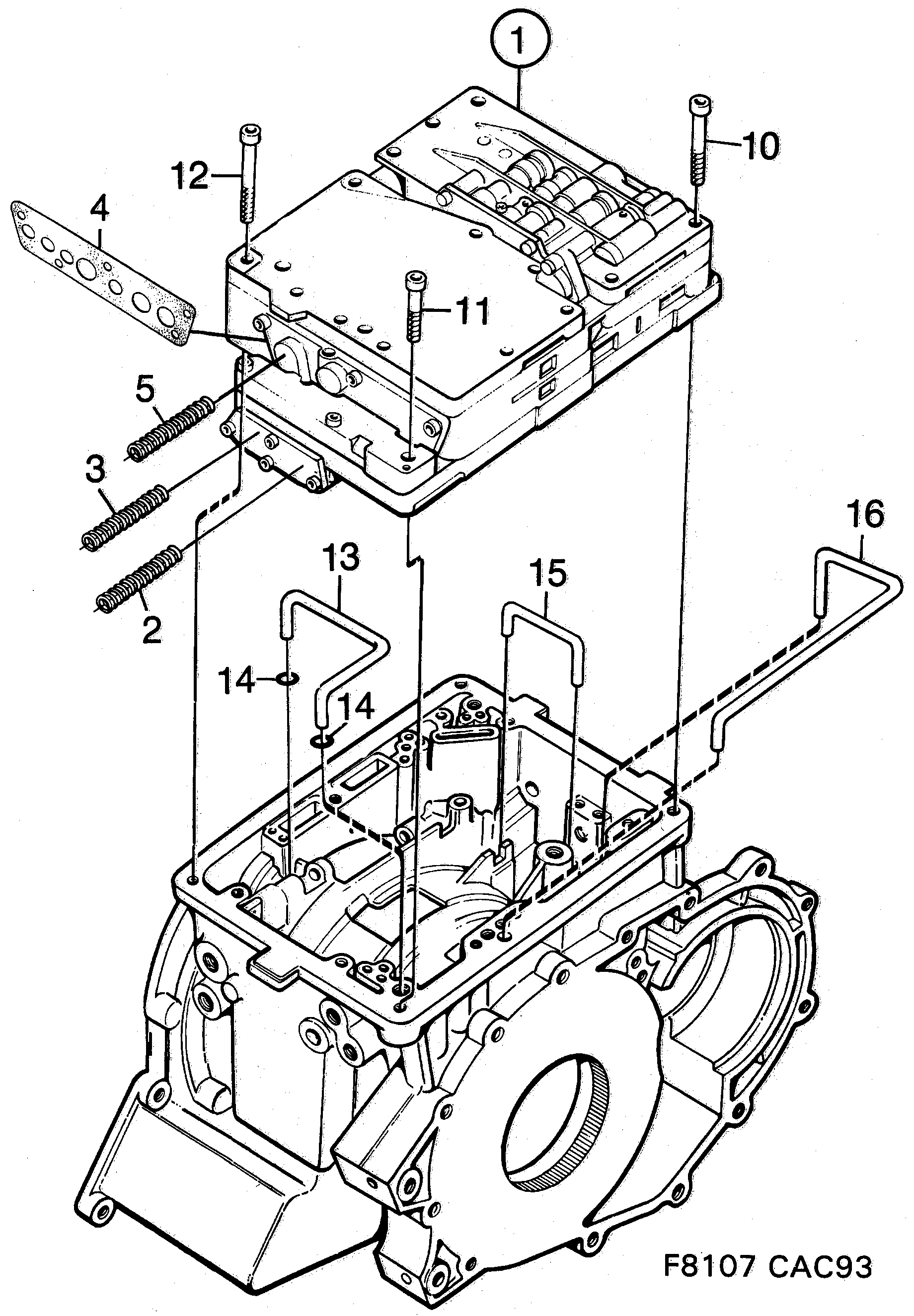
| Pos. | Part No. | Qty | |||
|---|---|---|---|---|---|
| 1 | 4026704 Control unit -2001 | B202TURBO | 1 | |||
| 1 | 4026688 Control unit -2001 | B234TURBO | 1 | |||
| 1 | 4026829 Control unit -2001 | B202I | 1 | |||
| 1 | 4026696 Control unit -2009 | B234I | 1 | |||
| 2 | 7577166 Spring B202 | reverse | 1 | |||
| 2 | 4280657 Spring B234 | reverse | 1 | |||
| 3 | 4478046 Spring -2001 | B202 | front | 1 | |||
| 3 | 4119277 Spring -2001 | B234I | front | 1 | |||
| 3 | 4280723 Spring -2001 | B234TURBO | front | 1 | |||
| 4 | 4477386 Gasket | 1 | |||
| 5 | 7558141 Spring See SI 440-1542 | 1 | |||
| 5 | 7575251 Spring See SI 440-1542 | 1 | |||
| 10 | 7593650 Screw | 8 | |||
| 11 | 7557754 Screw | 1 | |||
| 12 | 7557846 Screw | 1 | |||
| 13 | 7595002 Tube TURBO | 1 | |||
| 14 | 7594146 O-ring TURBO | 2 | |||
| 15 | 7570294 Tube | 1 | |||
| 16 | 7570310 Tube | 1 | |||
7496094 Gasket kit B202 | Stage 1-2 | X | ||||
7496102 Gasket kit B202 | Stage 3 | X | ||||