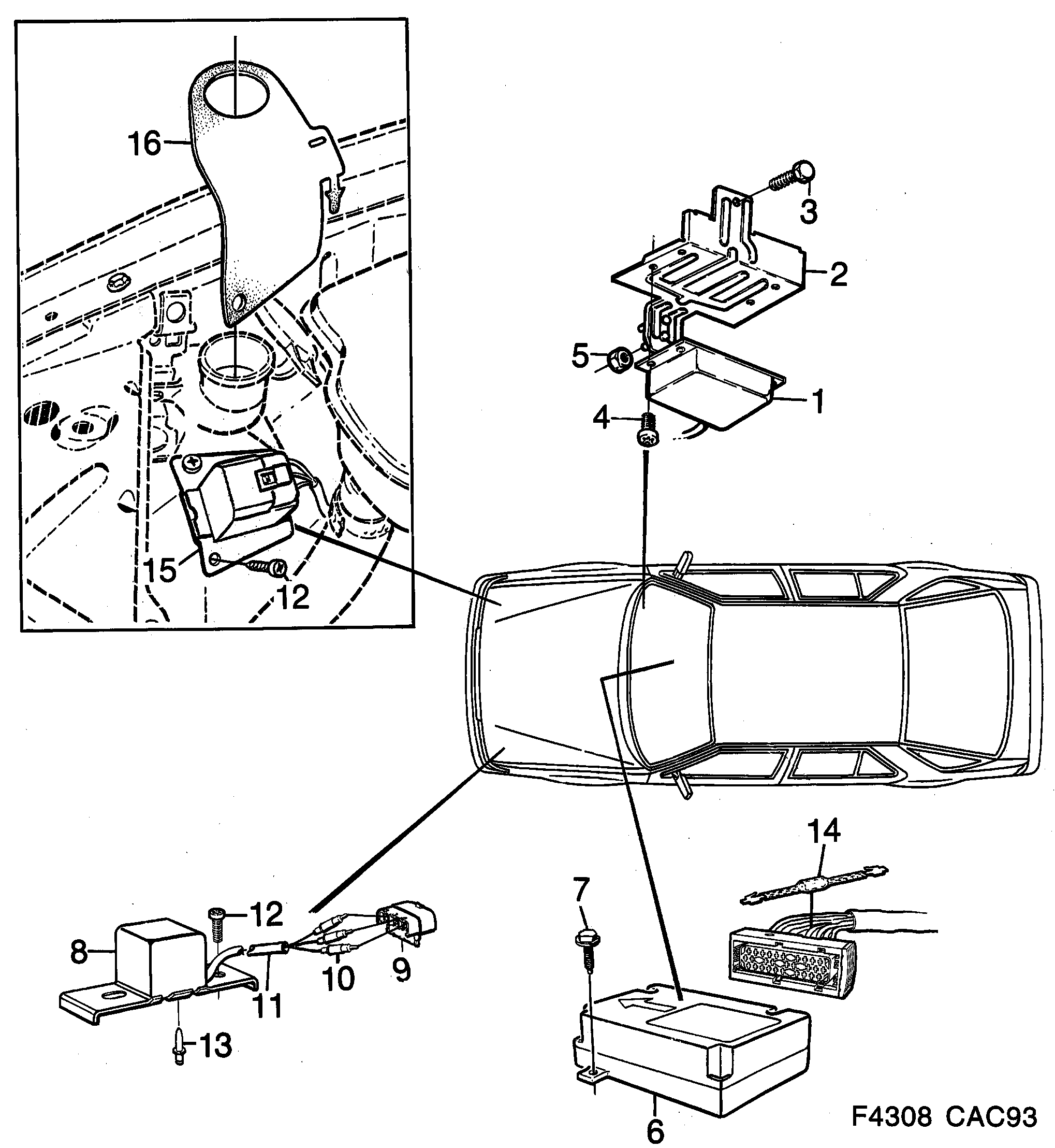
1280: Electrical, general - Electric equipment, other - Airbag
(1988 - 1993) | For 9000 (1991)

| Pos. | Part No. | Qty | |||
|---|---|---|---|---|---|
| 1 | 5042726 Electronic unit 1991-1991 | 1 | |||
4945754 Cable harness 1991-1991 | 1 | ||||
| 2 | 9571589 Bracket 1988-1991 | 1 | |||
| 3 | 7967938 55562121 Screw 1988-1991 | 1 | |||
| 4 | 7399587 7399520 Screw 1988-1991 | 4 | |||
| 5 | 7971922 92150143 Nut 1988-1991 | 2 | |||
| 8 | 9696626 Sensor -1991 | 2 | |||
| 9 | 9503327 Contact housing 3-pin, male | 1 | |||
| 10 | 7874506 Connection | 3 | |||
| 11 | 4350476 Cable harness -1991 | 2 | |||
| 12 | 7399520 Screw | 4 | |||
| 13 | 7399454 9130829 Rivet nut | 4 | |||
| 15 | 4032132 Sensor 1991-1991 | 2 | |||