260: Electrical, general - Ignition system - EZK
(1990 - 1993) | For 9000 (1991)

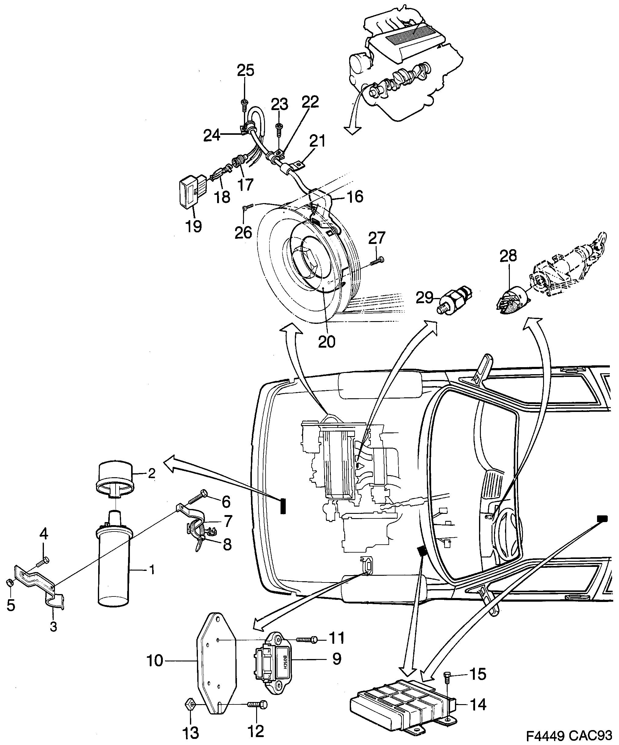
| Pos. | Part No. | Qty | |||
|---|---|---|---|---|---|
| 1 | 8573834 32000256 Ignition coil | 1 | |||
| 2 | 8566374 Protecting casing | 1 | |||
| 3 | 9388398 Bracket | 1 | |||
| 4 | 8019747 Screw 1990-1991 | 1 | |||
| 5 | 7975576 92153043 Nut | 1 | |||
| 6 | 7977457 Screw | 1 | |||
| 7 | 9388554 Cap | 1 | |||
| 8 | 7398456 Clamp | 1 | |||
| 9 | 5960059 Power unit 1990- | (4023149) | 1 | |||
| 10 | 8574816 Cooling body | 1 | |||
| 11 | 7975519 Screw | 2 | |||
| 12 | 7973191 Screw | 2 | |||
| 13 | 7975279 Nut | 2 | |||
| 14 | 7484504 Engine control module With catalytic converter. Also available as exchange unit. | 1 | |||
| 14 | 7872286 Electronic unit 1991-1993 | Without catalytic converter. Also available as exchange unit. | 1 | |||
| 14 | 7872294 Electronic unit 1991-1993 | Without catalytic converter. Also available as exchange unit. | 1 | |||
| 15 | 7922347 Screw 1990-1991 | 4 | |||
| 16 | 7482540 Sensor 1990-1991 | 1 | |||
| 17 | 4061966 Seal Part of 91 33 067. | 3 | |||
| 18 | 4061578 4692331 Cable terminal Part of 91 33 067. | 3 | |||
| 20 | 9117201 Aperture disc 1990- | 1 | |||
| 21 | 7487952 Clamp | 1 | |||
| 22 | 8139362 Clamp 1990-1992 | 1 | |||
| 23 | 8129868 Screw | 1 | |||
| 24 | 8139339 Clamp | 1 | |||
| 25 | 8129868 Screw | 1 | |||
| 26 | 9127440 Screw 1991-1993 | 2 | |||
| 27 | 7482490 Screw | 3 | |||
| 28 | |||||
| 29 | |||||