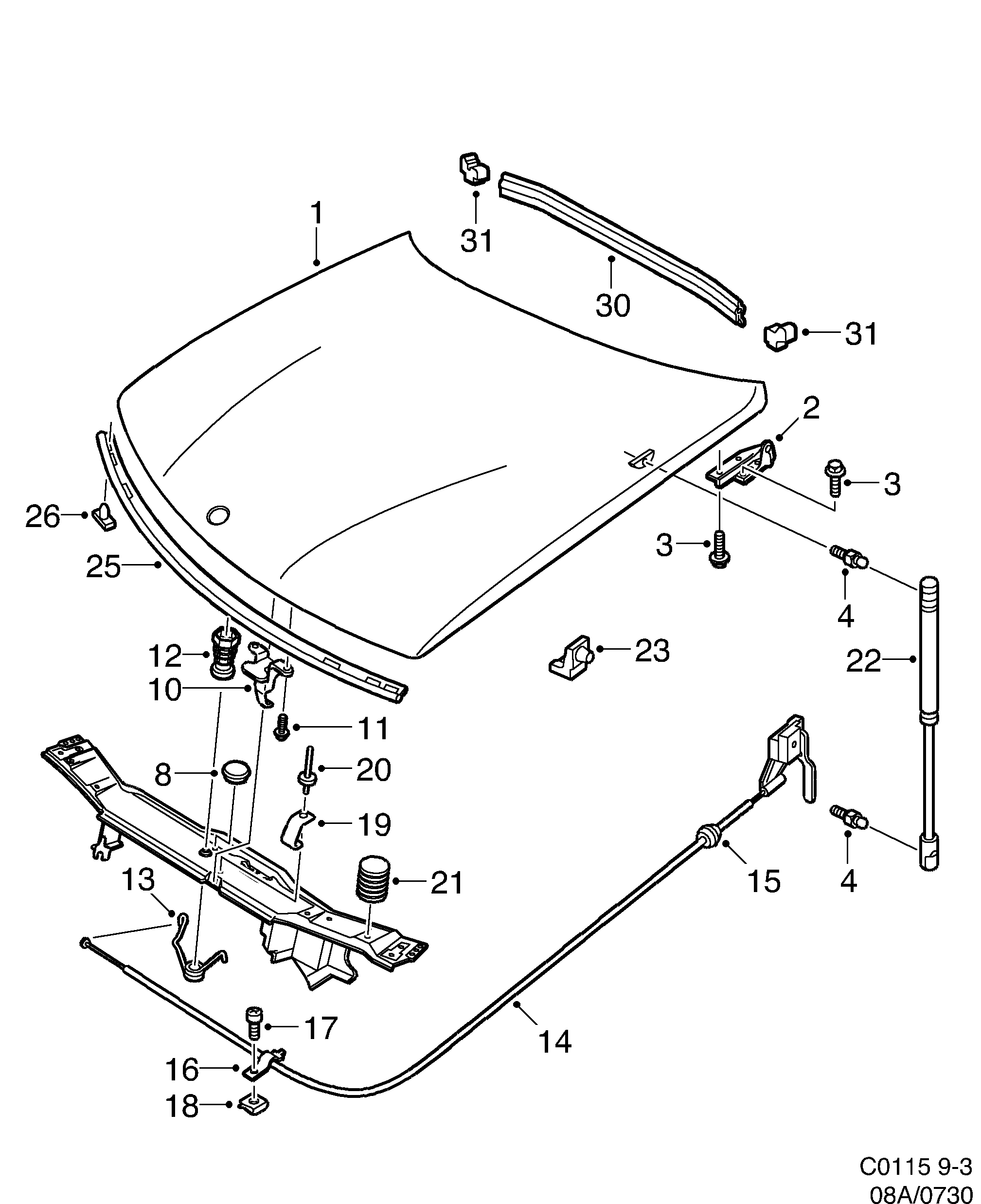
730: Car body, external - Bonnet, front, wings - Bonnet
(1998 - 2003) | For 9-3 (9400) (2001)

| Pos. | Part No. | Qty | |||
|---|---|---|---|---|---|
| 1 | 5185707 Bonnet 2000-2003 | For cars with one gas spring. | 1 | |||
| 2 | 4328787 Hinge LH | 1 | |||
| 2 | 4328795 Hinge RH | 1 | |||
| 3 | 7978430 92151601 Screw | 8 | |||
| 4 | 4493912 Ball pin | 4 | |||
| 8 | 9268186 Plug | 1 | |||
| 10 | 4695151 Catch | 1 | |||
| 11 | 7984305 92152130 Hexagon screw | 2 | |||
| 12 | 4321774 Bonnet lock | 1 | |||
| 13 | 4306312 Spring | 1 | |||
| 14 | 4854097 Bonnet lock wire LHD | 1 | |||
| 14 | 4853750 Bonnet lock wire RHD | 1 | |||
| 15 | 4249009 Grommet | 1 | |||
| 16 | 4321808 Clamp | 1 | |||
| 17 | 7985948 Screw | 1 | |||
| 18 | 7967995 Clip nut | 1 | |||
| 19 | 4321824 Wear protection | 1 | |||
| 20 | 92150179 92153060 Rivet (7972516) | 1 | |||
| 21 | 12786272 Rubber buffer (4304234) | 2 | |||
| 22 | 5183017 30586552 Gas spring 2000-2003 | For cars with one gas spring. | 1 | |||
| 23 | 4695136 Guide | 2 | |||
| 25 | 4766515 Seal -2003 | 1 | |||
| 26 | 4857512 Clip | 12 | |||
| 30 | |||||
| 30 | |||||
| 30 | |||||
| 31 | |||||
| 31 | |||||
| 31 | |||||