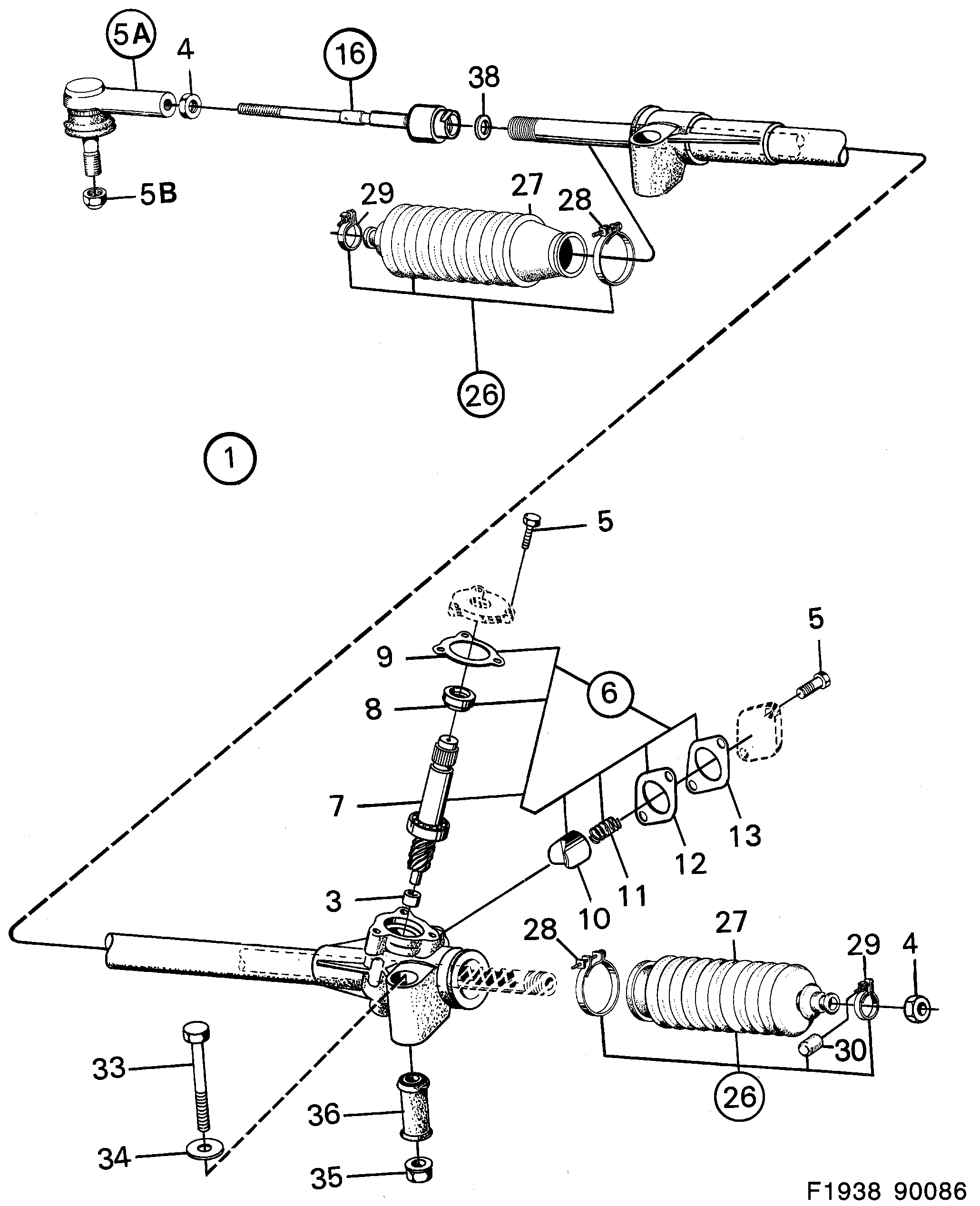
190: Train avant - Direction - Boîtier direction
(1986 - 1989) | Pour 900 (1986)

| Pos. | Réf. | Qté | |
|---|---|---|---|
| 1 | 8985129 Boîtier direction LHD | Egalement disponible en unité de rechange. | 1 | |
| 1 | 8985137 Boîtier direction RHD | 1 | |
| 3 | 8934135 Roulement aiguilles | 1 | |
| 4 | 8924169 Ecrou | 2 | |
| 5 | 8082950 9166323 Vis | 5 | |
| 5A | 8993354 Bout barre direction | 2 | |
| 5B | 8151482 Contre-écrou (8073546) | 2 | |
| 5A | 8993560 Bout barre direction | 2 | |
| 5B | 8151482 Contre-écrou (8073546) | 2 | |
| 6 | 8944761 Kit réparation LHD | pignon | X | |
| 6 | 8944779 Kit réparation RHD | pignon | X | |
| 7 | pignon N'est pas une pièce de rechange distincte. | 1 | |
| 8 | 8934200 Bague étanchéité N'est pas une pièce de rechange distincte. | 1 | |
| 9 | 8934192 Joint N'est pas une pièce de rechange distincte. | 1 | |
| 10 | 8933087 Plongeur N'est pas une pièce de rechange distincte. | 1 | |
| 11 | 8942104 Ressort N'est pas une pièce de rechange distincte. | 1 | |
| 12 | 8926644 Cale réglage 0,044--0,056 MM | 2 | |
| 12 | 8926651 Cale réglage 0,127 MM | 2 | |
| 12 | 8926669 Cale réglage 0,254 MM | 2 | |
| 13 | 8926685 Joint N'est pas une pièce de rechange distincte. | 1 | |
| 16 | 8947624 Barre direction | 2 | |
| 26 | 8947913 Jeu soufflet (8944720) | X | |
| 27 | 8926743 Soufflet N'est pas une pièce de rechange distincte. | 1 | |
| 28 | 8926768 Collier serrage | 1 | |
| 29 | 8920183 Collier serrage | 1 | |
| 30 | 8920191 Capot N'est pas une pièce de rechange distincte. | 1 | |
| 33 | 8934242 Vis | 2 | |
| 34 | 8934259 Rondelle | 2 | |
| 35 | 7971765 92153201 Ecrou | 2 | |
| 36 | 8934119 Bague caoutchouc | 2 | |
| 38 | 8947962 Rondelle entretoise | 2 |