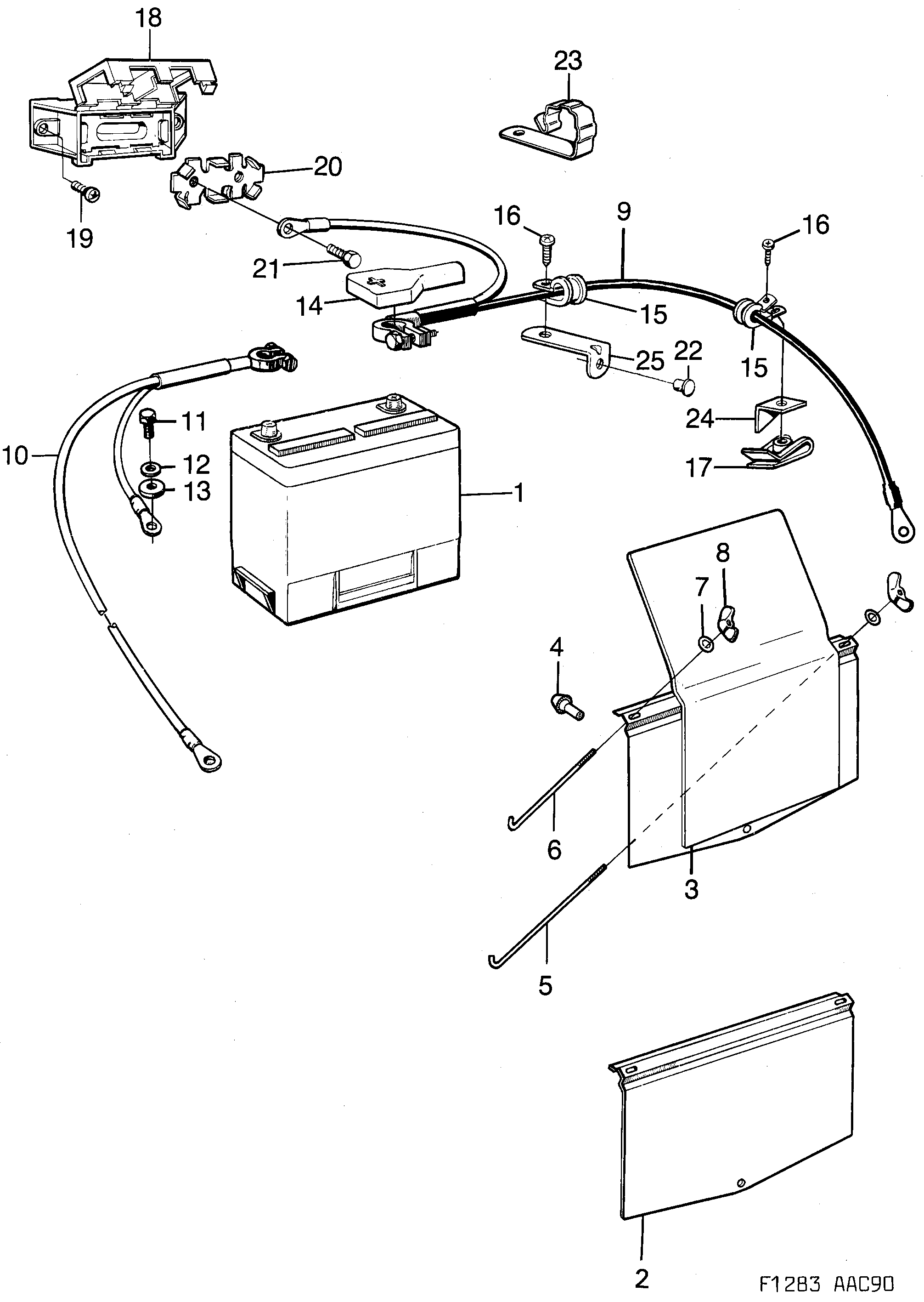
110: Système électrique, généralités - Batterie
(1990 - 1993) | Pour 900 (1990)
Concerne aussi CV 1994

| Pos. | Réf. | Qté | |
|---|---|---|---|
| 1 | Batterie Voir catalogue d'accessoires | ||
| 2 | 8551582 Protection | 1 | |
| 3 | 8594897 Tôle isolante TURBO | 1 | |
| 4 | 7113970 Tampon | 1 | |
| 5 | 8572737 Crochet Arrière. | 1 | |
| 5 | 8551616 Crochet TURBO | Arrière. | 1 | |
| 6 | 8572745 Crochet Avant. | 1 | |
| 6 | 8551616 Crochet TURBO | Avant. | 1 | |
| 7 | 7915564 7968506 Rondelle | 2 | |
| 8 | 7970460 Ecrou | 2 | |
| 9 | 9555624 Câble + | 1 | |
| 9 | 9555764 Câble + | 1 | |
| 9 | 9555632 Câble TURBO | + | 1 | |
| 9 | 9555772 Câble TURBO | + | 1 | |
| 10 | 9121526 30520561 Câble masse | 1 | |
| 11 | 8584666 Vis | 1 | |
| 12 | 8584674 Rondelle | 1 | |
| 13 | 8584682 Rondelle | 1 | |
| 14 | 9518424 4582425 Capot | 1 | |
| 15 | 8566135 Collier serrage TURBO | 3 | |
| 15 | 8566143 Collier serrage AC | 1 | |
| 16 | 8286296 Vis | 2 | |
| 16 | 8267205 Vis TURBO | 3 | |
| 17 | 8267098 Clip | 2 | |
| 18 | 4061891 Support | 1 | |
| 19 | 7974769 7922891 Vis | 2 | |
| 20 | 9503053 30525828 Carter carburant | 1 | |
| 21 | 8019895 Vis 1990-1992 | 2 | |
| 22 | 8235178 Rivet pop | 3 | |
| 23 | 8528564 Collier serrage | 3 | |
| 24 | 8594368 Console | 1 | |
| 25 | 9559782 Console | 2 |