890: Carrosserie, extérieur - Portes, hayon - Porte arrière - Leve-vitre
(1990 - 1993) | Pour 900 (1990)

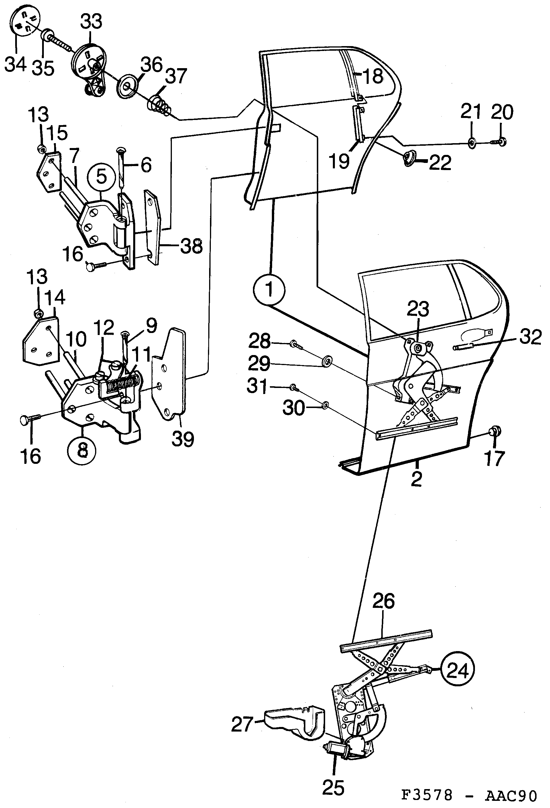
| Pos. | Réf. | Qté | |
|---|---|---|---|
| 1 | 6925853 Porte LH | 1 | |
| 1 | 6925861 Porte RH | 1 | |
| 2 | 8286833 Tôle extérieure LH | 1 | |
| 2 | 8286841 Tôle extérieure RH | 1 | |
| 5 | 9281775 Charnière LH | 1 | |
| 5 | 9281783 Charnière RH | 1 | |
| 6 | 8205858 Goupille | 2 | |
| 7 | 8241093 Vis | 6 | |
| 8 | 9282971 Charnière LH | 1 | |
| 8 | 9282989 Charnière RH | 1 | |
| 9 | 8243578 Goupille | 2 | |
| 10 | 8241101 Vis | 6 | |
| 11 | 8243651 Ressort | 1 | |
| 12 | 8243669 Boulon moleté | 4 | |
| 13 | 7964711 Ecrou | 12 | |
| 14 | 8241291 Rondelle | 2 | |
| 15 | 8241119 Rondelle | 2 | |
| 16 | 9230277 Vis | 10 | |
| 17 | 7038342 Tampon | 4 | |
| 18 | 7615495 Profile LH | 1 | |
| 18 | 7615511 Profile RH | 1 | |
| 19 | 7615545 Profile LH | 1 | |
| 19 | 7615552 Profile RH | 1 | |
| 20 | 7934433 Vis | 4 | |
| 21 | 7060999 Rondelle | 4 | |
| 22 | 8204760 Tampon | 2 | |
| 23 | 9230632 Leve-vitre LH | 1 | |
| 23 | 9230640 Leve-vitre RH | 1 | |
| 24 | 9289372 Leve-vitre Commande électrique | LH | 1 | |
| 24 | 9289380 Leve-vitre Commande électrique | RH | 1 | |
| 25 | 8567638 Moteur LH | 1 | |
| 25 | 8567646 Moteur RH | 1 | |
| 26 | 9289356 Leve-vitre LH | 1 | |
| 26 | 9289364 Leve-vitre RH | 1 | |
| 27 | 8598047 Protection LH | 2 | |
| 27 | 8598260 Protection RH | 2 | |
| 28 | 8019895 Vis 1990-1992 | 10 | |
| 29 | 7399819 Rondelle | 10 | |
| 30 | 7910540 Rondelle | 4 | |
| 31 | 8059529 Vis | 4 | |
| 32 | 9281346 Protection | 2 | |
| 33 | 9445651 Manivelle | 2 | |
| 34 | 8476301 Couvercle | 2 | |
| 35 | 9835737 Vis | 2 | |
| 36 | 9445917 Rondelle entretoise | 2 | |
| 37 | 7152796 Ressort 1990-1990 | 2 | |
| 38 | 9284381 Cale | 2 | |
| 39 | 9284373 Cale | 2 | |
8547242 Jeu lève-vitre 1990-1990 | X |