670: Moteur - Système de carburant - Compteur de masse d'air
(1985 - 1989) | Pour 9000 (1985)

| Pos. | Réf. | Qté | |||
|---|---|---|---|---|---|
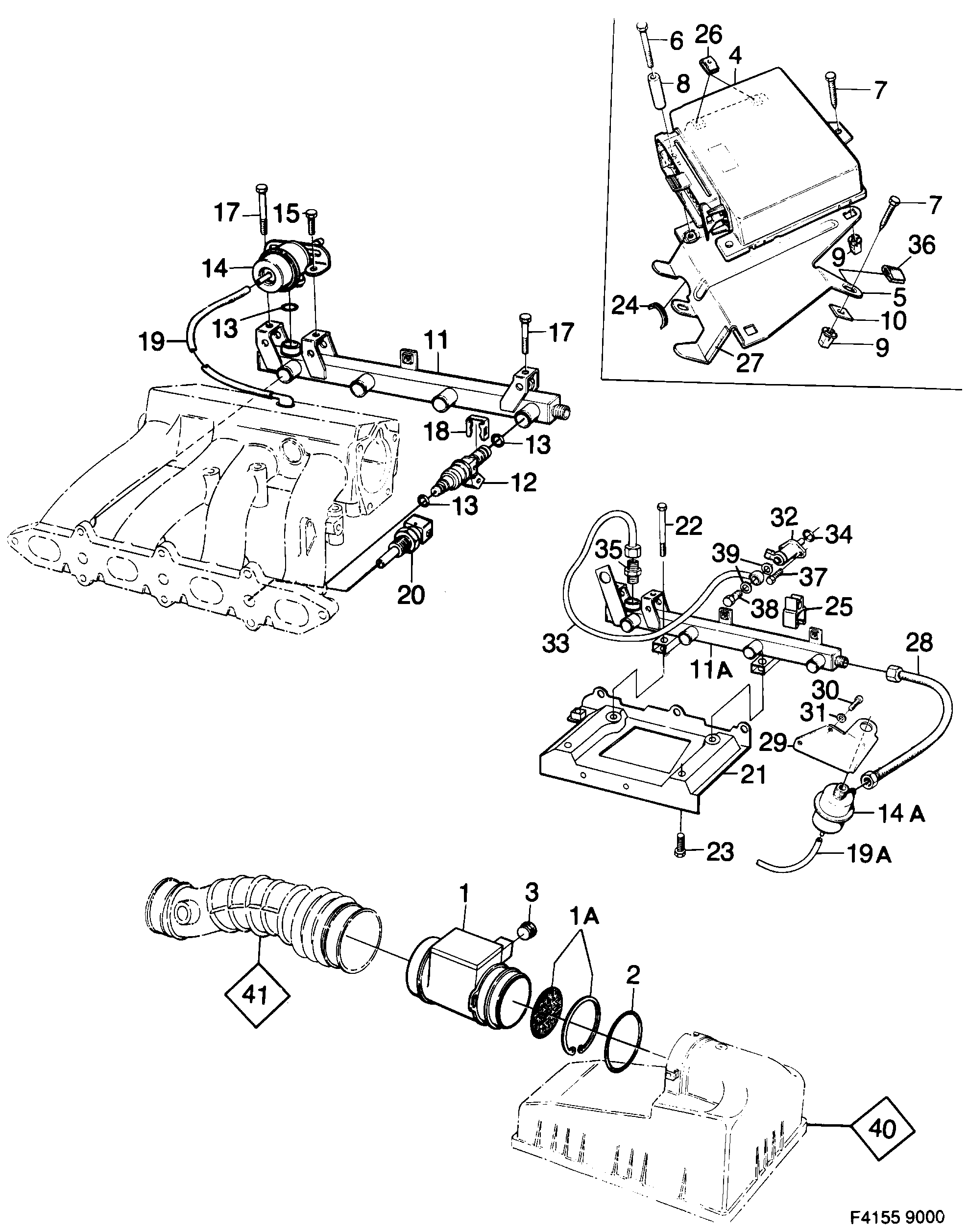
| 1 | 9375643 Compteur de masse d'air 1985-1988 | TURBO | Egalement disponible en unité de rechange. | 1 | |||
| 1A | 7535446 Kit service | 1 | |||
| 2 | 7974306 Joint torique | 1 | |||
| 3 | 7525710 Tampon Sans catalyseur. | 1 | |||
| 3 | 9383076 Tampon 1985-1988 | Avec catalyseur. | 1 | |||
| 4 | 9388471 Unité électronique 1985-1985 | Egalement disponible en unité de rechange. | 1 | |||
| 5 | 9387168 Fixation 1985-1986 | 1 | |||
| 6 | 8021743 Vis | 1 | |||
| 7 | 7972672 Vis 1985-1987 | 5 | |||
| 8 | 9387895 Douille entretoise 1985-1987 | 1 | |||
| 9 | 7975261 Ecrou | 5 | |||
| 10 | 9389198 Dessous | 5 | |||
| 11 | 7586456 Tuyau 1985-1986 | (7521461) | 1 | |||
| 11A | 7586464 Tuyau 1985-1986 | Pour voitures équipées d'une tubulure d'admission à conduite séparée. | (7564081) | 1 | |||
| 12 | 7560170 Injecteur TURBO | 4 | |||
| 12 | 7560162 Injecteur I | 4 | |||
| 13 | 7561210 Joint torique | 9 | |||
| 14 | 7518681 Régulateur 1985-1985 | 1 | |||
| 15 | 8019887 Vis | 1 | |||
| 17 | 8021974 Vis 1985-1987 | 2 | |||
| 18 | 9356486 Collier serrage | 4 | |||
| 19 | 9136243 Flexible à dépression 1985-1985 | TURBO | Vendu par longueurs de 5m | L=565 MM | 1 | |||
| 20 | 9357021 Détecteur température | 1 | |||
| 20 | 7563562 Capteur Pour TURBO avec catalyseur. | 1 | |||
| 21 | 7564073 Console 1985-1987 | Pour voitures équipées d'une tubulure d'admission à conduite séparée. | 1 | |||
| 22 | 7566730 Vis 1985-1987 | Pour voitures équipées d'une tubulure d'admission à conduite séparée. | 2 | |||
| 23 | 8125155 55562121 Vis 1985-1986 | Pour voitures équipées d'une tubulure d'admission à conduite séparée. | 2 | |||
| 25 | 7539950 Collier serrage | 1 | |||
| 26 | 7399355 Clip | 2 | |||
| 27 | 7535487 Lisse protection | 1 | |||
| 37 | 7507072 Vis | 2 | |||
| 38 | 8320319 Vis banjo | 1 | |||
| 39 | 8981987 Joint | 2 | |||
| 40 | |||||
| 40 | |||||
| 41 | |||||
9136243 Flexible à dépression Vendu par longueurs de 5m | L=5000 MM | X | ||||