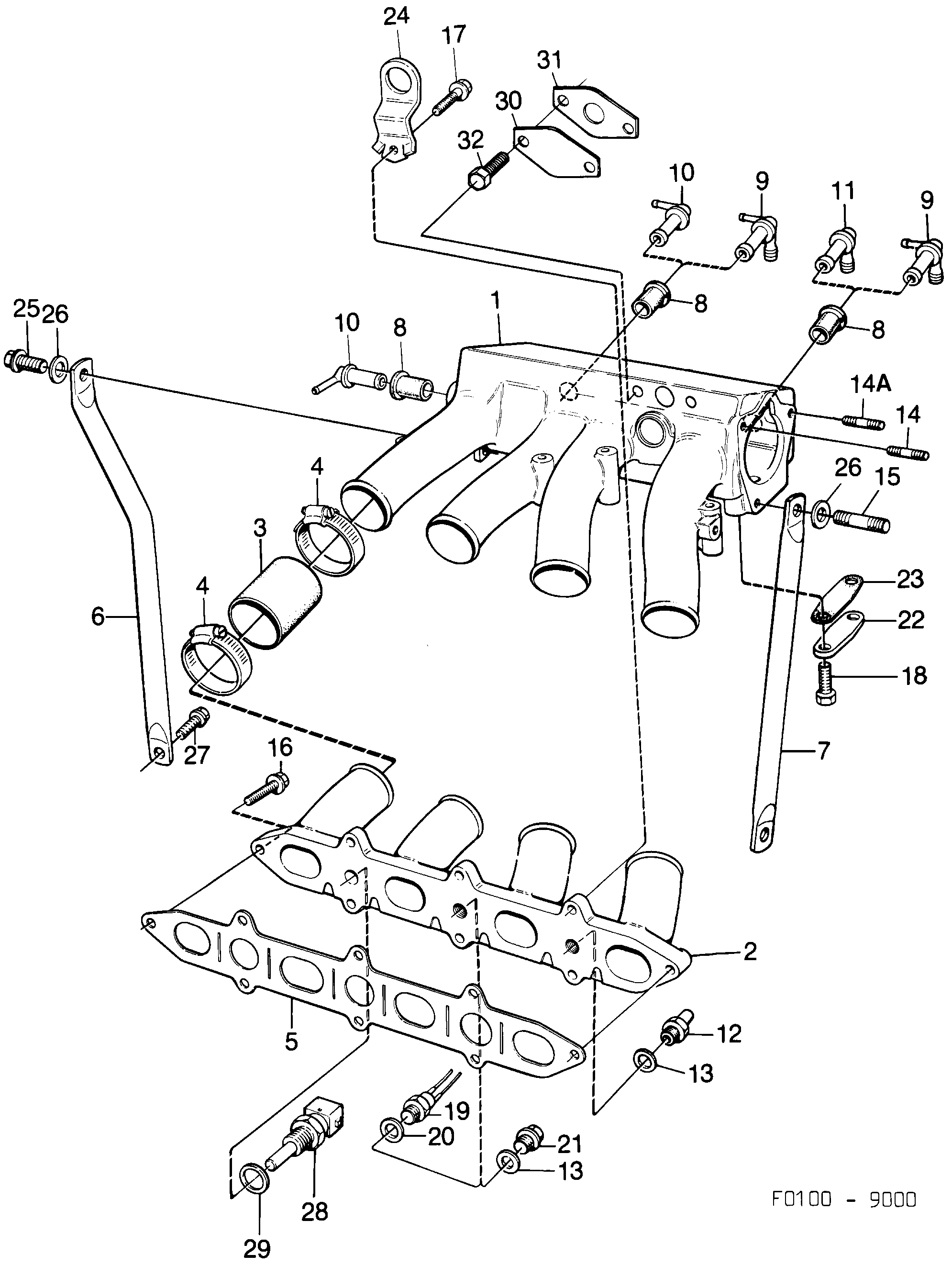
790: Moteur - Système d'admission et d'échappement - Collecteur d'admission, démonté
(1985 - 1989) | Pour 9000 (1985)

| Pos. | Réf. | Qté | |
|---|---|---|---|
| 1 | 7567837 Tuyau d'admission 1985-1986 | 1 | |
| 2 | 7564537 Tuyau d'admission 1985-1987 | 1 | |
| 3 | 7566748 Flexible | 4 | |
| 4 | 7970122 Collier serrage | 8 | |
| 5 | 7515885 7584436 Joint 1985-1987 | 1 | |
| 6 | 7564289 Tirant -1989 | 1 | |
| 7 | 7564297 Tirant -1989 | 1 | |
| 8 | 7515208 Bague | 3 | |
| 9 | 9312802 Raccord | 1 | |
| 10 | 8359937 Raccord | 2 | |
| 11 | 8357543 Raccord | 1 | |
| 12 | 7588098 Raccord (7517634,7567449) (7486806) | 1 | |
| 13 | 8124141 92150435 Joint -1989 | 2 | |
| 14 | 8005928 Goujon 1985-1986 | 2 | |
| 14A | 8005928 Goujon | 1 | |
| 15 | 8005936 Goujon | 1 | |
| 16 | 8125197 Vis | 7 | |
| 17 | 8125205 Vis | 1 | |
| 18 | 8019903 7985930 Vis 1985-1988 | 2 | |
| 19 | 7519416 Thermostat | 1 | |
| 19 | 7519416 Thermostat 1985-1987 | I | 1 | |
| 20 | 8124141 92150435 Joint 1985-1988 | 1 | |
| 21 | 7564222 7563042 Bouchon 1985-1988 | 1 | |
| 22 | 9358177 Bride | 1 | |
| 23 | 7507973 Joint 1985-1986 | (8357485) | 1 | |
| 24 | 7521230 Oeillet levage | 1 | |
| 25 | 8125163 Vis | 1 | |
| 26 | 7586498 Rondelle -1989 | 2 | |
| 27 | 8125155 55562121 Vis | 1 | |
| 28 | 9357021 Détecteur température | 1 | |
| 28 | 7563562 Capteur TURBO | 1 | |
| 29 | 8326704 Joint | 1 | |
| 30 | 7586860 Bride | 1 | |
| 31 | 7586878 Joint | 1 | |
| 32 | 8019895 Vis | 2 |