1370: Moteur - Système d'admission et d'échappement - IAC
(1990 - 1993 | B202I, B202R, B202S, B234I) | Pour 9000 (1990)

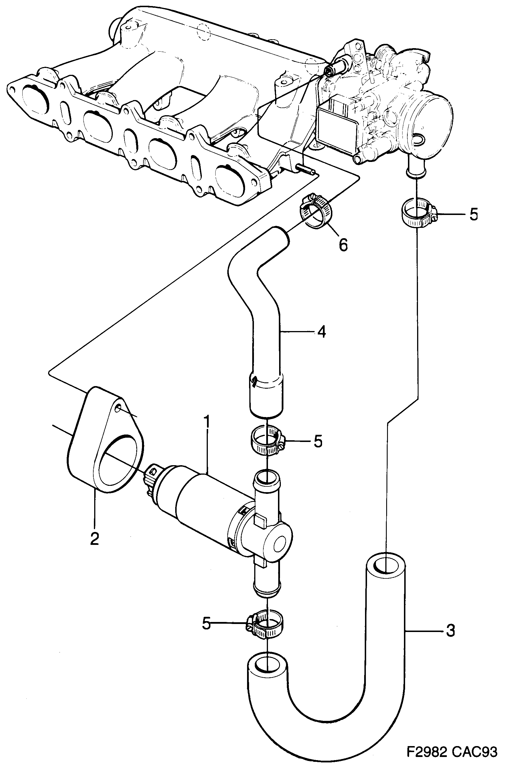
| Pos. | Réf. | Qté | |
|---|---|---|---|
| 1 | 8787996 Valve commande 1990-1992 | 1 | |
| 2 | 8787988 Retenue 1990-1992 | 1 | |
| 3 | 8787905 Flexible 1990-1992 | 1 | |
| 4 | 8787913 Flexible 1990-1992 | 1 | |
| 5 | 7963549 7970080 Collier serrage | 3 | |
| 6 | 7963523 7970064 Collier serrage | 1 |