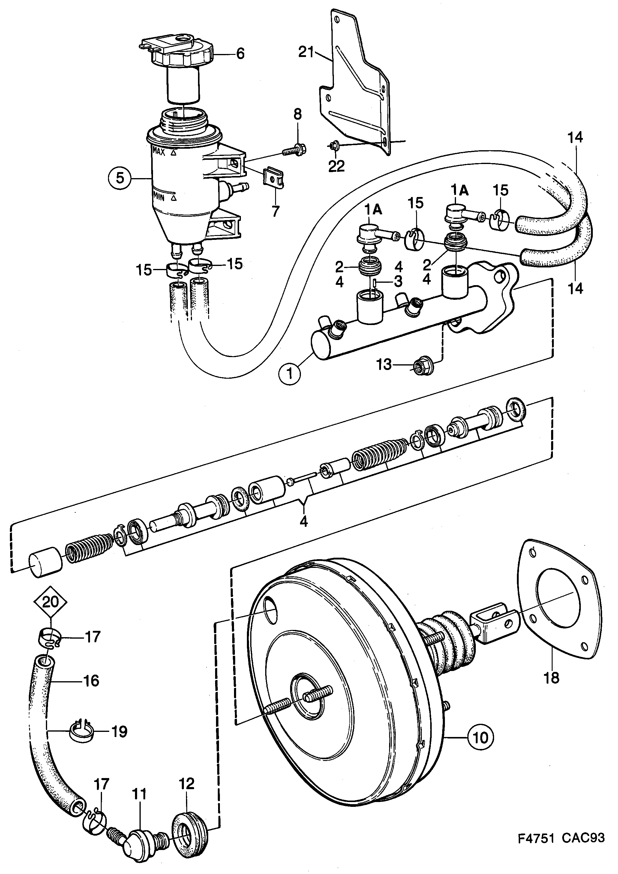
170: Freins - Circuit de frein au pied - Maître-cylindre - servo à vide
(1990 - 1992) | Pour 9000 (1990)

| Pos. | Réf. | Qté | |||
|---|---|---|---|---|---|
| 1 | 8964892 Maître-cylindre | 1 | |||
| 1A | 8958175 Raccord | 2 | |||
| 2 | 8986911 Joint 1990-1991 | 2 | |||
| 3 | 8965808 Goupille | 1 | |||
| 4 | 8965329 Jeu joints | 1 | |||
| 5 | 8959132 Réservoir | 1 | |||
| 6 | 8959157 Avertisseur niveau | 1 | |||
| 7 | 9441239 Ecrou d'agrafe | 2 | |||
| 8 | 7973126 Vis 1990-1991 | 2 | |||
| 10 | 8958423 Servo de vide | 1 | |||
| 11 | 8986705 Valve antiretour | 1 | |||
| 12 | 8986713 Joint | 1 | |||
| 13 | 7969306 Contre-écrou | 2 | |||
| 14 | 8968034 Flexible 1990-1991 | 2 | |||
| 15 | 7973522 Collier serrage | 4 | |||
| 16 | 8966954 Tuyau dépression B202 | 1 | |||
| 16 | 8966954 Tuyau dépression B234 | L=660 MM | 1 | |||
| 17 | 8943177 Collier serrage | 2 | |||
| 18 | 8958357 Joint | 1 | |||
| 19 | 8539587 Clip | 1 | |||
| 20 | |||||