1790: Moteur - Système de refroidissement - Ventilateur, etc
(1990 - 1993 | TURBO) | Pour 9000 (1991)

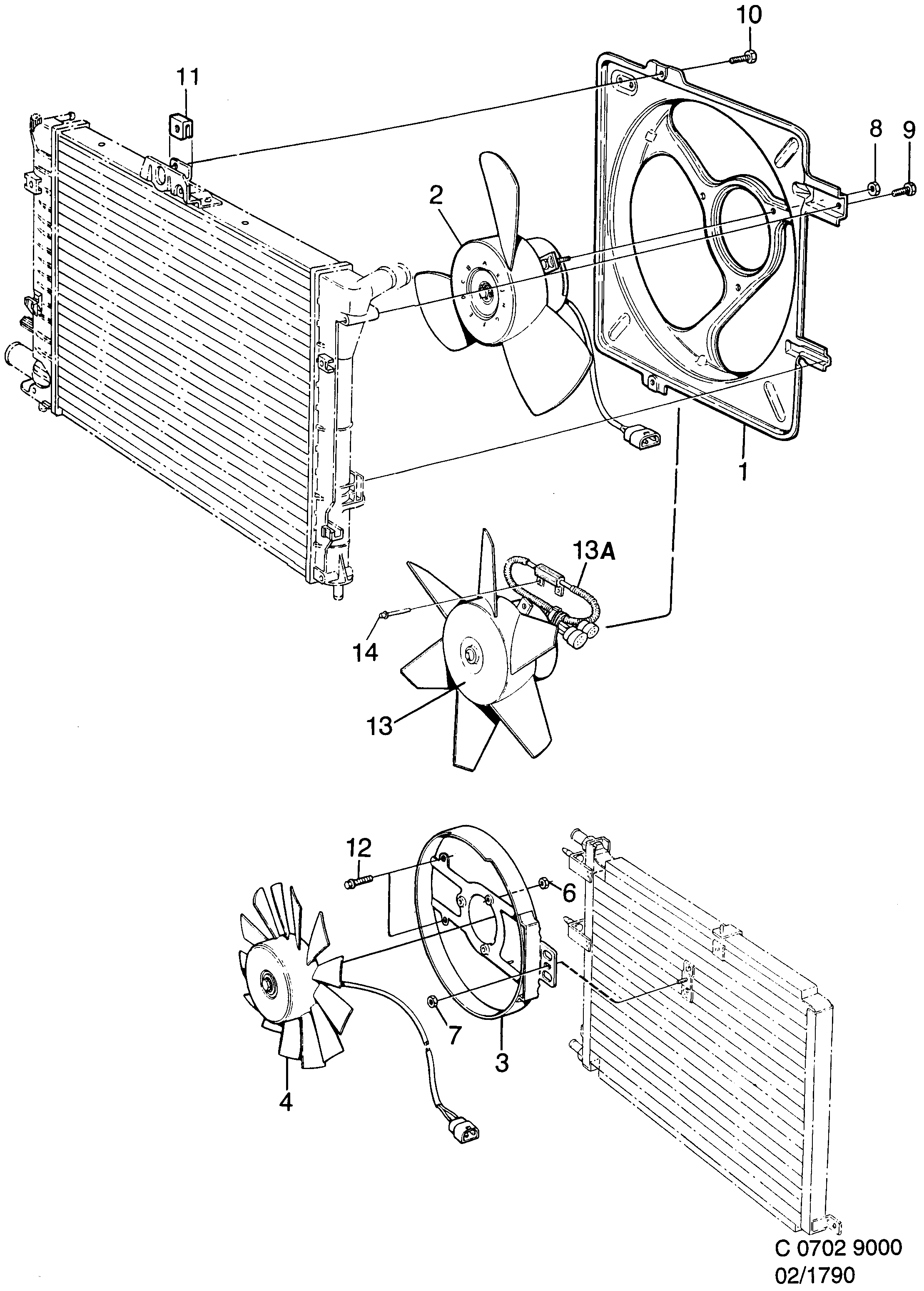
| Pos. | Réf. | Qté | |
|---|---|---|---|
| 1 | 7592918 Boîtier ventilateur | 1 | |
| 2 | 9382144 Ventilateur Le moteur et l'ailette de ventilateur ne sont disponibles que comme un ensemble complet équilibré en usine. | 1 | |
| 3 | 7577885 Boîtier ventilateur | 1 | |
| 4 | 7598980 Ventilateur AC | 1 | |
| 6 | 7975576 92153043 Ecrou | 3 | |
| 7 | 7971658 11900428 Ecrou | 1 | |
| 8 | 7974298 92153044 Ecrou | 3 | |
| 9 | 7971823 Vis | 1 | |
| 10 | 7922800 Vis | 2 | |
| 11 | 9427014 Ecrou d'agrafe | 2 | |
| 12 | 7972607 92153146 Vis | 2 | |
| 13 | 7592819 Ventilateur -1993 | Deux vitesses. | 1 | |
| 13A | 4395034 Faisceau de câblage | 1 | |
| 14 | 7972045 Rivet 1990-1991 | 2 | |
9627373 Ventilateur | X |