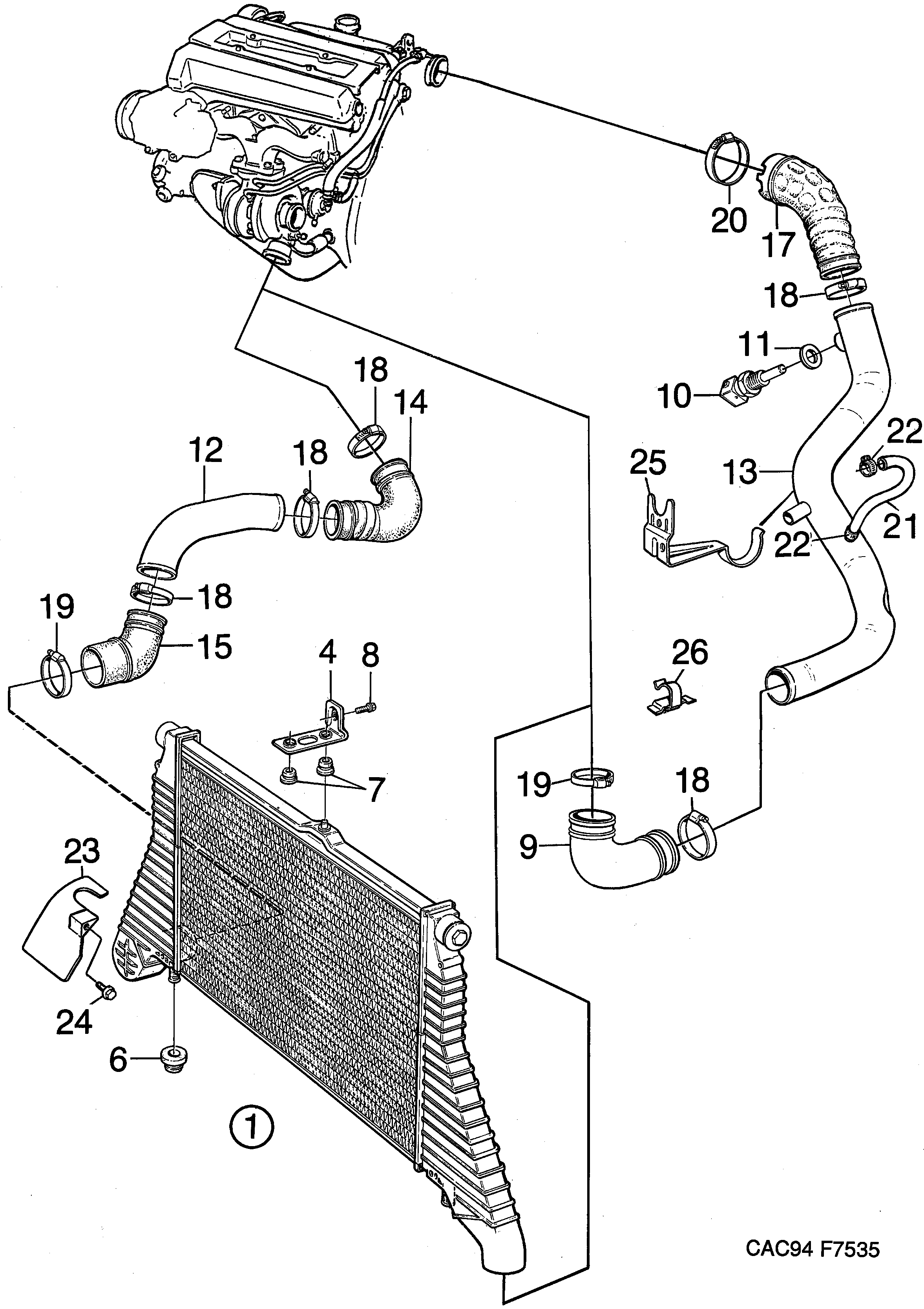
1860: Moteur - Système de refroidissement - Refoidisseur d'air de suralimentation
(1994 - 1998) | Pour 9000 (1995)

| Pos. | Réf. | Qté | |
|---|---|---|---|
| 1 | 4396818 Refoidisseur d'air de suralimentation 1995-1998 | 1 | |
| 4 | 7550346 Fixation | 1 | |
| 6 | 4027488 Bague caoutchouc | 2 | |
| 7 | 7550353 Bague caoutchouc | 1 | |
| 8 | 7972441 Vis | 1 | |
| 9 | 8976912 Flexible | 1 | |
| 9 | 4164745 Flexible 1994-1995 | B204S | Voitures sans refroidisseur d'air de suralimentation. | 1 | |
| 10 | 8859886 Détecteur température 1994-1995 | 1 | |
| 11 | 4161261 Rondelle | 1 | |
| 12 | 4157038 Tuyau | 1 | |
| 13 | 4390159 Tuyau 1994-1995 | B204S | Voitures sans refroidisseur d'air de suralimentation. | 1 | |
| 13 | 4390167 Tuyau 1994-1995 | B204S | Voitures sans refroidisseur d'air de suralimentation. | 1 | |
| 13 | 4156642 Tuyau 1994-1995 | B204L | 1 | |
| 13 | 4156451 Tuyau 1994-1995 | B204L | 1 | |
| 13 | 4156642 Tuyau 1994-1995 | B234 | 1 | |
| 13 | 4156451 Tuyau 1994-1995 | B234 | 1 | |
| 14 | 4157020 Flexible | 1 | |
| 15 | 4157046 Flexible | 1 | |
| 17 | 4156444 Flexible | 1 | |
| 17 | 4392577 Flexible 1994-1995 | B204S | Voitures sans refroidisseur d'air de suralimentation. | 1 | |
| 18 | 7970130 92153077 Collier serrage | 5 | |
| 19 | 7970148 92153079 Collier serrage | 2 | |
| 20 | 7970155 92153080 Collier serrage | 1 | |
| 21 | 4156345 Flexible L=180 MM | 1 | |
| 21 | 8978652 Flexible 1994-1995 | B204S | Voitures sans refroidisseur d'air de suralimentation. | L=305 MM | 1 | |
| 22 | 7973522 Collier serrage | 2 | |
| 23 | 4028767 Tôle recouvrement AC | 1 | |
| 24 | 7972607 92153146 Vis AC | 2 | |
| 25 | 4390589 Support B204S | Voitures sans refroidisseur d'air de suralimentation. | 1 | |
| 26 | 9228156 Clip 1994-1995 | B204S | Voitures sans refroidisseur d'air de suralimentation. | 2 |