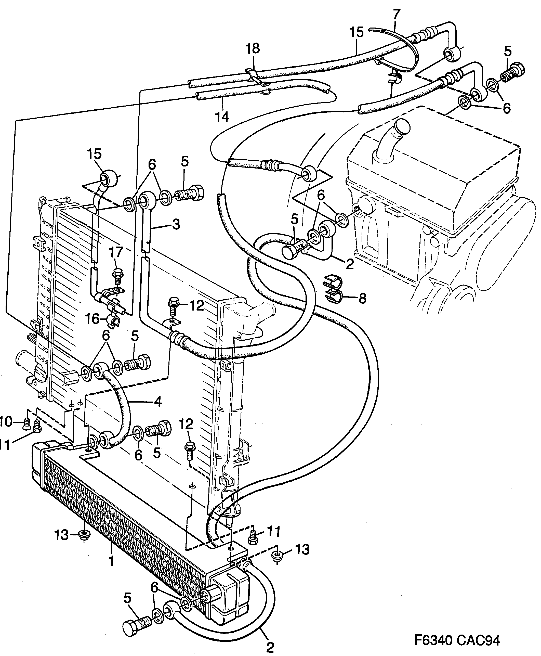
1950: Moteur - Système de refroidissement - Refroidisseur d'huile à air - Boîte automatique
(1994 - 1998) | Pour 9000 (1997)

| Pos. | Réf. | Qté | |
|---|---|---|---|
| 1 | 7598311 Radiateur huile | 1 | |
| 2 | 4357604 Flexible hydraulique | 1 | |
| 3 | 4356267 Flexible hydraulique 1995-1998 | 1 | |
| 4 | 7570823 Flexible hydraulique | 1 | |
| 5 | 4374211 12773569 Vis banjo 1995-1998 | 6 | |
| 6 | 4161162 Joint | 12 | |
| 7 | 7593221 30507607 Ruban serrage | 1 | |
| 8 | 7398464 Collier serrage | 1 | |
| 8 | 4249108 Collier B308 | 1 | |
| 12 | 7965544 Vis | 2 | |
| 13 | 7974298 92153044 Ecrou | 1 | |
| 14 | 4029344 Flexible hydraulique Pour voitures sans refroidisseur d'huile à air. | 1 | |
| 15 | 4028882 Flexible hydraulique Pour voitures sans refroidisseur d'huile à air. | 1 | |
| 16 | 7559768 92152223 Clip Pour voitures sans refroidisseur d'huile à air. | 2 | |
| 17 | 7965544 Vis Pour voitures sans refroidisseur d'huile à air. | 1 | |
| 18 | 7398464 Collier serrage Pour voitures sans refroidisseur d'huile à air. | 1 | |
4028866 Jeu radiateur huile TURBO, I | WITHOUT AC | 1 |