690: Transmission - Boîte de vitesses, automatique - Système de contrôle
(1994 - 1998 | A) | Pour 9000 (1997)

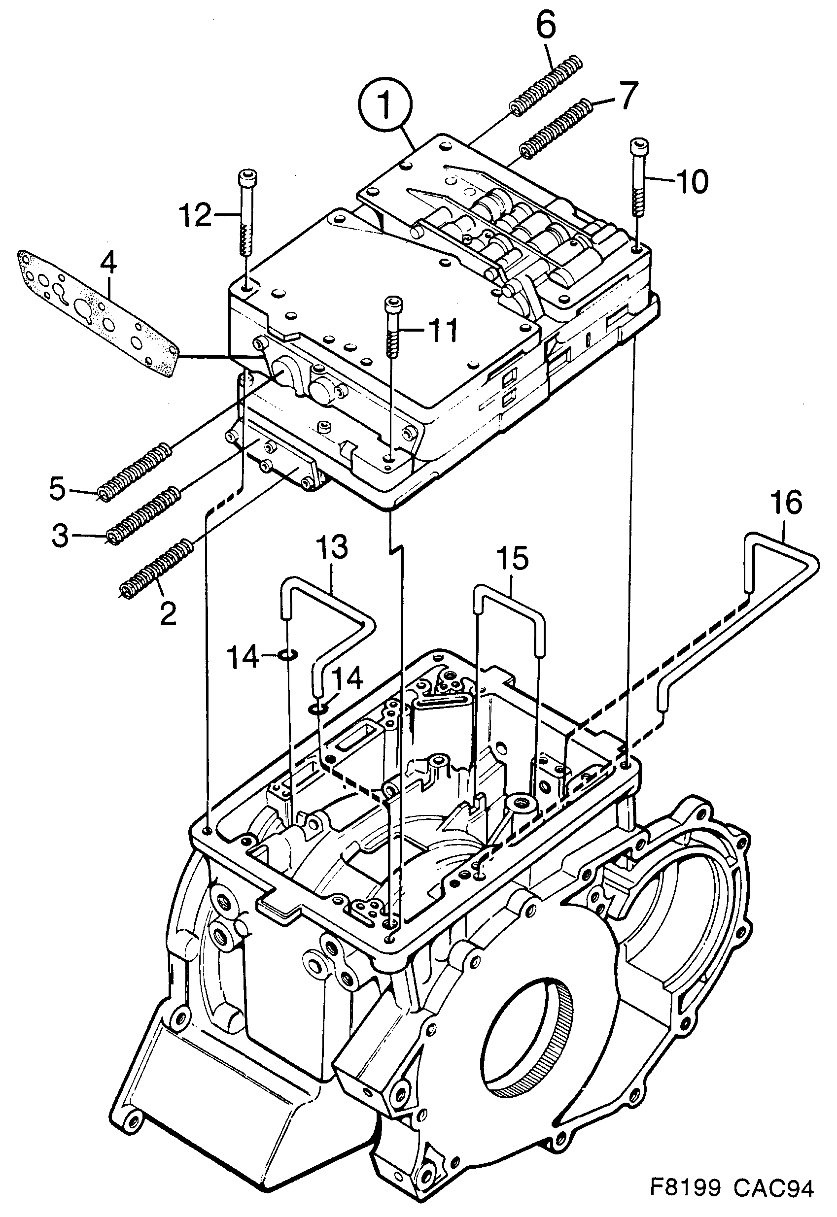
| Pos. | Réf. | Qté | |||
|---|---|---|---|---|---|
| 1 | 4120796 Unité commande FA 43001 | 1 | |||
| 1 | 4775052 Unité commande FA 43302 | 1 | |||
| 1 | 4775078 Unité commande FA 43005 | 1 | |||
| 1 | 4775276 Unité commande FA 43209 | 1 | |||
| 1 | 4775284 Unité commande FA 43009 | 1 | |||
| 1 | 4122503 Unité commande FA 43201,43202,43205 | 1 | |||
| 1 | 4121992 Unité commande FA 41003,43003 | 1 | |||
| 1 | 4384814 Unité commande -2002 | FA 46302 | 1 | |||
| 2 | 4280657 Ressort marche arrière | 1 | |||
| 3 | 4281945 Ressort avant | FA 41003,43003,43001 | 1 | |||
| 3 | 4281804 Ressort avant | FA 43005, 43009, 43201,43202, 43205, 43209, 43302 | 1 | |||
| 4 | 4477386 Joint | 1 | |||
| 5 | 7558141 Ressort Voir SI 440-1542 | 1 | |||
| 5 | 7575251 Ressort Voir SI 440-1542 | 1 | |||
| 6 | 7574767 Ressort Voir TA 443-S69 Electrovalve de changement vitesse 3-4 | 1 | |||
| 7 | 4775060 Ressort Voir TA 443-S69 Electrovalve de changement vitesse 2-3 | 1 | |||
| 10 | 7593650 Vis | 8 | |||
| 11 | 7557754 Vis | 1 | |||
| 12 | 7557846 Vis | 1 | |||
| 13 | 7595002 Tuyau TURBO | 1 | |||
| 14 | 7594146 Joint torique TURBO | 2 | |||
| 15 | 7570294 Tuyau | 1 | |||
| 16 | 7570310 Tuyau | 1 | |||
4775110 Jeu ressorts FA 43005, 43009, 43205, 43209 | 1 | ||||
7496094 Kit joints Phase 1-2 | X | ||||
7496102 Kit joints Phase 3 | X | ||||