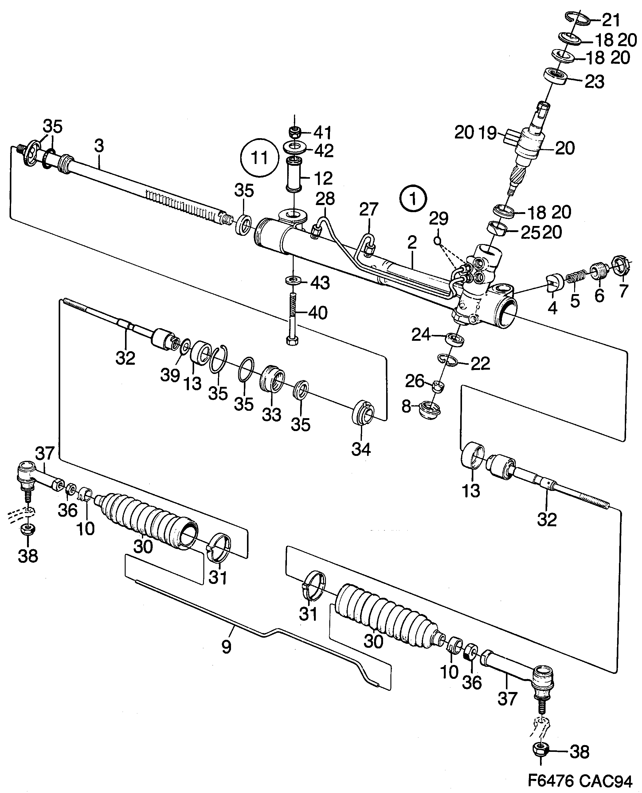
240: Train avant - Direction - Boîtier de direction
(1994 - 1998) | Pour 9000 (1997)

| Pos. | Réf. | Qté | |
|---|---|---|---|
| 1 | 4105052 8827164 Boîtier direction LHD | Egalement disponible en unité de rechange. | 1 | |
| 1 | 8993669 Boîtier direction LHD | Seulement pour la réparation des voitures aux USA | 1 | |
| 1 | 4105060 Boîtier direction RHD | Egalement disponible en unité de rechange. | 1 | |
| 2 | 4004842 Boîtier direction N'est pas une pièce de rechange distincte. | 1 | |
| 3 | 4105508 Crémaillère LHD | 1 | |
| 3 | 4105516 Crémaillère RHD | 1 | |
| 4 | 4199923 Plongeur | 1 | |
| 5 | 8963985 Ressort | 1 | |
| 6 | 8937021 Vis | 1 | |
| 7 | 8937039 Contre-écrou | 1 | |
| 8 | 8955742 Capsule | 1 | |
| 9 | 8955718 Tuyau | 1 | |
| 10 | 8937161 Pince serrage | 2 | |
| 11 | 8993511 Jeu douille | 1 | |
| 12 | 8934119 Bague caoutchouc | 2 | |
| 13 | 8936684 Anneau | 2 | |
| 18 | 4104501 Jeu joints pignon | X | |
4104022 Joint N'est pas une pièce de rechange distincte. | 1 | ||
4103990 Joint N'est pas une pièce de rechange distincte. | 1 | ||
4104006 Joint N'est pas une pièce de rechange distincte. | 1 | ||
| 19 | 4104519 Jeu joints pignon | X | |
8936882 Bague en Téflon N'est pas une pièce de rechange distincte. | 4 | ||
| 20 | 4104543 Kit réparation LHD | pignon | X | |
4103933 Soupape N'est pas une pièce de rechange distincte. | 1 | ||
4103990 Joint N'est pas une pièce de rechange distincte. | 1 | ||
4104006 Joint N'est pas une pièce de rechange distincte. | 1 | ||
4104022 Joint N'est pas une pièce de rechange distincte. | 1 | ||
| 25 | 4104030 Bague | 1 | |
8936882 Bague en Téflon N'est pas une pièce de rechange distincte. | 4 | ||
| 20 | 4104568 Kit réparation RHD | pignon | X | |
4103941 Soupape N'est pas une pièce de rechange distincte. | 1 | ||
4103990 Joint N'est pas une pièce de rechange distincte. | 1 | ||
4104006 Joint N'est pas une pièce de rechange distincte. | 1 | ||
4104022 Joint N'est pas une pièce de rechange distincte. | 1 | ||
| 25 | 4104030 Bague | 1 | |
8936882 Bague en Téflon N'est pas une pièce de rechange distincte. | 4 | ||
| 21 | 8936908 Anneau verrouillage | 1 | |
| 22 | 8936973 Anneau verrouillage | 1 | |
| 23 | 8936932 30539591 Roulement aiguilles | 1 | |
| 24 | 8936965 Roulement billes | 1 | |
| 25 | 4104030 Bague | 1 | |
| 26 | 4104162 Contre-écrou | 1 | |
| 27 | 4105565 Kit tuyaux LHD | court | X | |
8962565 Tuyau N'est pas une pièce de rechange distincte. | 1 | ||
| 29 | 4104014 Joint torique | 1 | |
| 27 | 4105581 Kit tuyaux RHD | court | X | |
8964090 Tuyau N'est pas une pièce de rechange distincte. | 1 | ||
| 29 | 4104014 Joint torique | 1 | |
| 28 | 4105573 Kit tuyaux LHD | long | X | |
8962573 Tuyau N'est pas une pièce de rechange distincte. | 1 | ||
| 29 | 4104014 Joint torique | 1 | |
| 28 | 4105599 Kit tuyaux RHD | long | X | |
8964082 Tuyau N'est pas une pièce de rechange distincte. | 1 | ||
| 29 | 4104014 Joint torique | 1 | |
| 30 | 8962243 Jeu soufflet LH | X | |
8955692 Soufflet N'est pas une pièce de rechange distincte. | 1 | ||
| 31 | 8961310 Collier serrage | 1 | |
| 30 | 8962516 Jeu soufflet RH | X | |
8962524 Soufflet N'est pas une pièce de rechange distincte. | 1 | ||
| 31 | 8961310 Collier serrage | 1 | |
| 32 | 8962250 Barre direction | X | |
8955650 Barre direction N'est pas une pièce de rechange distincte. | 1 | ||
| 13 | 8936684 Anneau | 1 | |
| 31 | 8961310 Collier serrage | 1 | |
| 10 | 8937161 Pince serrage | 1 | |
| 33 | 8955619 Flasque | 1 | |
| 34 | 8955635 Bague | 1 | |
| 35 | 4104527 Jeu joints crémaillère | X | |
4103958 Joint torique N'est pas une pièce de rechange distincte. | 1 | ||
4103966 Joint N'est pas une pièce de rechange distincte. | 1 | ||
4103974 Joint N'est pas une pièce de rechange distincte. | 1 | ||
4103982 Joint torique N'est pas une pièce de rechange distincte. | 1 | ||
8937070 Segment piston N'est pas une pièce de rechange distincte. | 1 | ||
8970873 Segment piston N'est pas une pièce de rechange distincte. | 1 | ||
8955643 Anneau verrouillage N'est pas une pièce de rechange distincte. | 1 | ||
| 31 | 8961310 Collier serrage | 2 | |
| 36 | 8972309 12781815 Ecrou | 2 | |
| 37 | 8993453 Bout barre direction | 2 | |
| 38 | 8151482 Contre-écrou | 2 | |
| 39 | 8946360 Rondelle entretoise Voir livret d'entretien, groupe 6 | X | |
| 40 | 8965956 13253472 Vis | 2 | |
| 41 | 8151482 Contre-écrou | 2 | |
| 42 | 8934259 Rondelle | 2 | |
| 43 | 8073116 11011199 Rondelle RH | 1 |