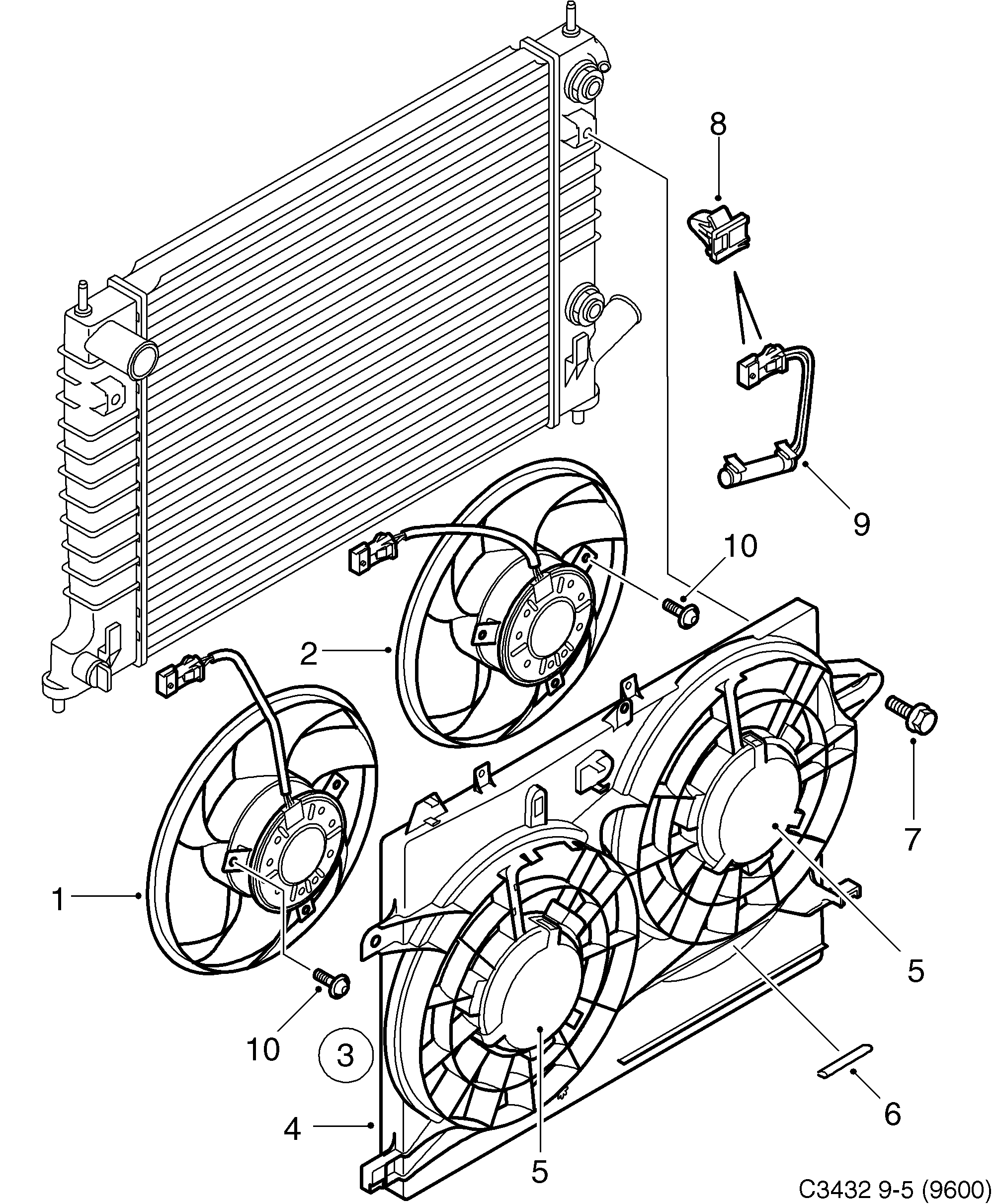
970: Moteur - Système de refroidissement - Motoventilateur
(1998 - 2010) | Pour 9-5 (9600) (2001)

| Pos. | Réf. | Qté | |
|---|---|---|---|
| 1 | 4576351 Ventilateur | 1 | |
| 2 | 4576443 12765409 Ventilateur -2005 | AC/ACC | 1 | |
| 3 | 5170667 12763570 Boîtier ventilateur 1998-2002 | 1 | |
| 4 | 4576344 12763571 Boîtier ventilateur 1998-2005 | 1 | |
| 5 | 5170659 Couvercle protection | 2 | |
| 6 | 4867917 Lisse protection 2001-2002 | 1 | |
| 7 | 92153150 Vis | 2 | |
| 8 | 4176095 Clip | 2 | |
| 9 | 4576484 Résistance B205, B235, B308 | 1 |