280: Moteur - Corps de moteur - Transmission
(1998 - 2010 | B205E, B205L, B205R, B235E, B235R) | Pour 9-5 (9600) (2002)

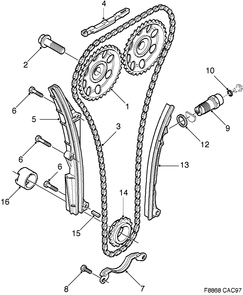
| Pos. | Réf. | Qté | |||
|---|---|---|---|---|---|
| 1 | 9115205 Pignon chaîne | 2 | |||
| 2 | 9107541 Vis | 2 | |||
| 3 | 9131145 Chaîne | 1 | |||
| 3 | 9321845 Chaîne Ouvert, avec anneau | ALTERNATIVE | 1 | |||
| 4 | 30518277 Guide chaîne | 1 | |||
| 5 | 32000421 55557270 Guide chaîne 1998-2005 | 1 | |||
| 6 | 7978141 92150006 Vis à tête hexagonale 1998-2005 | 4 | |||
| 7 | 9136532 Protège-chaîne | 1 | |||
| 8 | 7978091 11900353 Vis | 2 | |||
| 9 | 7585086 Tendeur chaîne | 1 | |||
| 10 | 8109571 8048670 Joint torique | 1 | |||
| 12 | 7508690 Joint | 1 | |||
| 13 | 30551887 55557269 Guide chaîne 1998-2005 | 1 | |||
| 14 | 30520419 Pignon chaîne (91 15 197) | 1 | |||
| 15 | 30520452 Clavette (91 16 864) | 1 | |||
| 16 | |||||