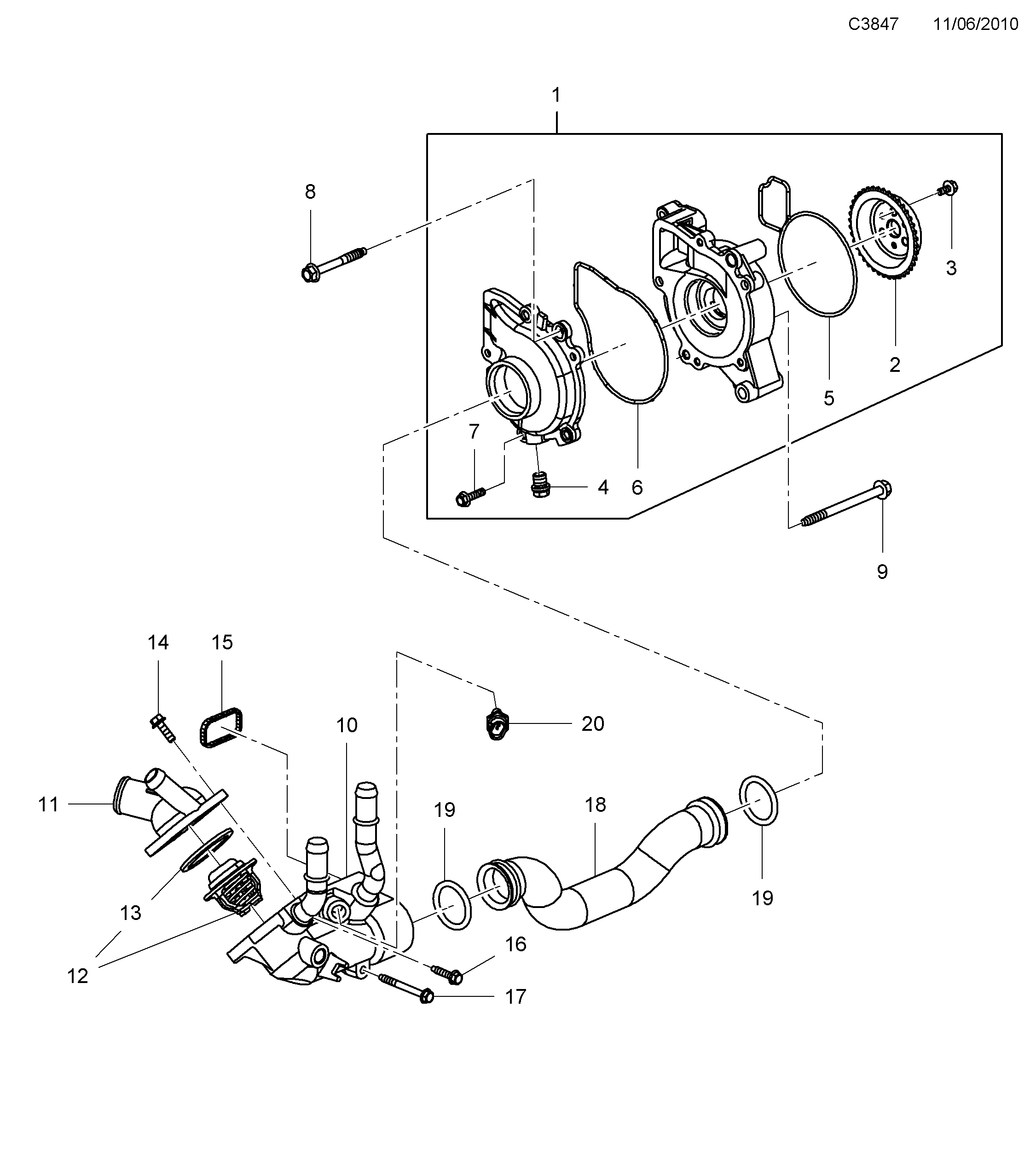
5800: Moteur - Système de refroidissement - Pompe de refroidissement - Thermostat
(2010 - 2011 | A20DTH, A20DTR, A20NFT, A16LET) | Pour 9-5 (650) (2011)

| Pos. | Réf. | Qté | |||
|---|---|---|---|---|---|
| 1 | 12630084 Pompe à eau | 1 | |||
| 2 | 90537298 Pignon chaîne | 1 | |||
| 3 | 11518061 Vis M6X13 | 3 | |||
| 4 | 90537623 Obturateur à vis | 1 | |||
| 5 | 24439799 Joint | 1 | |||
| 6 | 24446365 Joint | 1 | |||
| 7 | 11518063 Vis M6X25 | 4 | |||
| 8 | 11900262 Vis | 2 | |||
| 9 | 11589253 Vis M8X105 | 2 | |||
| 10 | 12605853 Boîtier thermostat | 1 | |||
| 11 | 12599085 Manchon de raccordement INLET | 1 | |||
| 12 | 12622410 Thermostat | 1 | |||
| 13 | 3522676 Joint | 1 | |||
| 14 | 11588714 Vis M6X30 | 2 | |||
| 15 | 90537471 Joint | 1 | |||
| 16 | 11900244 Vis M6X25 | 2 | |||
| 17 | 11588719 Vis M6X60 | 1 | |||
| 18 | 12592401 Tuyau OUTLET | 1 | |||
| 19 | 90537379 Joint torique | 2 | |||
| 20 | |||||