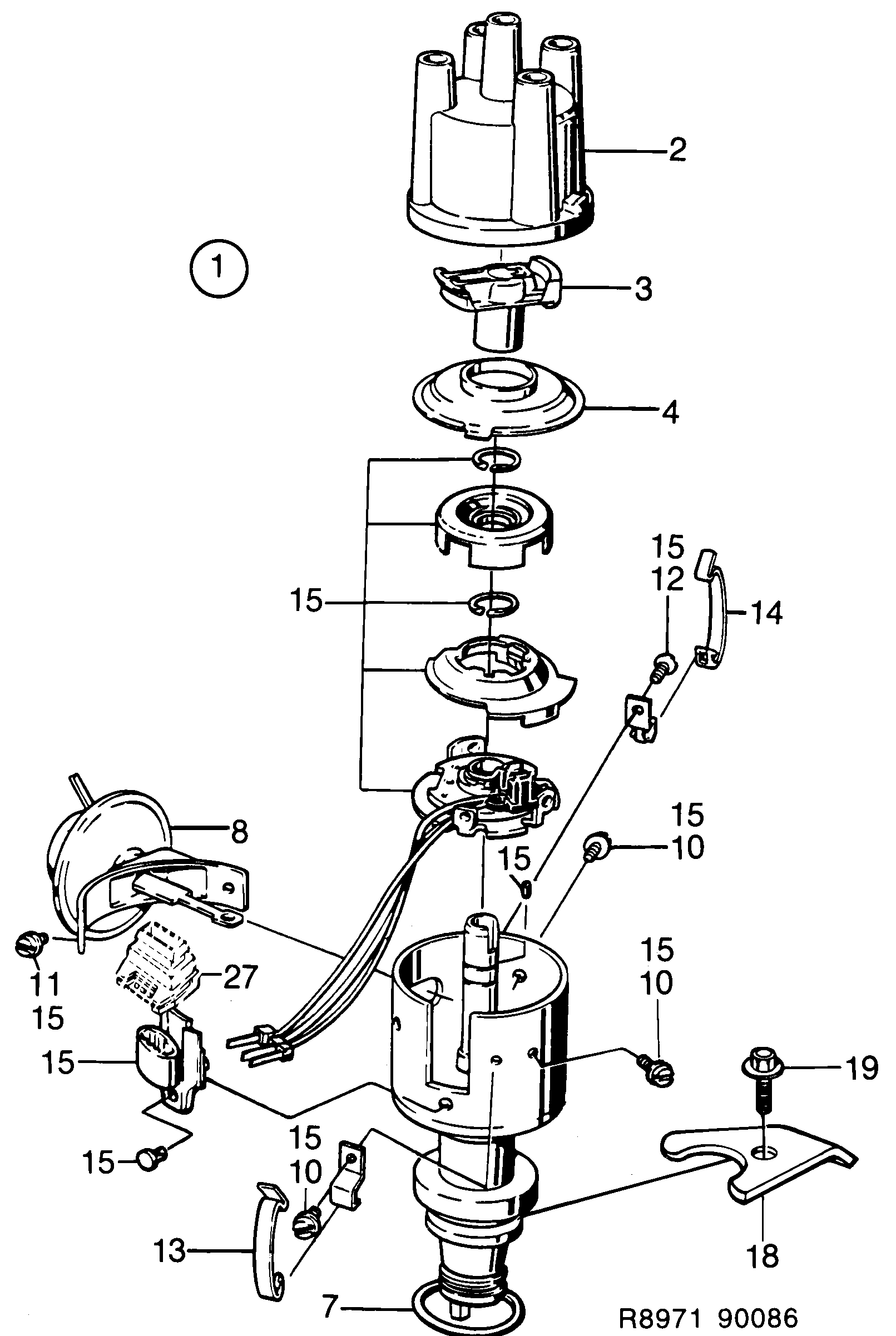
310: Электрика, общие данные - Система зажигания - Распределитель зажигания
(1986 - 1989) | Для 900 (1986)

| Поз. | Номер | Кол-во | |
|---|---|---|---|
| 1 | 7561806 8593907 Распределитель зажигания -1988 | 1 | |
| 2 | 7501216 Крышка распределителя | 1 | |
| 3 | 7564420 Ротор | 1 | |
| 4 | 7519135 Крышка Часть 75 61 806. | 1 | |
| 7 | 7519143 9176470 О-образное кольцо | 1 | |
| 8 | 7564438 Регулятор | 1 | |
| 10 | 7519119 Винт | 3 | |
| 11 | 7519127 Винт Часть 75 61 806. | 1 | |
| 11 | 9119561 30520525 Винт Часть 74 81 393. | 1 | |
| 12 | 7519101 Винт | 1 | |
| 13 | 7519085 Пружина Часть 75 61 806. | 1 | |
| 13 | 7519085 Пружина Часть 74 81 393. | 2 | |
| 14 | 9309956 Пружина Часть 75 61 806. | 1 | |
| 15 | 7588312 Ремонтный комплект Часть 75 61 806. | X | |
| 18 | 8362287 Держатель | 1 | |
| 19 | 8082950 9166323 Винт | 1 | |
| 26 | 7586589 Ремонтный комплект | X | |
| 27 | 8574097 Блок контактов 1986-1986 |