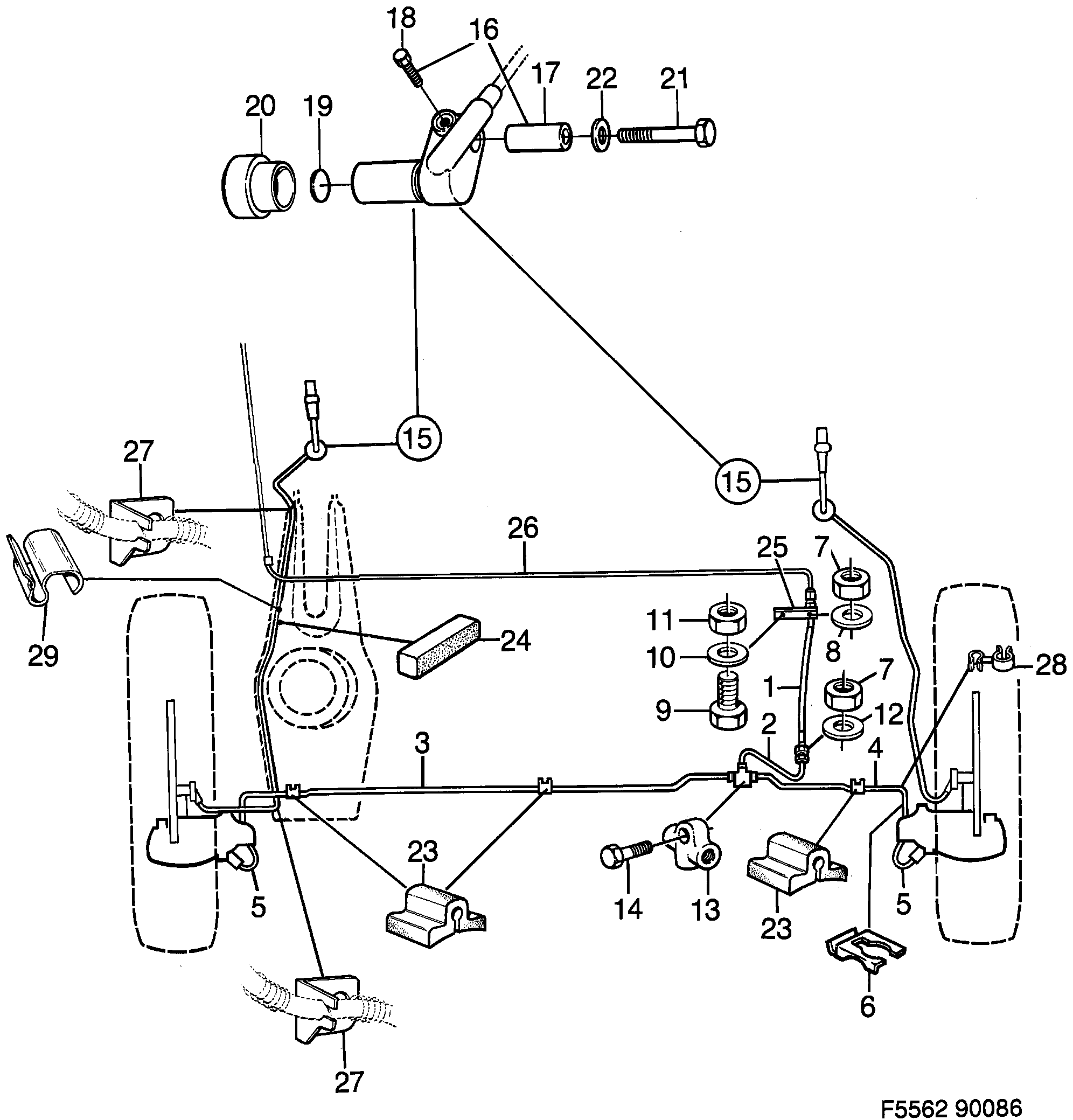
340: Тормоза - Система ножного тормоза - Тормозные шланги ABS - сзади
(1986 - 1989) | Для 900 (1986)

| Поз. | Номер | Кол-во | |||
|---|---|---|---|---|---|
| 1 | 8931784 Тормозной шланг | 1 | |||
| 2 | 9105354 Тормозные трубки | 1 | |||
| 3 | 9105032 30520298 Тормозные трубки LH | 1 | |||
| 4 | 9105016 Тормозные трубки RH | 1 | |||
| 5 | 9101650 Тормозной шланг | 2 | |||
| 6 | 4104188 8952699 Держатель | 2 | |||
| 7 | 7979511 30509371 Гайка | 2 | |||
| 8 | 7933856 Шайба | 1 | |||
| 9 | 8082935 Винт | 1 | |||
| 10 | 7311764 Шайба | 1 | |||
| 11 | 8074106 Гайка | 1 | |||
| 12 | 7933856 Шайба | 1 | |||
| 13 | 8964686 Т-деталь | 1 | |||
| 14 | 8082968 55562873 Винт | 1 | |||
| 15 | 9105388 Датчик LH | 1 | |||
| 15 | 9105396 Датчик RH | 1 | |||
| 16 | 9105115 32000324 Комплект винтов | 1 | |||
| 17 | 8967374 Гильза Не имеется как отдельная запчасть. | 1 | |||
| 18 | 8967382 Винт Не имеется как отдельная запчасть. | 1 | |||
| 19 | 4001046 32000135 Прокладка | 1 | |||
| 20 | 8963019 Гильза | 2 | |||
| 21 | 8021925 Винт | 2 | |||
| 22 | 8029951 Шайба | 2 | |||
| 23 | 8919490 Распорка | 3 | |||
| 24 | 8967226 Установочное кольцо | 2 | |||
| 25 | 8991739 Пластина замка | 1 | |||
| 26 | |||||
| 27 | 9105305 Держатель LH | 2 | |||
| 27 | 9105313 Держатель RH | 2 | |||
| 29 | 8931461 Зажим | 4 | |||