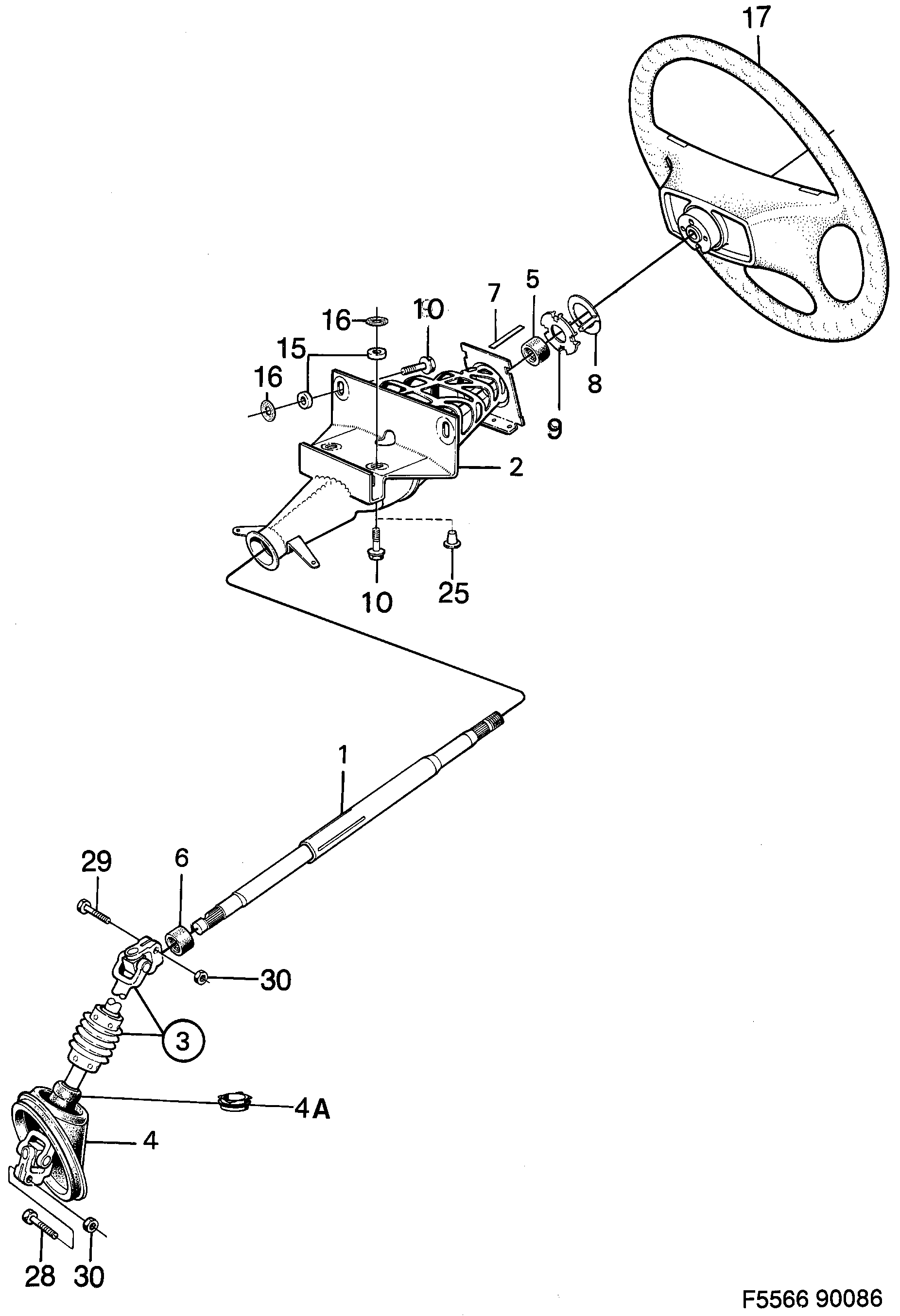
130: Передняя сборка - Рулевое управление - Вал рулевого управления
(1986 - 1989) | Для 900 (1988)

| Поз. | Номер | Кол-во | |||
|---|---|---|---|---|---|
| 1 | 7605256 Вал рулевого управления -1989 | 1 | |||
| 2 | 8934952 Коробка рулевой колонки | 1 | |||
| 3 | 8948044 4001798 Промежуточная ось | 1 | |||
| 4 | 8947970 Сильфон | 1 | |||
| 4A | 8947988 Подшипник | 1 | |||
| 5 | 8935025 Игольчатый подшипник | 1 | |||
| 6 | 8936163 Игольчатый подшипник | 1 | |||
| 7 | 8940645 Заземляющая пластинка | 1 | |||
| 8 | 8936411 Контактное кольцо | 1 | |||
| 9 | 8936403 Держатель | 1 | |||
| 10 | 8939340 Винт | 4 | |||
| 15 | 8939332 Шайба LHD | 4 | |||
| 15 | 8939332 Шайба RHD | 4,8 MM | 2 | |||
| 15 | 8945032 Шайба RHD | 7,8 MM | 2 | |||
| 16 | 8941114 Кольцо | 4 | |||
| 17 | |||||
| 25 | 8941205 Уплотнение | 4 | |||
| 28 | 7972334 7985898 Шестигранный винт | 1 | |||
| 29 | 7967789 Винт | 1 | |||
| 30 | 7968415 Гайка замка | 2 | |||