
| Поз. | Номер | Кол-во | |
|---|---|---|---|
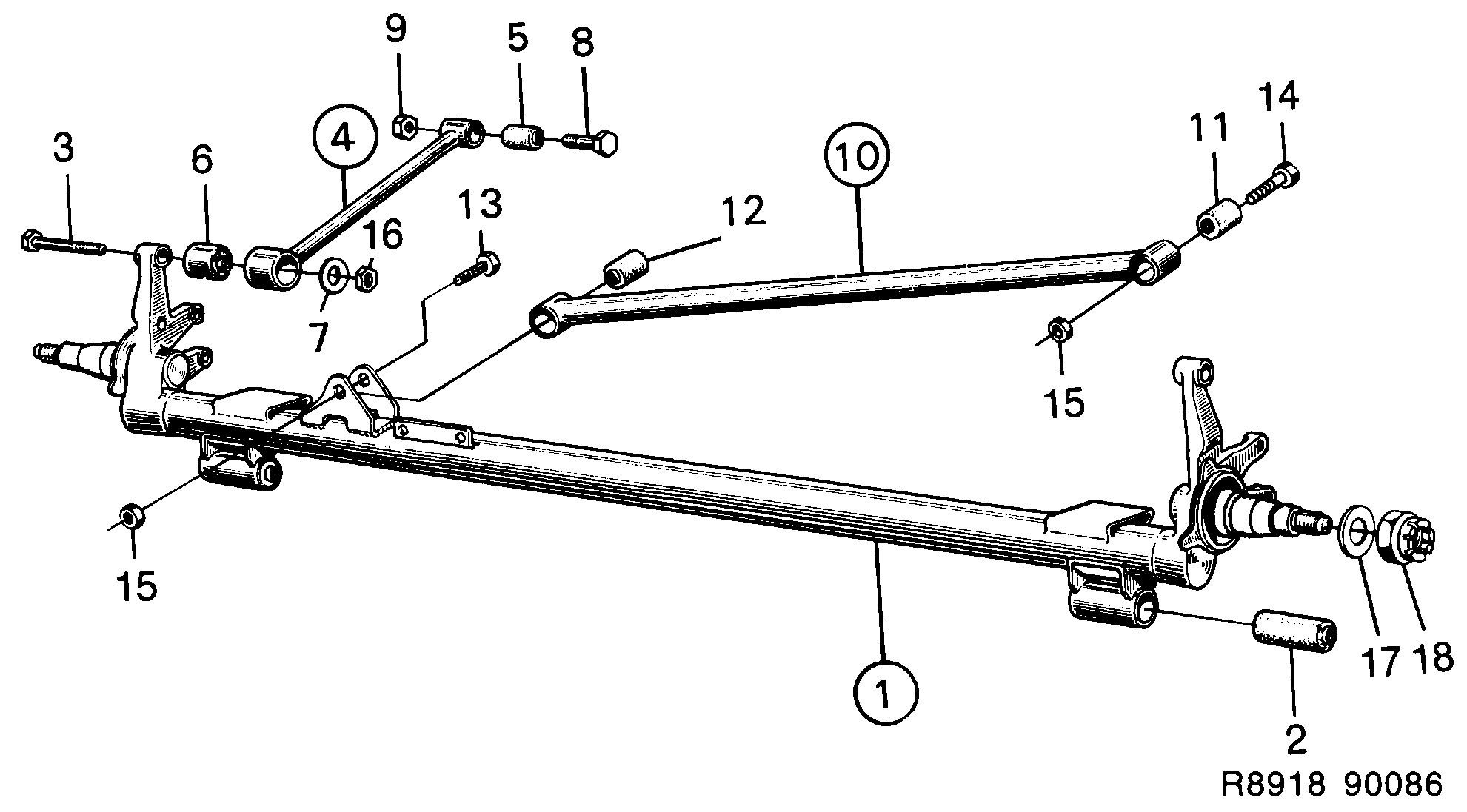
| 1 | 9105859 Задний мост 1989-1989 | Касается также SE 1988B. | 1 | |
| 2 | 8935306 Втулка, вкладыш | 2 | |
| 3 | 7979487 7979586 Винт 1988-1989 | (8084204) | 2 | |
| 4 | 9103102 Распорка 1988-1989 | 2 | |
| 5 | 8956468 Втулка, вкладыш 1988-1989 | 2 | |
| 6 | 9103110 Втулка, вкладыш 1988-1989 | 2 | |
| 7 | 8952277 Шайба 1988-1989 | 2 | |
| 8 | 7982002 30509382 Винт 1989-1989 | Касается также SE 1988B. | 2 | |
| 9 | 7977812 Гайка замка 1989-1989 | Касается также SE 1988B. | 2 | |
| 10 | 8932071 Распорка | 1 | |
| 11 | 8932014 Втулка, вкладыш | 1 | |
| 12 | 8930307 Втулка, вкладыш | 1 | |
| 13 | 8942005 Винт | 1 | |
| 14 | 8930299 Винт | 1 | |
| 15 | 7940455 Гайка | 2 | |
| 16 | 8073538 7977812 Гайка замка 1988-1989 | 2 | |
| 18 | 8965360 Гайка замка 1988-1989 | 2 |