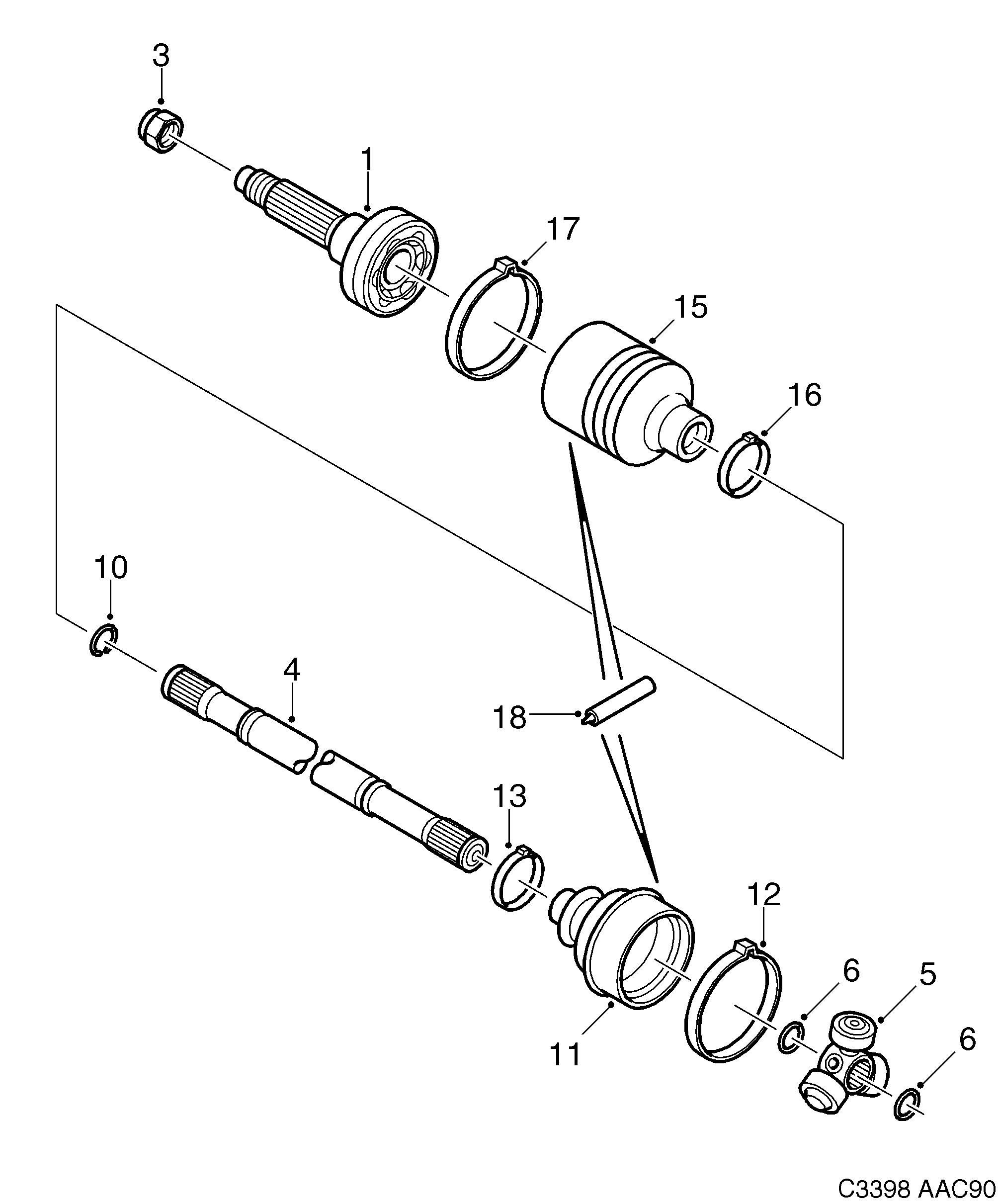
380: Силовая передача - Ведущая ось - Внешний карданный узел
(1990 - 1993) | Для 900 (1990)
Касается также Кабриолет 1994

| Поз. | Номер | Кол-во | |
|---|---|---|---|
| 1 | 9102880 Карданный узел Имеется также как заменяемый узел. | 2 | |
| 1 | 4000659 Карданный узел Имеется также как заменяемый узел. | ABS | 2 | |
| 3 | 8965360 Гайка замка | 2 | |
| 4 | 9102823 4106159 Ведущая ось -1990 | LH | 1 | |
| 4 | 4106159 Ведущая ось 1990- | LH | 1 | |
| 4 | 9102831 Ведущая ось -1990 | Имеется также как заменяемый узел. | RH | 1 | |
| 4 | 4106142 Ведущая ось 1990- | RH | 1 | |
| 5 | 8950628 Поводок Имеется также как заменяемый узел. | 2 | |
| 6 | 8950636 Стопорное кольцо | 2 | |
| 10 | 8921520 Стопорное кольцо | 2 | |
| 11 | 8961872 8993636 Комплект сильфона | 2 | |
| 12 | 8972986 30519720 Зажим | 1 | |
| 13 | 4195822 Зажим | 1 | |
| 15 | 8993628 Комплект сильфона | 2 | |
| 16 | 4195822 Зажим 1990-1991 | 1 | |
| 17 | 4000667 Зажим | 1 | |
| 18 | 8781684 90513210 Жир, смазка 50 gr | X | |
| 18 | 8781676 90007999 Жир, смазка 300 gr | X |