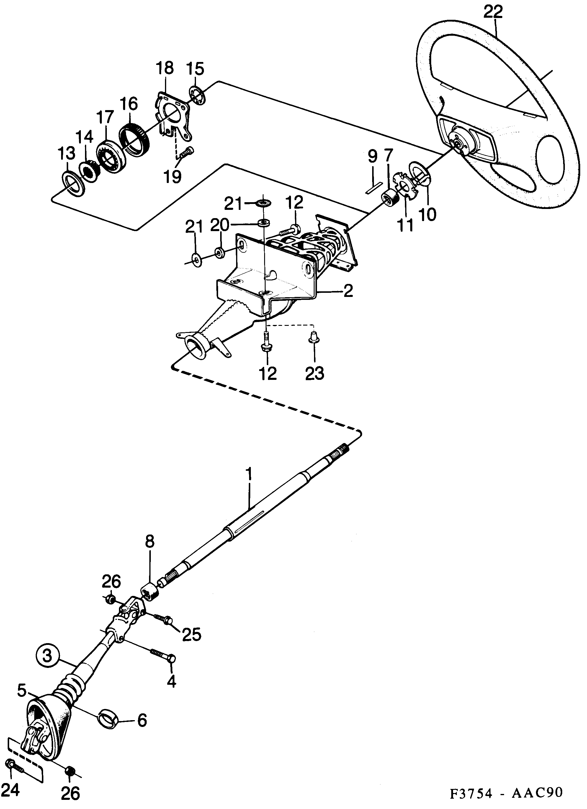
140: Передняя сборка - Рулевое управление - Вал рулевого управления
(1990 - 1993) | Для 900 (1990)
Касается также Кабриолет 1994

| Поз. | Номер | Кол-во | |||
|---|---|---|---|---|---|
| 1 | 4004768 Вал рулевого управления | 1 | |||
| 1 | 9104647 Вал рулевого управления AIR-BAG | 1 | |||
| 2 | 8934952 Коробка рулевой колонки | 1 | |||
| 2 | 9106626 Коробка рулевой колонки AIR-BAG | 1 | |||
| 3 | 4001798 Промежуточная ось | 1 | |||
| 4 | 7399975 Винт | 1 | |||
| 5 | 4003240 Сильфон 1990-1990 | 1 | |||
| 6 | 8947988 Подшипник 1990-1990 | 1 | |||
| 7 | 8935025 Игольчатый подшипник Верхний | 1 | |||
| 8 | 8936163 Игольчатый подшипник Нижний | 1 | |||
| 9 | 8940645 Заземляющая пластинка | 1 | |||
| 10 | 8936411 Контактное кольцо | 1 | |||
| 11 | 8936403 Держатель | 1 | |||
| 12 | 8939340 Винт | 4 | |||
| 13 | 4000360 Шайба AIR-BAG | 1 | |||
| 14 | 8972374 Втулка, вкладыш AIR-BAG | 1 | |||
| 15 | 8954281 Стопорное кольцо AIR-BAG | 1 | |||
| 16 | 8950172 Кольцо AIR-BAG | 1 | |||
| 17 | 8950701 4903985 Шарикоподшипник AIR-BAG | 1 | |||
| 18 | 9106329 Плита AIR-BAG | 1 | |||
| 19 | 7922347 Винт AIR-BAG | 1 | |||
| 20 | 8939332 Шайба LHD | 4 | |||
| 20 | 8939332 Шайба RHD | 4,8 MM | 2 | |||
| 20 | 8945032 Шайба RHD | 7,8 MM | 2 | |||
| 21 | 8941114 Кольцо | 4 | |||
| 22 | |||||
| 23 | 8941205 Уплотнение | 4 | |||
| 24 | 7972334 7985898 Шестигранный винт | 1 | |||
| 25 | 7967789 Винт | 1 | |||
| 26 | 7968415 Гайка замка | 2 | |||