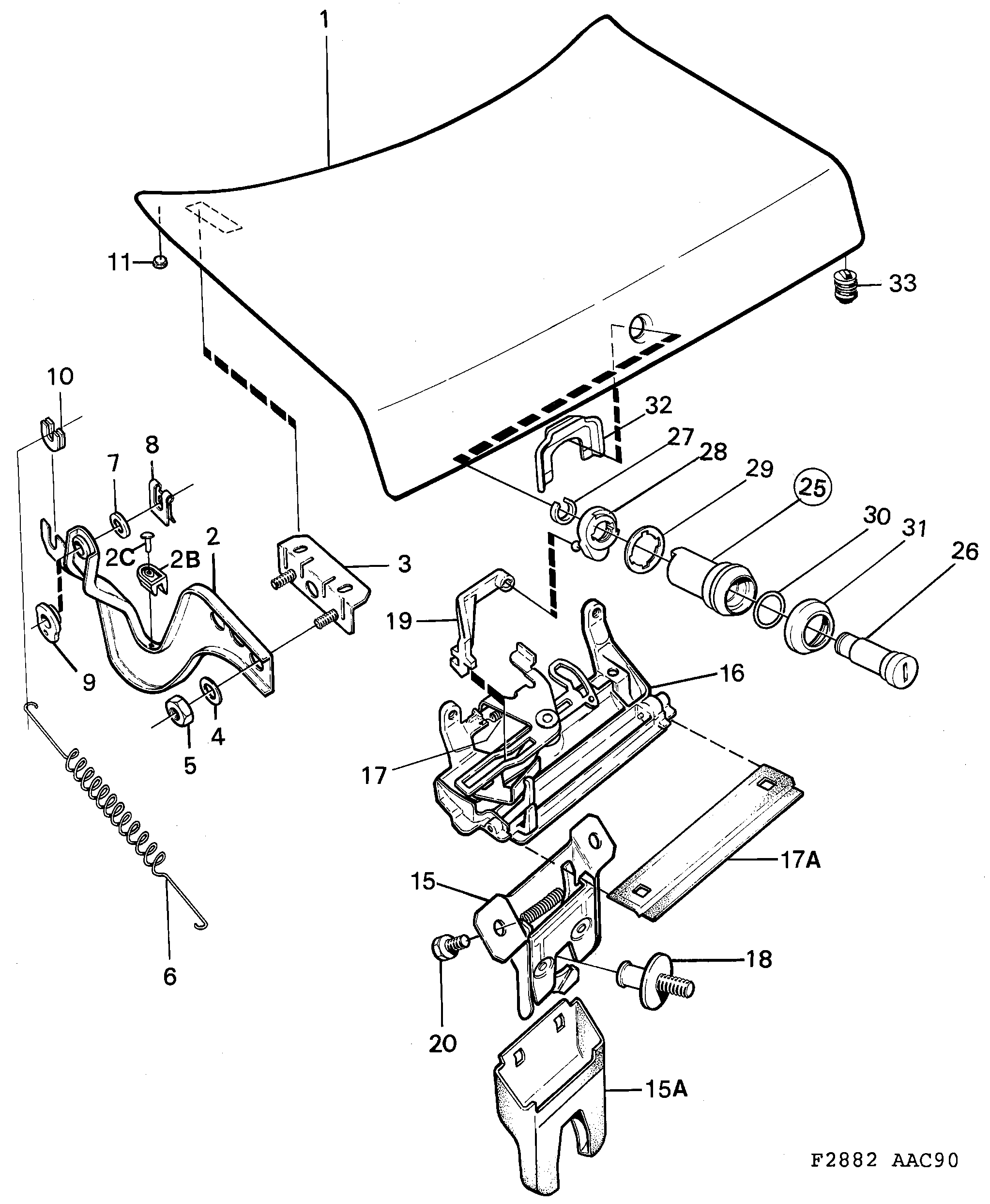
1040: Кузов, снаружи - Двери, крышка багажника - Крышка багажника - Замок
(1990 - 1993) | Для 900 (1990)
Касается также Кабриолет 1994

| Поз. | Номер | Кол-во | |
|---|---|---|---|
| 1 | 6944359 Крышка багажника | 1 | |
| 2 | 9222795 Петля LH | 1 | |
| 2 | 9222803 Петля RH | 1 | |
| 2B | 9231515 Стопор LH | 1 | |
| 2B | 9231523 Стопор RH | 1 | |
| 2C | 8215683 Заклепка | 2 | |
| 3 | 9222837 Угол | 2 | |
| 4 | 7061328 Шайба | 8 | |
| 5 | 7967953 11900429 Гайка | 8 | |
| 6 | 6919013 Пружина | 2 | |
| 7 | 7916513 Шайба | 2 | |
| 8 | 8257750 Запирание | 2 | |
| 9 | 9225475 Втулка, вкладыш | 2 | |
| 10 | 9225483 Защита LH | 1 | |
| 10 | 8233736 Защита RH | 1 | |
| 10 | 8233736 Защита RH | 2 | |
| 11 | 7162308 Пробка | 2 | |
| 15 | 9231267 Замок | 1 | |
| 15A | 9230889 Защита | 1 | |
| 16 | 6941280 Ручка | 1 | |
| 16 | 6941306 Ручка | 1 | |
| 17 | 8289738 Натяжная пружина | 1 | |
| 17A | 6937999 Уплотнение | 1 | |
| 18 | 9235078 Концевая пластина замка | 1 | |
| 19 | 8289753 Маневровый шарнир | 1 | |
| 20 | 8059552 92151821 Винт | 2 | |
| 25 | 8283806 Цилиндр замка | 1 | |
| 25 | 8283848 Цилиндр замка | 1 | |
| 26 | 8486409 Цилиндр замка | 1 | |
| 26 | 8283855 8486409 Цилиндр замка | 1 | |
| 27 | 8451981 Кольцо | 1 | |
| 28 | 8289878 Поводок | 1 | |
| 28 | 9233917 Поводок | 1 | |
| 29 | 8289886 Прокладка | 1 | |
| 30 | 8452252 Уплотнение | 1 | |
| 31 | 8289894 Крышка | 1 | |
| 32 | 8453227 Зажим | 1 | |
| 33 | 8262545 12786272 Стопор 1990-1991 | 2 |