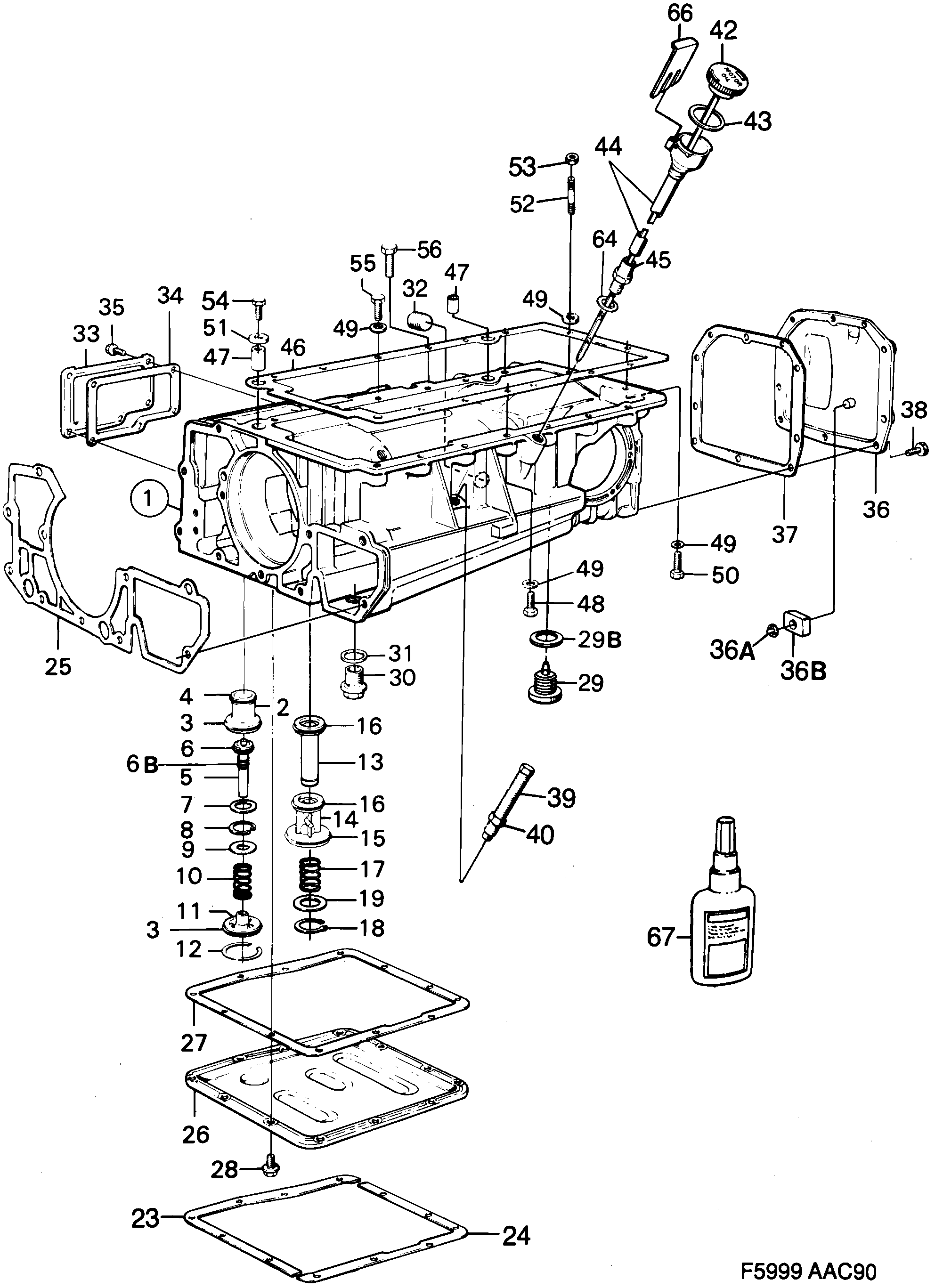
470: Силовая передача - Коробка передач, автоматическая - Серво, крышки, пробки
(1990 - 1993 | A) | Для 900 (1992)
Касается также Кабриолет 1994

| Поз. | Номер | Кол-во | |||
|---|---|---|---|---|---|
| 1 | 4121281 Корпус коробки передач 1991-1993 | 1 | |||
| 2 | 7542285 Поршень 1991-1993 | 1 | |||
| 3 | 8706111 О-образное кольцо | 2 | |||
| 4 | 8325151 О-образное кольцо | 1 | |||
| 5 | 7542301 Коренная шейка | 1 | |||
| 6 | 7542954 Уплотнение | 1 | |||
| 7 | 9335787 Нажимная пластина | 1 | |||
| 8 | 9335795 Стопорное кольцо | 1 | |||
| 9 | 9335803 Нажимная пластина | 1 | |||
| 10 | 9335811 Пружина | 1 | |||
| 11 | 9335829 Поршень | 1 | |||
| 12 | 9334806 Стопорное кольцо | 1 | |||
| 14 | 4121182 Поршень 1991-1993 | 1 | |||
| 15 | 8709610 О-образное кольцо | 1 | |||
| 16 | 8706129 О-образное кольцо | 2 | |||
| 23 | 4029500 Рама | 1 | |||
| 24 | 4029518 Рама | 1 | |||
| 25 | 4121380 Прокладка 1991-1993 | 1 | |||
| 26 | 4029476 Маслоотстойник | 1 | |||
| 27 | 4029450 Прокладка | 1 | |||
| 28 | 4029526 Винт | 12 | |||
| 29 | 8717407 Сливная пробка | 1 | |||
| 29B | 8717415 Прокладка | 1 | |||
| 30 | 8731762 Сливная пробка 1991-1993 | 1 | |||
| 31 | 8728057 Прокладка 1991-1993 | 1 | |||
| 32 | 8710857 Пробка | 1 | |||
| 33 | 4028940 Крышка | 1 | |||
| 34 | 7542665 Прокладка | 1 | |||
| 35 | 8019903 7985930 Винт 1990-1992 | 5 | |||
| 36 | 8729683 Крышка 1991-1993 | (8729329) | 1 | |||
| 37 | 8728669 Прокладка | 1 | |||
| 38 | 8125197 Винт | 10 | |||
| 39 | 8706152 Регулировочный винт | 1 | |||
| 40 | 8706160 Гайка | 1 | |||
| 42 | 7514201 Масляный щуп | 1 | |||
| 43 | 9361544 55557303 Уплотнительное кольцо | 1 | |||
| 44 | 9368200 Заливка масла | 1 | |||
| 45 | 9361452 Ниппель | 1 | |||
| 46 | 7510241 Прокладка | 1 | |||
8781841 93165267 Уплотнение фланца 280 ML | X | ||||
| 47 | 8300725 Направляющая гильза | 2 | |||
| 48 | 8083958 8125213 Винт | 7 | |||
| 49 | 8029985 92153033 Шайба 1990-1992 | 14 | |||
| 50 | 8083958 8125213 Винт 1991-1993 | 1 | |||
| 51 | 7061328 Шайба | 1 | |||
| 52 | 8005928 Резьбовая шпилька | 1 | |||
| 53 | 8151235 Гайка | 1 | |||
| 54 | 9346354 Винт | 1 | |||
| 55 | 9346362 Винт | 5 | |||
| 56 | 9346370 Винт | 1 | |||
| 64 | 9361627 Шайба | 1 | |||
| 66 | 9362542 Плита | 1 | |||
| 67 | 7496284 Уплотнение резьбы 50 ML | X | |||
9335563 Комплект прокладок | X | ||||