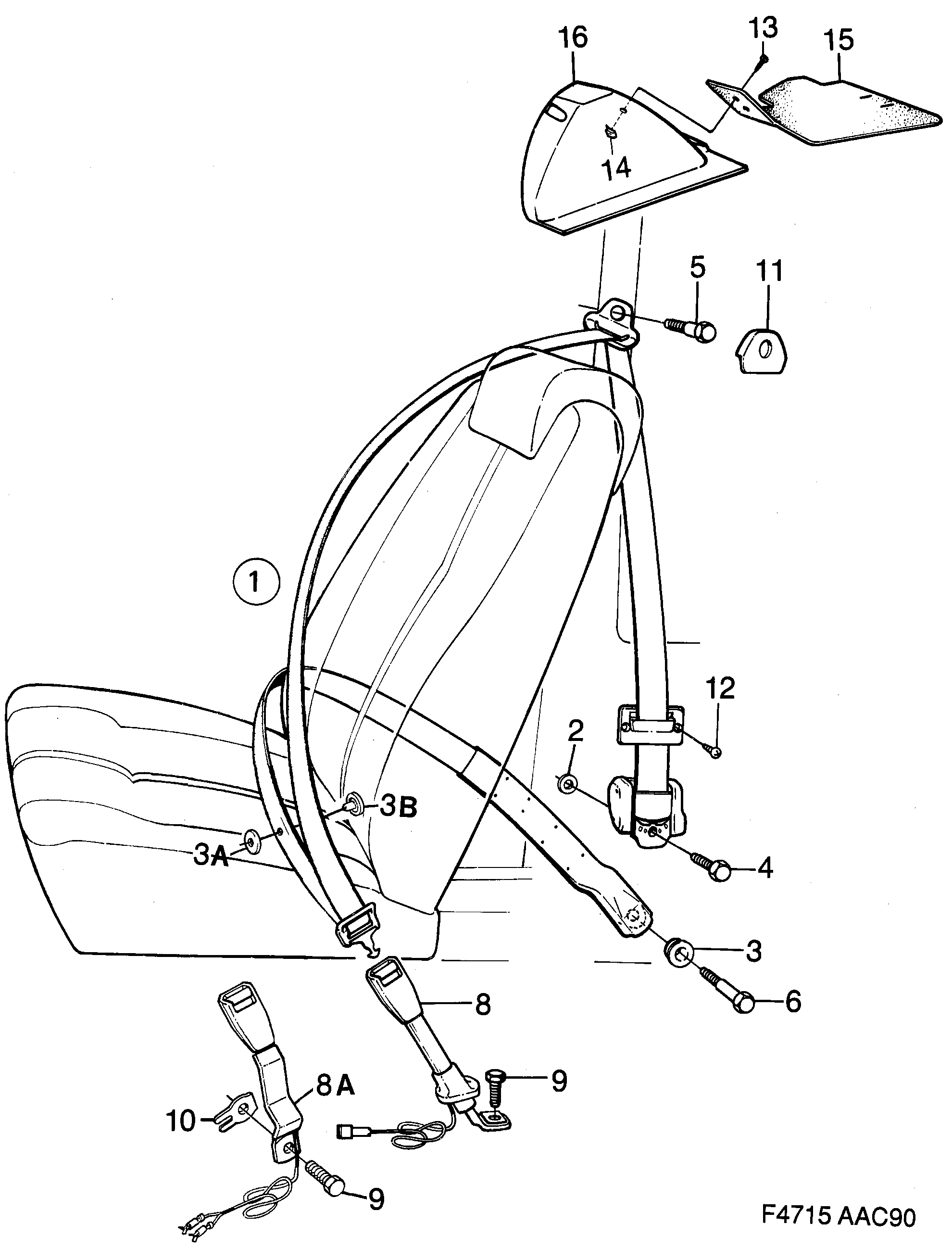
1850: Кузов, внутри - Прочее внутреннее оборудование - Ремень безопасности переднего сидения
(1990 - 1993 | 5D, CV) | Для 900 (1992)
Касается также Кабриолет 1994

| Поз. | Номер | Кол-во | |
|---|---|---|---|
| 1 | 4080446 Ремень безопасности 1991-1993 | LH | 1 | |
| 1 | 4080453 Ремень безопасности 1991-1993 | RH | 1 | |
| 1 | 4166716 Ремень безопасности 1991-1993 | LH | 1 | |
| 1 | 4166724 Ремень безопасности 1991-1993 | RH | 1 | |
| 1 | 9699752 Ремень безопасности 1991-1993 | Удлинен на 30 см | LH | 1 | |
| 1 | 9699760 Ремень безопасности 1991-1993 | Удлинен на 30 см | RH | 1 | |
| 2 | 4077509 Шайба | 1 | |
| 3 | 9422346 Втулка подшипника | 1 | |
| 3A | 9617846 Кнопка | 1 | |
| 3B | 9617853 Кнопка | 1 | |
| 4 | 8499204 Винт | 2 | |
| 4 | 8499238 Винт | 1 | |
| 5 | 9681735 Винт | 2 | |
| 5 | 8499204 Винт | 1 | |
| 6 | 9485020 Винт | 2 | |
| 8A | 4079950 Замок ремня 1991-1993 | 2 | |
| 8A | 4079943 Замок ремня 1991-1993 | Для автомобилей с электроманеврируемыми сидениями. | 2 | |
| 9 | 8499204 Винт | 1 | |
| 9 | 9586827 Винт 1991-1993 | Для автомобилей с электроманеврируемыми сидениями. | 1 | |
| 10 | 4042974 Усиливающий элемент 1991-1993 | Для автомобилей с электроманеврируемыми сидениями. | 1 | |
| 11 | 4031399 Колпак | 2 | |
| 12 | 8410961 Винт | 4 | |
| 13 | 7970536 92150118 Винт | 4 | |
| 14 | 8601916 Зажимная гайка | 4 | |
| 15 | 9824830 Защита LH | 1 | |
| 15 | 9824848 Защита RH | 1 | |
| 16 | 9648999 Колпак LH | 1 | |
| 16 | 9649005 Колпак RH | 1 | |
| 16 | 9648957 Колпак Для автомобилей с защитой от ветра над задним сидением. | LH | 1 | |
| 16 | 9648965 Колпак Для автомобилей с защитой от ветра над задним сидением. | RH | 1 |