690: Электрика, общие данные - Прочее электрическое оборудование - Очиститель лобового стекла
(1994 - 1998) | Для 900 (1994)

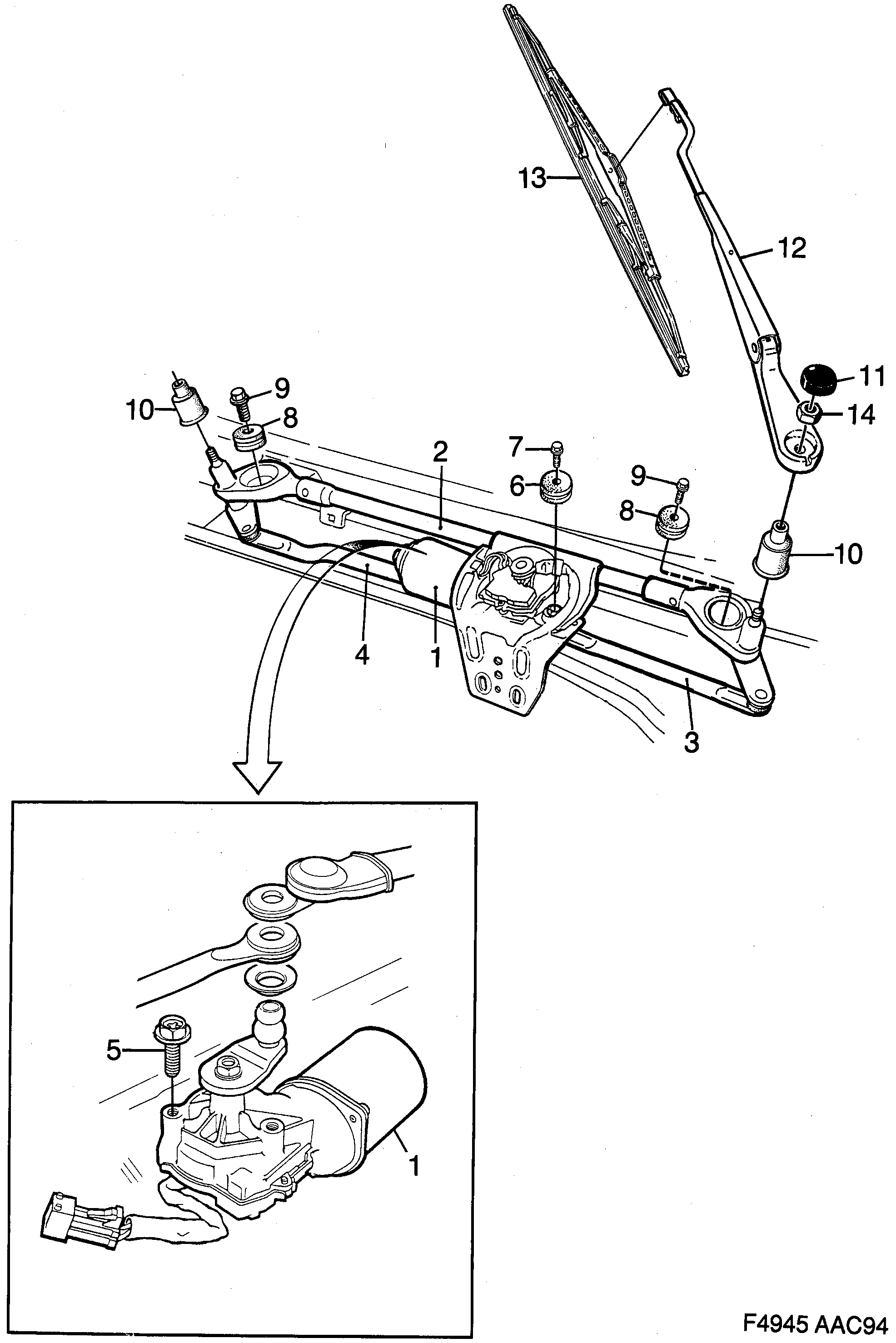
| Поз. | Номер | Кол-во | |
|---|---|---|---|
| 1 | 4401113 5141510 Электромотор LHD | 1 | |
| 1 | 4401030 5141536 Электромотор RHD | 1 | |
| 2 | 4401121 30550873 Рычаг шпинделя LHD | 1 | |
| 2 | 4401048 Рычаг шпинделя RHD | 1 | |
| 3 | 4401147 Рычаг мотовила LHD | LH | 1 | |
| 3 | 4401063 32000165 Рычаг мотовила RHD | RH | 1 | |
| 4 | 4401139 30550874 Рычаг мотовила LHD | RH | 1 | |
| 4 | 4401055 Рычаг мотовила RHD | LH | 1 | |
| 5 | 4063814 Винт | 3 | |
| 6 | 4401071 30550869 Втулка, вкладыш | 1 | |
| 7 | 4401097 32000166 Шестигранный винт | 1 | |
| 8 | 4401089 30550870 Втулка, вкладыш | 2 | |
| 9 | 4401097 32000166 Шестигранный винт | 2 | |
| 10 | 4401824 30550882 Колпак | 2 | |
| 11 | 4381083 Колпак | 2 | |
| 12 | 4448668 Рычаг стеклоочистителя LHD | LH | 1 | |
| 12 | 4448726 Рычаг стеклоочистителя LHD | LH | 1 | |
| 12 | 4381018 Рычаг стеклоочистителя LHD | RH | 1 | |
| 12 | 4381034 Рычаг стеклоочистителя RHD | LH | 1 | |
| 12 | 4448676 Рычаг стеклоочистителя RHD | RH | 1 | |
| 12 | 4448734 Рычаг стеклоочистителя RHD | RH | 1 | |
| 13 | 4448643 93195936 Щетка стеклоочистителя 1994-1997 | 2 | |
| 14 | 8074106 Гайка | 2 | |
8549297 Комплект щеток стеклоочистителей 1994-1997 | X |