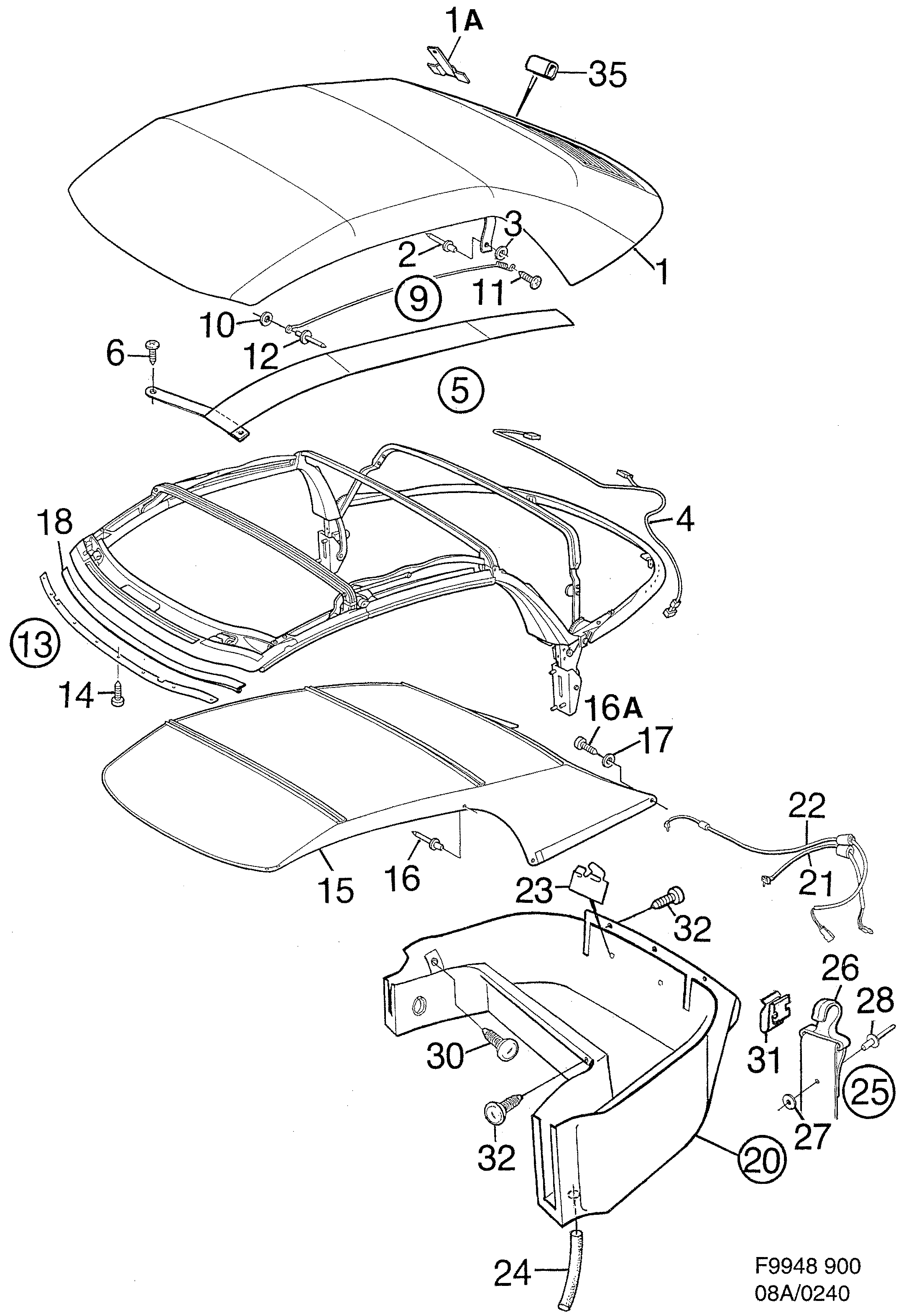
240: Кузов, снаружи - Кузов - Складывающийся верх, откидная крыша
(1994 - 1996 | CV) | Для 900 (1995)

| Поз. | Номер | Кол-во | |
|---|---|---|---|
| 1 | 4556601 5360813 Ткань потолка Черный с задним стеклом | See Service Manual | 1 | |
| 1 | 4556619 5360813 Ткань потолка Синий с задним стеклом | See Service Manual | 1 | |
| 1 | 4556932 Ткань потолка Светло-бежевый с задним стеклом | 1 | |
| 1A | 5182985 Соединительная шина заднее стекло | Rear defogger | 2 | |
| 2 | 4856860 Заклепка | 4 | |
| 3 | 4856878 Шайба | 4 | |
| 4 | 4696274 4768644 Проводка Rear defogger | 1 | |
| 5 | 4697173 4852430 Подкладка См. пособие для станций обслуживания. | LH | 1 | |
| 5 | 4697181 4852448 Подкладка См. пособие для станций обслуживания. | RH | 1 | |
| 6 | 4555777 Винт | 2 | |
| 9 | 4556528 Кабель | 2 | |
| 10 | 8029944 Шайба | 1 | |
| 11 | 4555769 Винт | 1 | |
| 12 | 4556031 4850731 Глухая заклепка | 1 | |
| 13 | 4556577 4697546 Опорная пластина Retaining strip | 1 | |
| 14 | 4555777 Винт | 9 | |
| 15 | 4556403 5360813 Внутренний потолок 1994-1995 | См. пособие для станций обслуживания. | 1 | |
| 16 | 4556015 4696894 Глухая заклепка | 6 | |
| 16 | 4767752 Винт ALTERNATIVE | 6 | |
| 16A | 4856977 Винт | 2 | |
| 17 | 4856985 Шайба | 2 | |
| 18 | 4558532 Уплотнительный профиль First bow seal | 1 | |
| 20 | 4509956 Ткань Светло-серый | Top storage bootwell | 1 | |
| 20 | 4509964 Ткань Светло-бежевый | Top storage bootwell | 1 | |
| 20 | 4509972 Ткань Черный | Top storage bootwell | 1 | |
| 21 | 4603213 Микропрерыватель LH | 1 | |
| 22 | 4603221 Микропрерыватель RH | 1 | |
| 23 | 4603239 Зажим | 2 | |
| 24 | 4510087 Дренажный шлаг | 1 | |
| 25 | 4741971 Крюк | 1 | |
| 26 | 4510053 Крюк Не имеется как отдельная запчасть. | 2 | |
| 27 | 8073090 Шайба | 2 | |
| 28 | 8235178 Заклепка | 2 | |
| 30 | 9668153 92152407 Зажим | 9 | |
| 31 | 4087797 Зажим | 10 | |
| 32 | 4347449 90283614 Зажим | 5 | |
| 35 | 4853263 Зажим | 1 | |
4613535 Комплект См. пособие для станций обслуживания. | X | ||
6935712 Сшивающий зажим L=9,7MM | X | ||
9288127 Лента Butyl tape 6MM diameter, L=8 DM | X |