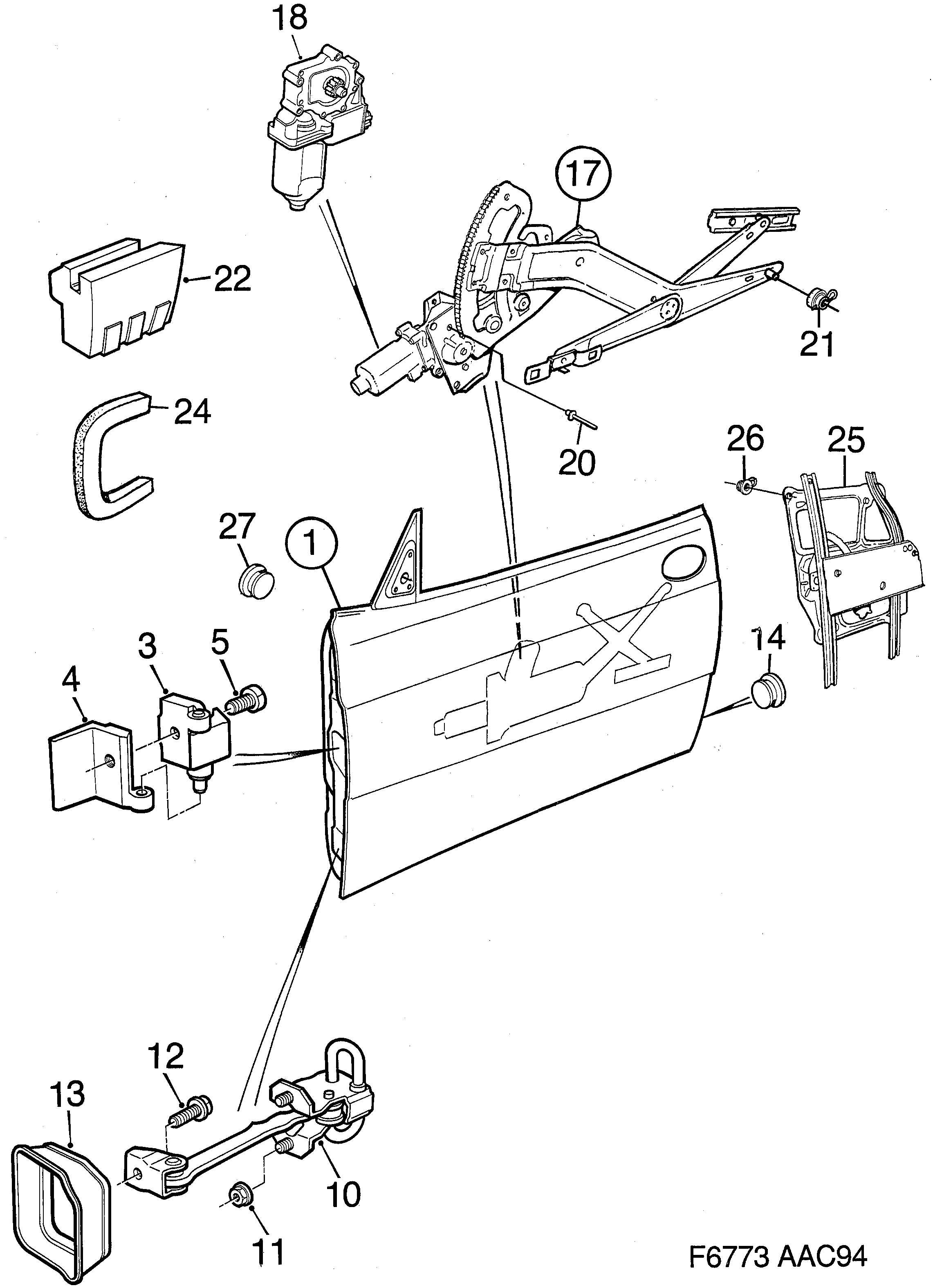
1080: Кузов, снаружи - Двери, крышка багажника - Передняя дверь - Стеклоподъемник
(1994 - 1998 | CV) | Для 900 (1997)

| Поз. | Номер | Кол-во | |
|---|---|---|---|
| 1 | 4555579 5513544 Дверь 1994-1997 | LH | 1 | |
| 1 | 4555587 5513551 Дверь 1994-1997 | RH | 1 | |
| 3 | 4307914 4858296 Петля LH | 2 | |
| 3 | 4307922 4858304 Петля RH | 2 | |
| 4 | 4307872 Петля LH | 2 | |
| 4 | 4307880 Петля RH | 2 | |
| 5 | 4087185 Шестигранный винт | 4 | |
| 10 | 4551008 Стопор двери | 2 | |
| 11 | 7977929 11900451 Гайка | 4 | |
| 12 | 7978182 92150012 Винт | 2 | |
| 13 | 4305991 5335708 Крышка | 2 | |
| 14 | 9267808 Пробка (7982788) | 2 | |
| 17 | 4695714 4851895 Стеклоподъемник 1995- | LH | 1 | |
| 17 | 4695722 4851887 Стеклоподъемник 1995- | RH | 1 | |
| 18 | 4695631 Двигатель, мотор 1995- | LH | 1 | |
| 18 | 5184833 Двигатель, мотор 1995- | LH, Alternative to 4695631 | 1 | |
| 18 | 4695649 Двигатель, мотор 1995- | RH | 1 | |
| 18 | 5184841 Двигатель, мотор 1995- | RH, Alternative to 4695649 | 1 | |
| 20 | 4087904 11086102 Глухая заклепка 1995- | 8 | |
| 21 | 4493433 Ролик | 2 | |
| 22 | 4550802 Прокладка | 4 | |
| 24 | 4494936 Уплотнение | 2 | |
| 25 | 4370391 Стеклоподъемник LH | 1 | |
| 25 | 4370409 5510011 Стеклоподъемник RH | 1 | |
| 26 | 7977952 11900452 Шестигранная гайка | 8 | |
| 27 | 7982762 92150200 Пробка | 2 |