610: Силовая передача - Коробка передач, автоматическая - Система управления
(1985 - 1989 | A) | Для 9000 (1985)

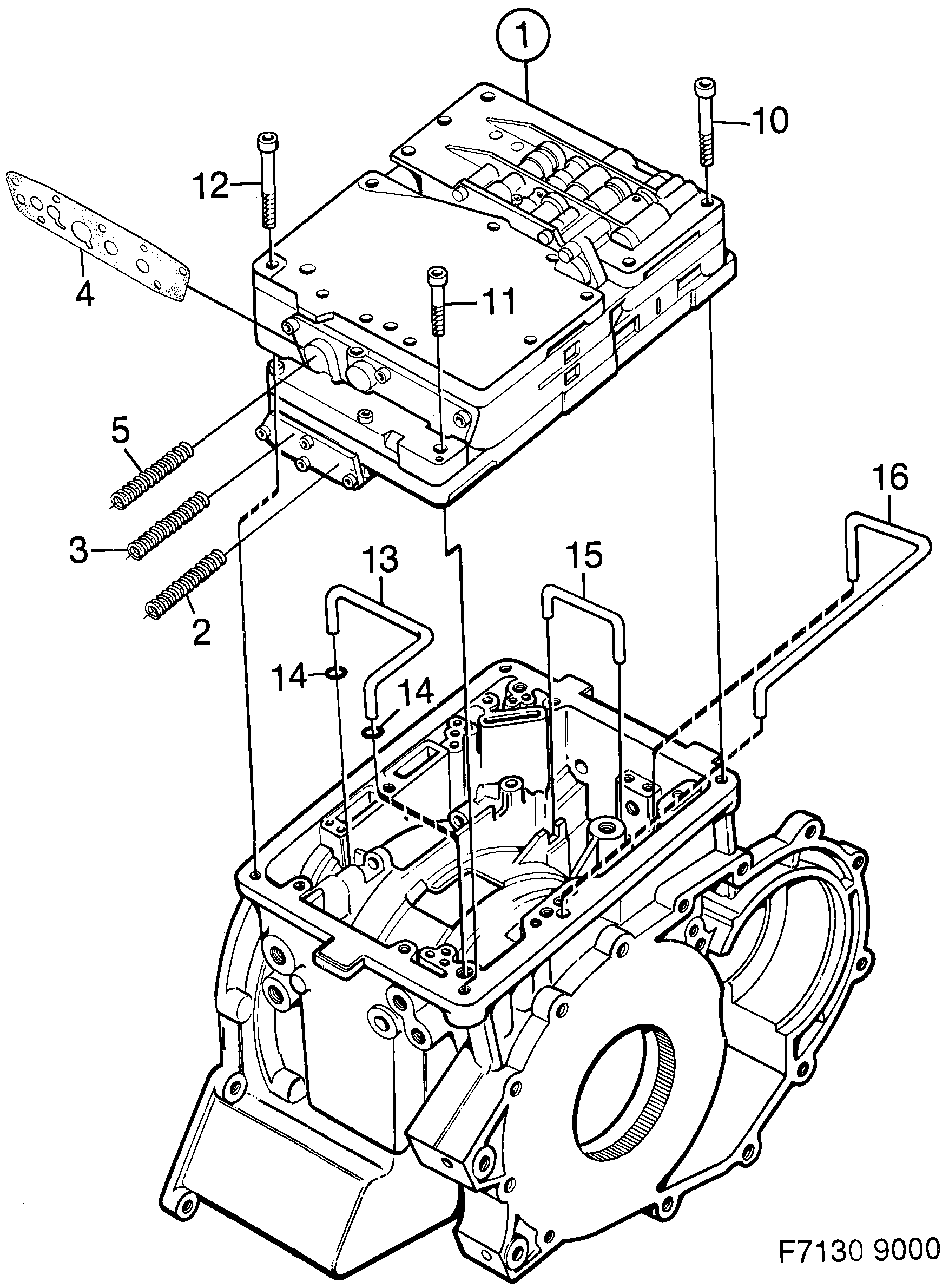
| Поз. | Номер | Кол-во | |
|---|---|---|---|
| 1 | 7592058 Узел управления GAT 4102 | 1 | |
| 1 | 7597917 Узел управления GA 74301,74302 (7592579,7597891) | 1 | |
| 1 | 4026704 Узел управления GA 74303 | 1 | |
| 1 | 7597909 Узел управления GA 64101,64102 (7592652,7597883) | 1 | |
| 1 | 4026829 Узел управления GA 64103 | 1 | |
| 2 | 7577166 Пружина задний | 1 | |
| 3 | 4478046 Пружина впереди | 1 | |
| 4 | 4477386 Прокладка | 1 | |
| 5 | 7558141 Пружина См. СИ 440-1542 | 1 | |
| 5 | 7575251 Пружина См. СИ 440-1542 | 1 | |
| 11 | 7557754 Винт | 1 | |
| 14 | 7571482 О-образное кольцо -2007 | TURBO | 2 | |
| 15 | 7570294 Труба | 1 | |
| 16 | 7570310 Труба | 1 | |
7496094 Комплект прокладок Ступень 1-2 | X | ||
7496102 Комплект прокладок Ступень 3 | X |