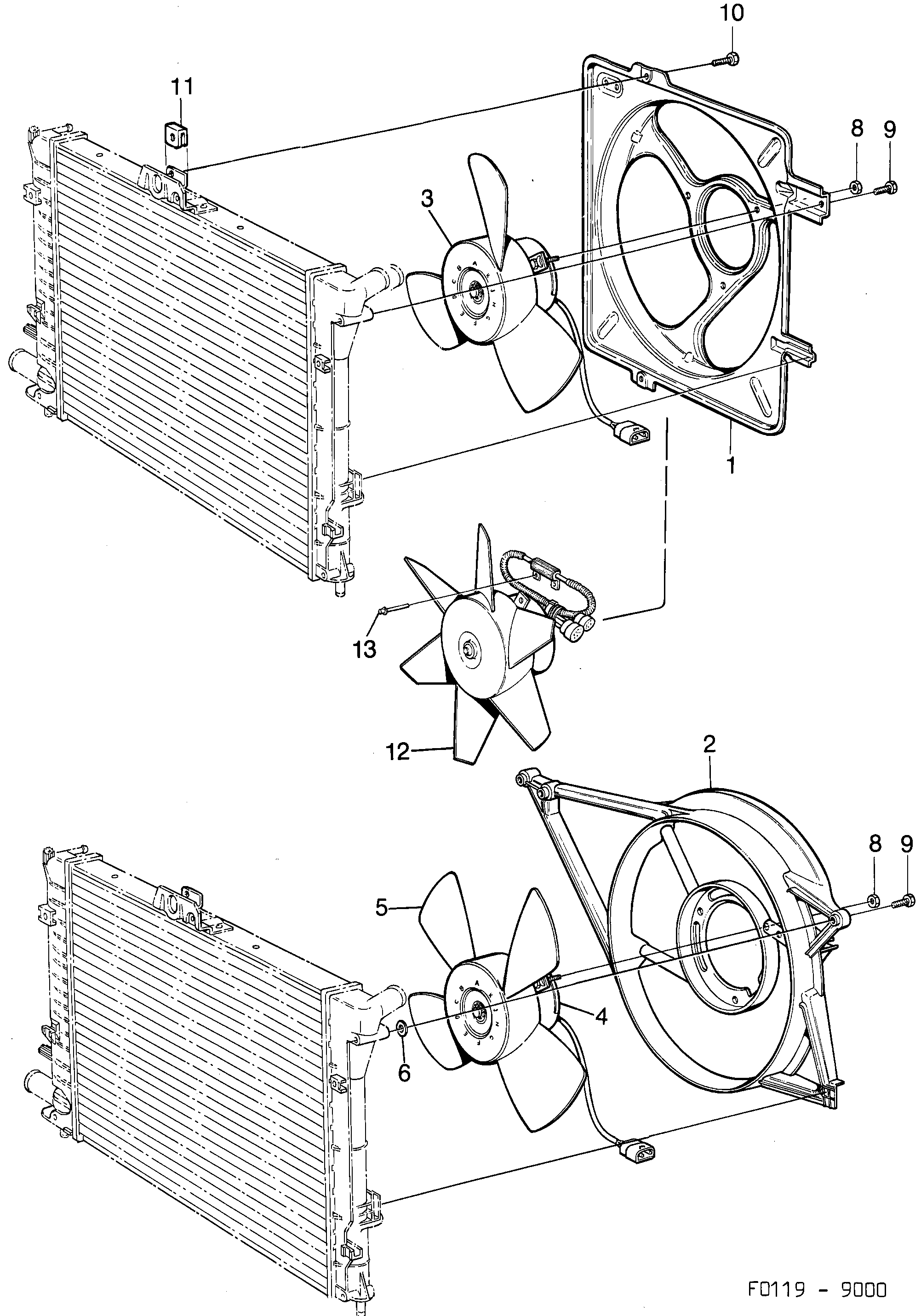
1300: Двигатель - Система охлаждения - Вентилятор, и т.д.
(1985 - 1989 | I) | Для 9000 (1986)

| Поз. | Номер | Кол-во | |
|---|---|---|---|
| 1 | 7592918 Кожух вентилятора металлический лист | (7552029) | 1 | |
| 2 | 9382102 4237061 Кожух вентилятора пластмасса | 1 | |
| 3 | 9382144 Узел вентилятора Мотор вентилятора и лопасти вентилятора имеются только в качестве комплектного узла заводской сборки. | AC | 1 | |
| 4 | 9382110 Мотор вентилятора Мотор вентилятора и лопасти вентилятора имеются только в качестве комплектного узла заводской сборки. | 1 | |
| 5 | 7541725 Вентилятор Не имеется как отдельная запчасть. Мотор вентилятора и лопасти вентилятора имеются только в качестве комплектного узла заводской сборки. | 1 | |
| 6 | 7541733 Зажим Мотор вентилятора и лопасти вентилятора имеются только в качестве комплектного узла заводской сборки. | 1 | |
| 8 | 7971658 11900428 Гайка -1987 | 3 | |
| 9 | 7971823 Винт | 1 | |
| 10 | 7922800 Винт | 2 | |
| 11 | 7972573 92150164 Зажимная гайка 1985-1987 | 2 |