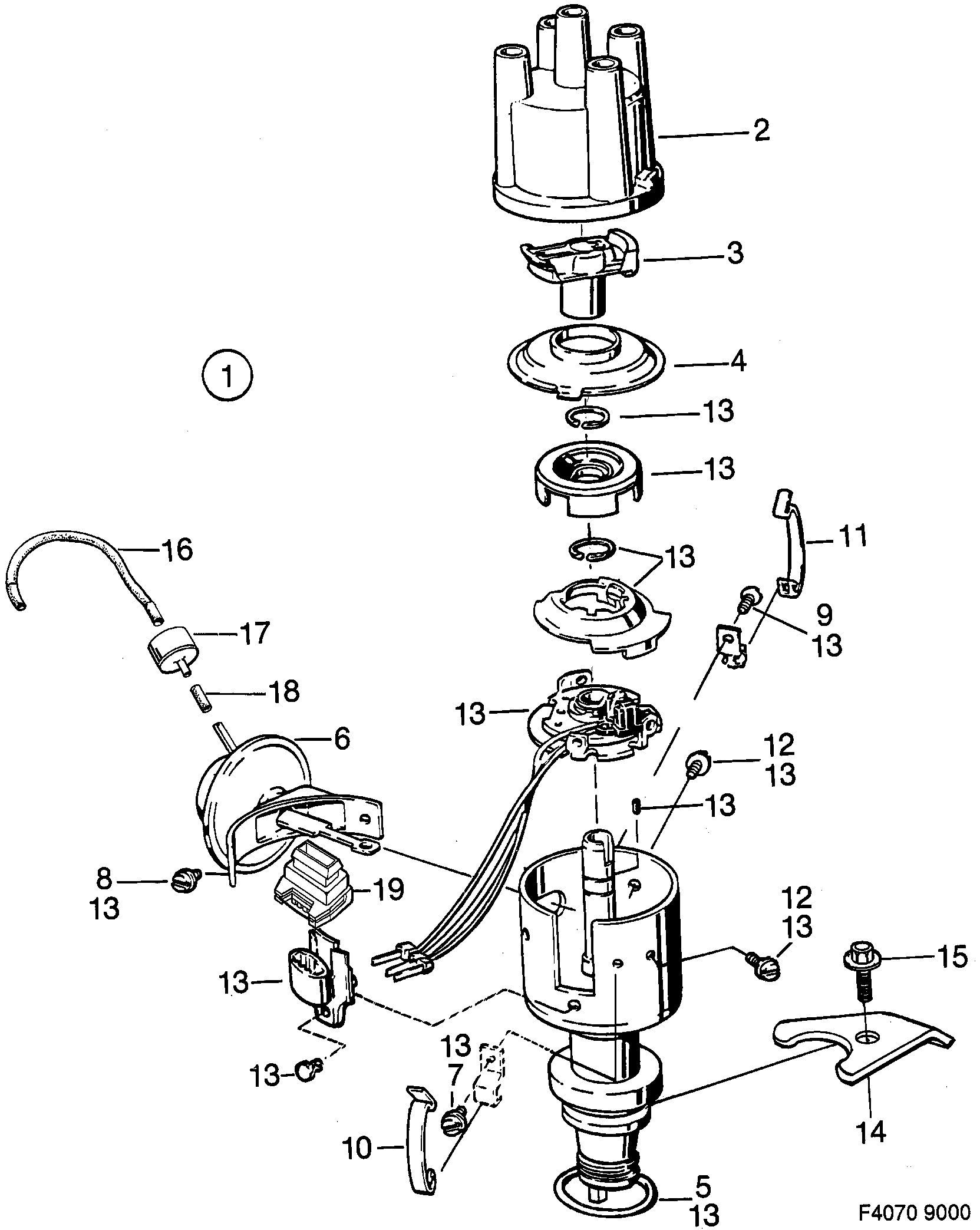
340: Электрика, общие данные - Система зажигания - Распределитель зажигания
(1986 - 1989 | TURBO) | Для 9000 (1987)

| Поз. | Номер | Кол-во | |||
|---|---|---|---|---|---|
| 1 | 7561806 8593907 Распределитель зажигания 1986-1987, LHD | 1 | |||
| 1 | 7561806 8593907 Распределитель зажигания 1987-1989 | 1 | |||
| 2 | 7501216 Крышка распределителя | 1 | |||
| 3 | 7564420 Ротор Для распределителя 75 61 806. Для распределителя 75 61 814. | 1 | |||
| 4 | 7519135 Крышка Для распределителя 75 61 806. Для распределителя 75 61 814. | 1 | |||
| 5 | 7519143 9176470 О-образное кольцо | 1 | |||
| 6 | 7564438 Регулятор Для распределителя 75 61 806. Для распределителя 74 81 393. | 1 | |||
| 6 | 7564446 Регулятор Для распределителя 75 61 814. | 1 | |||
| 7 | 7519119 Винт Для распределителя 75 61 806. Для распределителя 75 61 814. | 1 | |||
| 7 | 7519119 Винт Для распределителя 74 81 393. | 1 | |||
| 8 | 7519127 Винт Для распределителя 75 61 806. Для распределителя 75 61 814. | 1 | |||
| 8 | 9119561 30520525 Винт Для распределителя 74 81 393. | 1 | |||
| 9 | 7519101 Винт Для распределителя 75 61 806. Для распределителя 75 61 814. | 1 | |||
| 9 | 7519127 Винт Для распределителя 74 81 393. | 1 | |||
| 10 | 7519085 Пружина Для распределителя 75 61 806. Для распределителя 75 61 814. | 1 | |||
| 10 | 7519085 Пружина Для распределителя 74 81 393. | 2 | |||
| 11 | 9309956 Пружина Для распределителя 75 61 806. Для распределителя 75 61 814. | 1 | |||
| 12 | 7519119 Винт Для распределителя 75 61 806. Для распределителя 75 61 814. | 2 | |||
| 13 | 7588312 Ремонтный комплект Для распределителя 75 61 806. Для распределителя 75 61 814. | X | |||
| 14 | 8362287 Держатель | 1 | |||
| 15 | 8082950 9166323 Винт | 1 | |||
| 16 | 9136243 Вакуумный шланг Продается длиной по 5 м | L=410 MM | 1 | |||
| 17 | 8323362 Клапан белый, 6 с | 1 | |||
| 17 | 8323362 Клапан 1986-1988, LHD | белый, 6 с | 1 | |||
| 18 | 9136243 Вакуумный шланг Продается длиной по 5 м | L=30 MM | 1 | |||
| 19 | |||||
9136243 Вакуумный шланг Продается длиной по 5 м | L=5000 MM | X | ||||