1820: Двигатель - Система охлаждения - Вентилятор, и т.д.
(1990 - 1993 | I) | Для 9000 (1990)

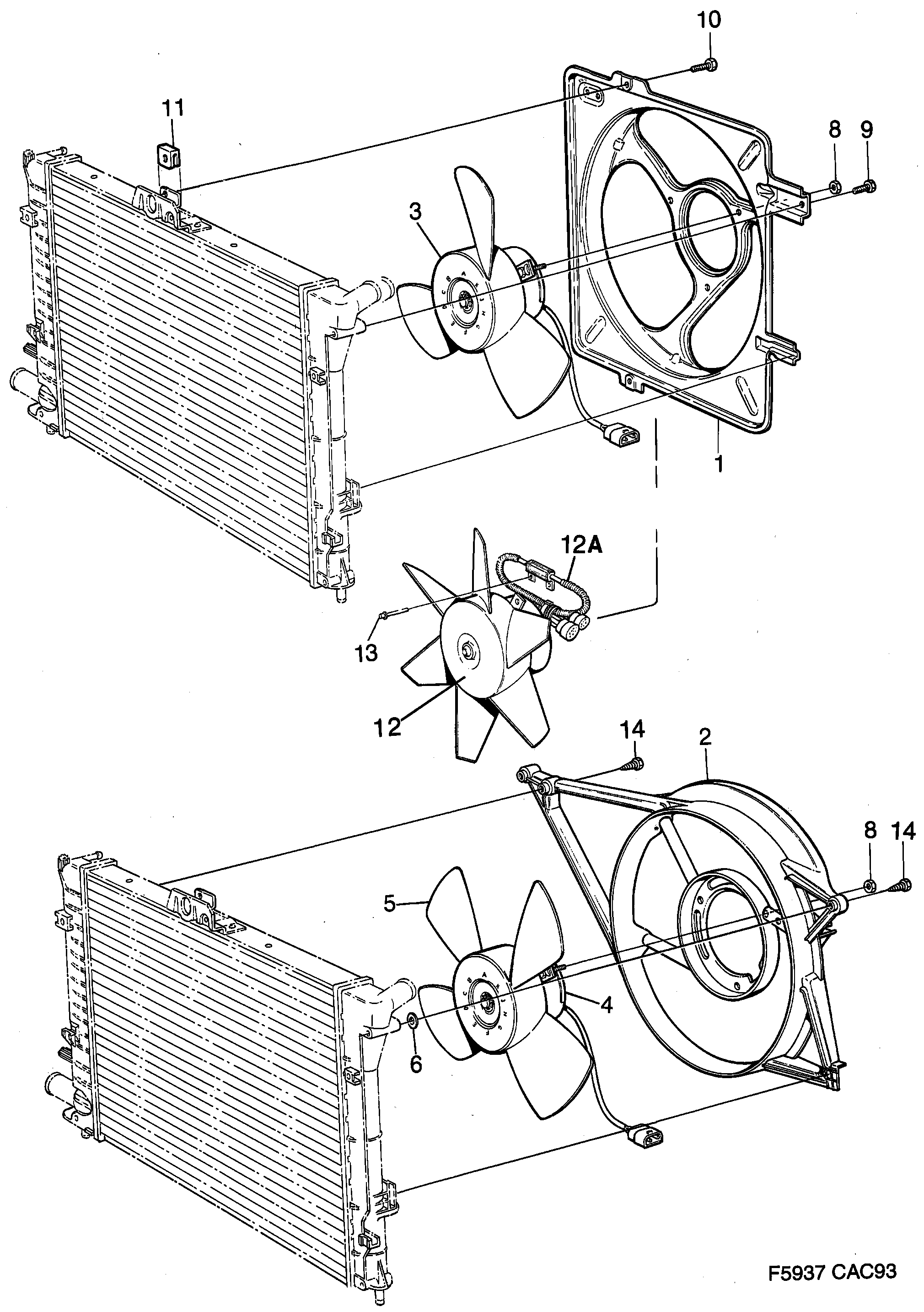
| Поз. | Номер | Кол-во | |
|---|---|---|---|
| 1 | 7592918 Кожух вентилятора металлический лист | 1 | |
| 2 | 9382102 4237061 Кожух вентилятора 1990-1993 | B202I | пластмасса | 1 | |
| 3 | 9382144 Узел вентилятора Мотор вентилятора и лопасти вентилятора имеются только в качестве комплектного узла заводской сборки. | 1 | |
| 4 | 9382110 Мотор вентилятора 1990-1993 | B202I | Для автомобилей без кондиционирования воздуха. Мотор вентилятора и лопасти вентилятора имеются только в качестве комплектного узла заводской сборки. | 1 | |
| 4 | 7598980 Узел вентилятора Для автомобилей с АС. | 1 | |
| 5 | 7541725 Вентилятор Не имеется как отдельная запчасть. Мотор вентилятора и лопасти вентилятора имеются только в качестве комплектного узла заводской сборки. | 1 | |
| 6 | 7541733 Зажим Мотор вентилятора и лопасти вентилятора имеются только в качестве комплектного узла заводской сборки. | 1 | |
| 8 | 7974298 92153044 Гайка | 3 | |
| 9 | 7971823 Винт | 1 | |
| 10 | 7922800 Винт | 2 | |
| 11 | 9427014 Зажимная гайка | 2 | |
| 12 | 7592819 Узел вентилятора -1993 | Двухступенчатый. | 1 | |
| 12A | 4395034 Кабельная сеть | 1 | |
| 13 | 7972045 Заклепка 1990-1991 | 2 | |
| 14 | 7973597 Винт 1990- | B202I | 2 |