1970: Двигатель - Система охлаждения - Воздушный охладитель масла - Автоматическая коробка передач
(1990 - 1993) | Для 9000 (1990)

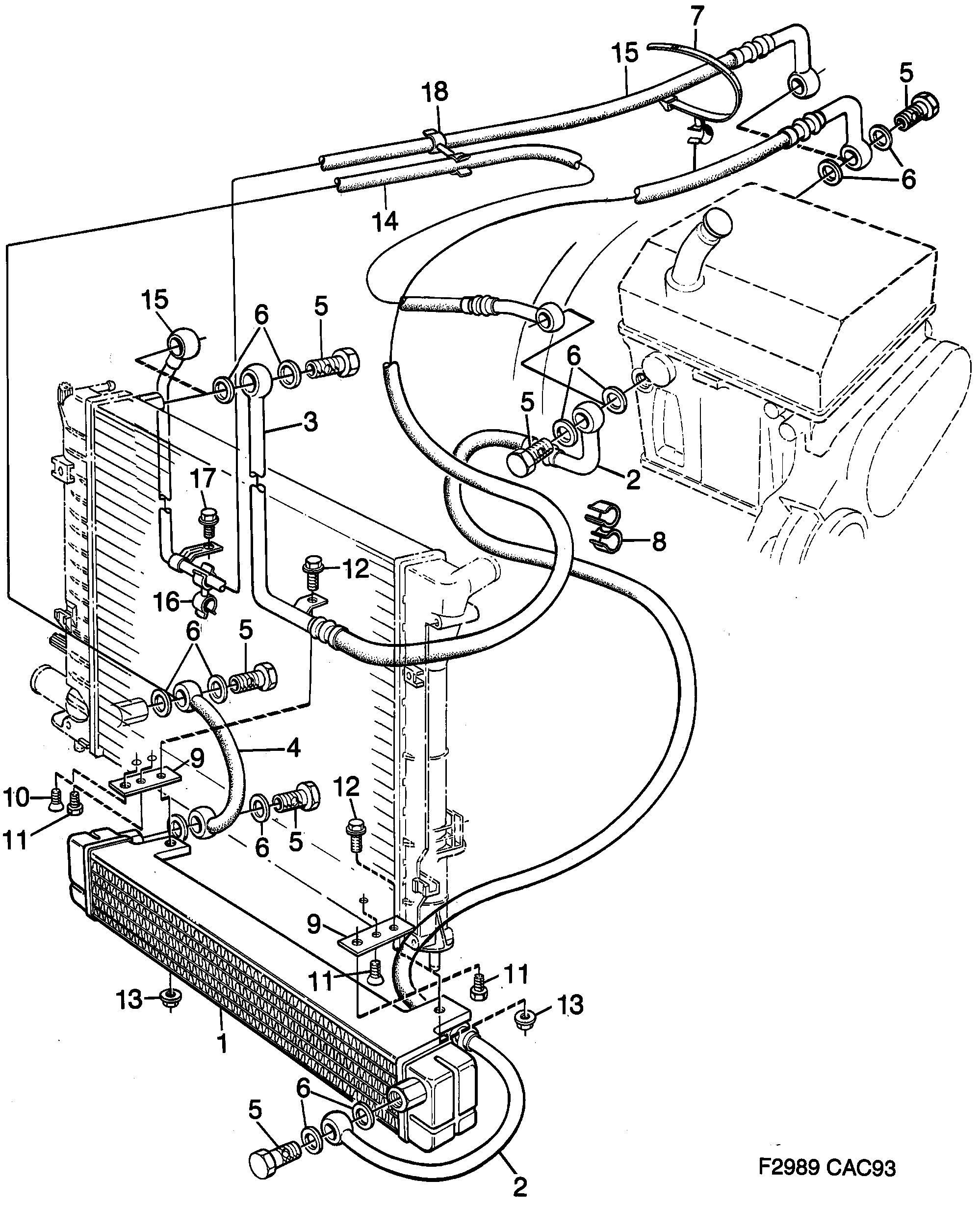
| Поз. | Номер | Кол-во | |
|---|---|---|---|
| 1 | 7598311 Маслоохладитель | 1 | |
| 2 | 4028890 4284279 Гидравлический шланг -1991 | 1 | |
| 3 | 4028882 Гидравлический шланг 1990-1990 | I | 1 | |
| 3 | 4028882 Гидравлический шланг 1990-1990 | TURBO | 1 | |
| 3 | 4028874 Гидравлический шланг 1990-1990 | TURBO | AC | 1 | |
| 4 | 7570823 Гидравлический шланг 1990-1990 | I | 1 | |
| 4 | 7570823 Гидравлический шланг 1990-1990 | TURBO | 1 | |
| 4 | 7559537 Гидравлический шланг 1990-1990 | TURBO | AC | 1 | |
| 5 | 9301532 12773569 Банджо-винт -1992 | 6 | |
| 6 | 8981961 4161162 Уплотнение 1990-1992 | 12 | |
| 7 | 7593221 30507607 Хомут | 1 | |
| 8 | 7398464 Зажим | 1 | |
| 9 | 7570757 Консоль -1992 | 2 | |
| 10 | 7399611 Винт -1992 | 2 | |
| 11 | 7399603 Винт -1992 | 2 | |
| 12 | 7965544 Винт | 2 | |
| 13 | 7974298 92153044 Гайка -1992 | 2 | |
| 14 | 4029344 Гидравлический шланг 1990-1990 | B202I | Для автомобилей без воздушного маслоохладителя. | 1 | |
| 14 | 4029344 Гидравлический шланг 1990-1990 | TURBO | Для автомобилей без воздушного маслоохладителя. | 1 | |
| 14 | 4029336 Гидравлический шланг 1990-1990 | TURBO | Для автомобилей без воздушного маслоохладителя. | AC | 1 | |
| 15 | 4029310 Гидравлический шланг 1990-1990 | B202I | Для автомобилей без воздушного маслоохладителя. | 1 | |
| 15 | 4029310 Гидравлический шланг 1990-1990 | TURBO | Для автомобилей без воздушного маслоохладителя. | 1 | |
| 15 | 4029328 Гидравлический шланг 1990-1990 | TURBO | Для автомобилей без воздушного маслоохладителя. | AC | 1 | |
| 16 | 7559768 92152223 Зажим Для автомобилей без воздушного маслоохладителя. | 2 | |
| 17 | 7969223 Винт -1992 | Для автомобилей без воздушного маслоохладителя. | 1 | |
| 18 | 7398464 Зажим Для автомобилей без воздушного маслоохладителя. | 1 | |
4028858 Комплект маслоохладителя 1990-1990 | TURBO | WITH AC | 1 | ||
4028866 Комплект маслоохладителя TURBO, I | WITHOUT AC | 1 |