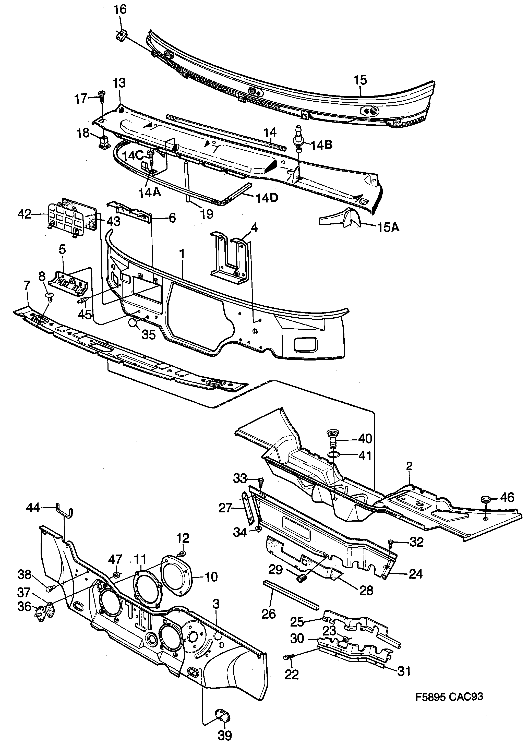
230: Кузов, снаружи - Кузов - Панель торпеды
(1990 - 1993) | Для 9000 (1990)

| Поз. | Номер | Кол-во | |
|---|---|---|---|
| 1 | 9265760 Панель торпеды 1990-1991 | Задний. | 1 | |
| 2 | 4005088 Панель торпеды 1990-1991 | Передний. | 1 | |
| 3 | 4005070 Панель торпеды 1990-1991 | 1 | |
| 4 | 4008314 Консоль 1990-1991 | LH | 1 | |
| 5 | 9265786 Консоль RH | 1 | |
| 6 | 9265794 Консоль UPPER RH | 1 | |
| 7 | 4005062 Накладная пластина | 1 | |
| 8 | 9276353 Пробка | 6 | |
| 10 | 8956294 Крышка | 1 | |
| 11 | 8956245 Уплотнение | 1 | |
| 12 | 7971294 Винт | 4 | |
| 13 | 9630047 Крышка 1990-1991 | 1 | |
| 13 | 9630690 30541960 Крышка 1990-1991 | AC/ACC | 1 | |
| 14 | 9630674 Уплотнение 1990-1991 | 1 | |
| 14A | 4070785 Бюгель | 1 | |
| 14B | 4094199 Соединительная деталь | 1 | |
| 14C | 7982192 Винт | 1 | |
| 14D | 4073110 Уплотнение | 1 | |
| 15 | 9630021 Защита | 1 | |
| 15 | 4074332 Защита | 1 | |
| 15A | 4074696 Защита LH | 1 | |
| 15A | 4074688 Защита RH | 1 | |
| 16 | 9427014 Зажимная гайка | 5 | |
| 17 | 7978638 92151885 Винт | 7 | |
| 18 | 7977341 Нажимная гайка | 3 | |
| 22 | 8286296 Винт 1990-1991 | 4 | |
| 23 | 7967995 Зажимная гайка 1990-1991 | 1 | |
| 24 | 4008306 Панель торпеды 1990-1990 | REMOVABLE | 1 | |
| 24 | 9272204 Панель торпеды 1990-1990 | REMOVABLE | 1 | |
| 25 | 9270349 Уплотнение 1990-1991 | 1 | |
| 26 | 9271297 Уплотнение 1990-1991 | 1 | |
| 27 | 9279464 Уплотнение 1990-1991 | LH | 1 | |
| 27 | 9279456 Уплотнение 1990-1991 | RH | 1 | |
| 30 | 9270380 Направляющая 1990-1991 | 1 | |
| 31 | 9270398 Уплотнение 1990-1991 | 1 | |
| 32 | 7975337 92151996 Винт 1990-1991 | 1 | |
| 33 | 7979610 92153215 Винт 1990-1991 | 1 | |
| 34 | 7974538 Гайка корзины 1990-1991 | 1 | |
| 35 | 8929531 Уплотнительная шайба | 1 | |
| 36 | 8971582 Плита | 1 | |
| 37 | 8941478 Прокладка | 1 | |
| 38 | 8209009 9388588 Буффер | 2 | |
| 39 | 9267816 Крышка | 2 | |
| 40 | 6955561 Дренажная труба | 2 | |
| 41 | 9288127 Лента | X | |
| 42 | 9628124 Люк, крышка -1991 | 1 | |
| 43 | 9627746 Уплотнение | 1 | |
| 44 | 9625641 Уплотнение 1990-1991 | CARS WITHOUT AC | 1 | |
| 45 | 7399454 9130829 Заклепочная гайка | 1 | |
| 46 | 7162308 Пробка ABS | 1 | |
| 47 | 7965767 55557005 Гайка замка | 2 | |
8283715 Лента 8283715= 3M | X |