1040: Двигатель - Топливная система - ELCD
(1992 - 1993) | Для 9000 (1992)

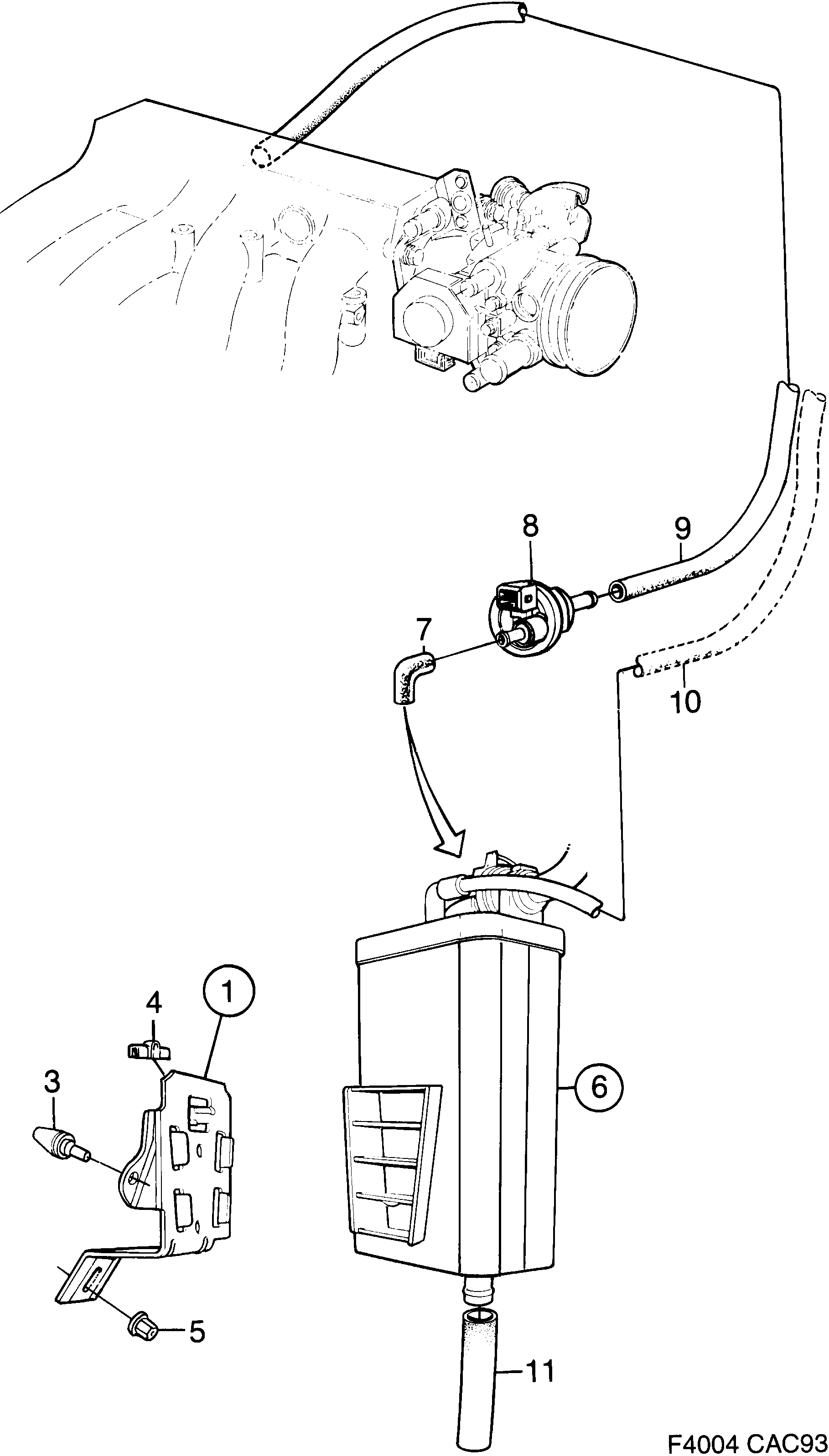
| Поз. | Номер | Кол-во | |||
|---|---|---|---|---|---|
| 1 | 4162319 Крепление | 1 | |||
4161378 Крепление Не имеется как отдельная запчасть. | 1 | ||||
| 3 | 4162046 Резиновый амортизатор | 2 | |||
| 4 | 4162152 Защита от истирания | 1 | |||
| 5 | 4087128 92152035 Пластмассовая гайка | 1 | |||
| 6 | 4161451 Угольный фильтр | 1 | |||
| 7 | 7539240 Шланг | 1 | |||
| 8 | 7539257 Клапан проветривания | 1 | |||
| 9 | 7591837 Шланг B202 | 1 | |||
| 9 | 4017786 Шланг B234I | 1 | |||
| 9 | 4024485 Шланг 1992-1992 | B234TURBO | 1 | |||
| 10 | |||||
| 11 | 4162343 Дренажный шлаг | 1 | |||