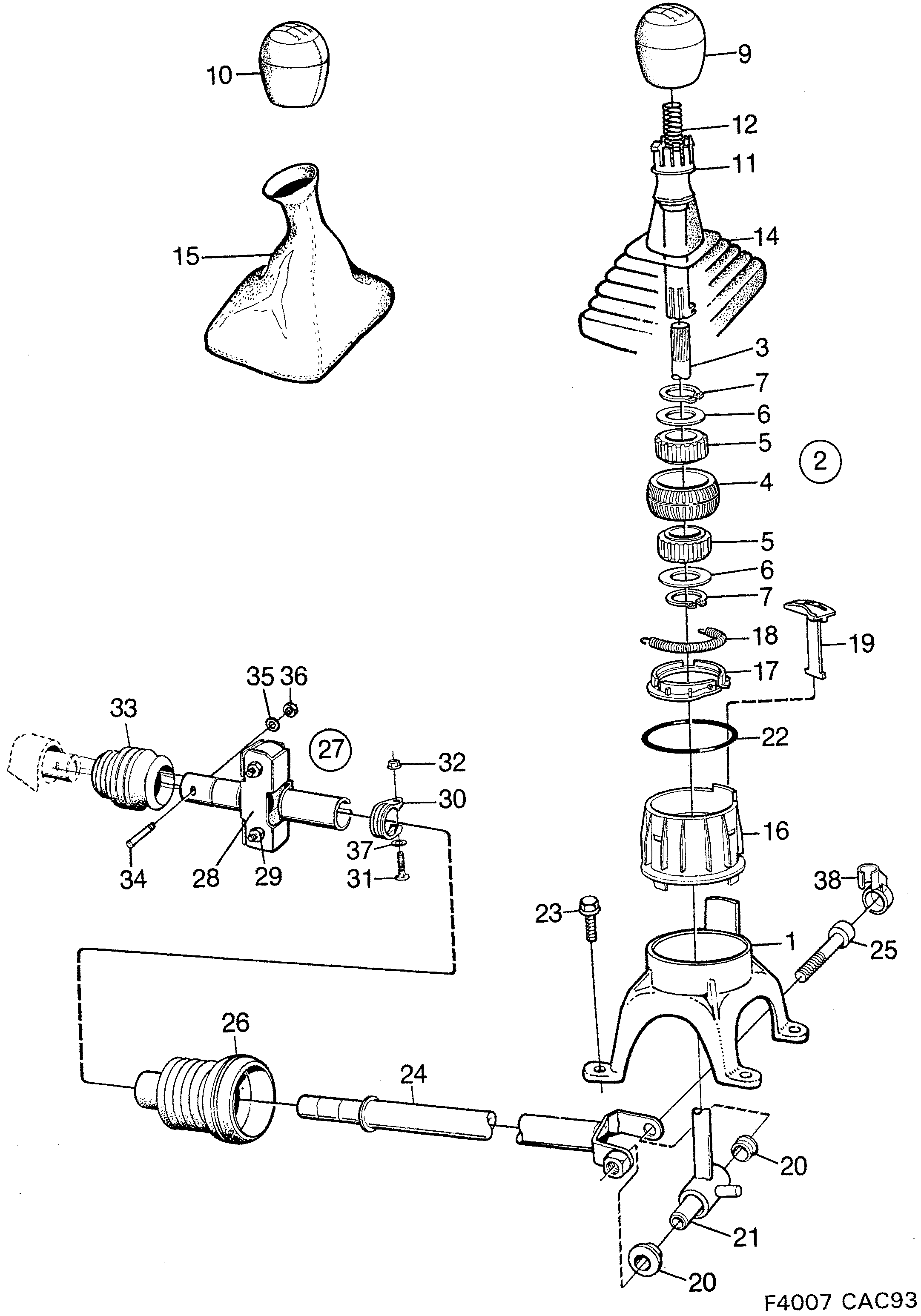
440: Силовая передача - Маневрирование коробкой передач, ручная - Рычаг переключения передач
(1992 - 1993 | M) | Для 9000 (1993)

| Поз. | Номер | Кол-во | |
|---|---|---|---|
| 1 | 4279535 Кожух рычага переключения передач | 1 | |
| 2 | 4384434 Рычаг переключения передач LHD | 1 | |
| 2 | 4384442 Рычаг переключения передач RHD | 1 | |
| 2 | 4384459 Рычаг переключения передач кожа | 1 | |
| 3 | 4027918 Рычаг переключения передач | 1 | |
| 4 | 4027876 Шарик | 1 | |
| 5 | 4027892 Втулка, вкладыш | 2 | |
| 6 | 4121588 Шайба | 2 | |
| 7 | 8047706 Кольцо шарикоподшипника | 2 | |
| 9 | 4027934 5333331 Кнопка | 1 | |
| 10 | 4279303 5333349 Кнопка кожа | 1 | |
| 11 | 4027868 Поводок | 1 | |
| 12 | 4027959 4477204 Пружина | 1 | |
| 14 | 7599442 Манжета LHD | 1 | |
| 14 | 7599434 Манжета RHD | 1 | |
| 15 | 7598337 Манжета кожа | 1 | |
| 16 | 4027835 4477824 Сферический вкладыш | 1 | |
| 17 | 4027850 Сферический вкладыш | 1 | |
| 18 | 4027942 Пружина | 1 | |
| 19 | 4027843 Блокировка задней передачи | 1 | |
| 20 | 7559875 Втулка, вкладыш | 2 | |
| 21 | 7577729 55562625 Прокладка | 1 | |
| 22 | 7967912 О-образное кольцо | 1 | |
| 23 | 7965544 Винт | 4 | |
| 24 | 4118626 Шток вилки переключения передач | 1 | |
| 25 | 7554553 92151758 Винт | 1 | |
| 26 | 7599400 Манжета | 1 | |
| 27 | 7599178 4477147 Узел | 1 | |
| 28 | 7576416 Узел | 1 | |
| 29 | 8073512 92150265 Гайка замка | 4 | |
| 30 | 9348533 55562614 Зажим | 1 | |
| 31 | 7541907 55562616 Винт | 1 | |
| 32 | 7975501 11066386 Гайка | 1 | |
| 33 | 4029575 Сильфон | 1 | |
| 34 | 8375172 Штифт | 1 | |
| 35 | 8029944 Шайба | 1 | |
| 36 | 8335002 8074270 Гайка | 1 | |
| 37 | 9166372 32000432 Шайба 1993-1993 | 1 | |
| 38 | 4118659 4775821 Колпак | 1 |