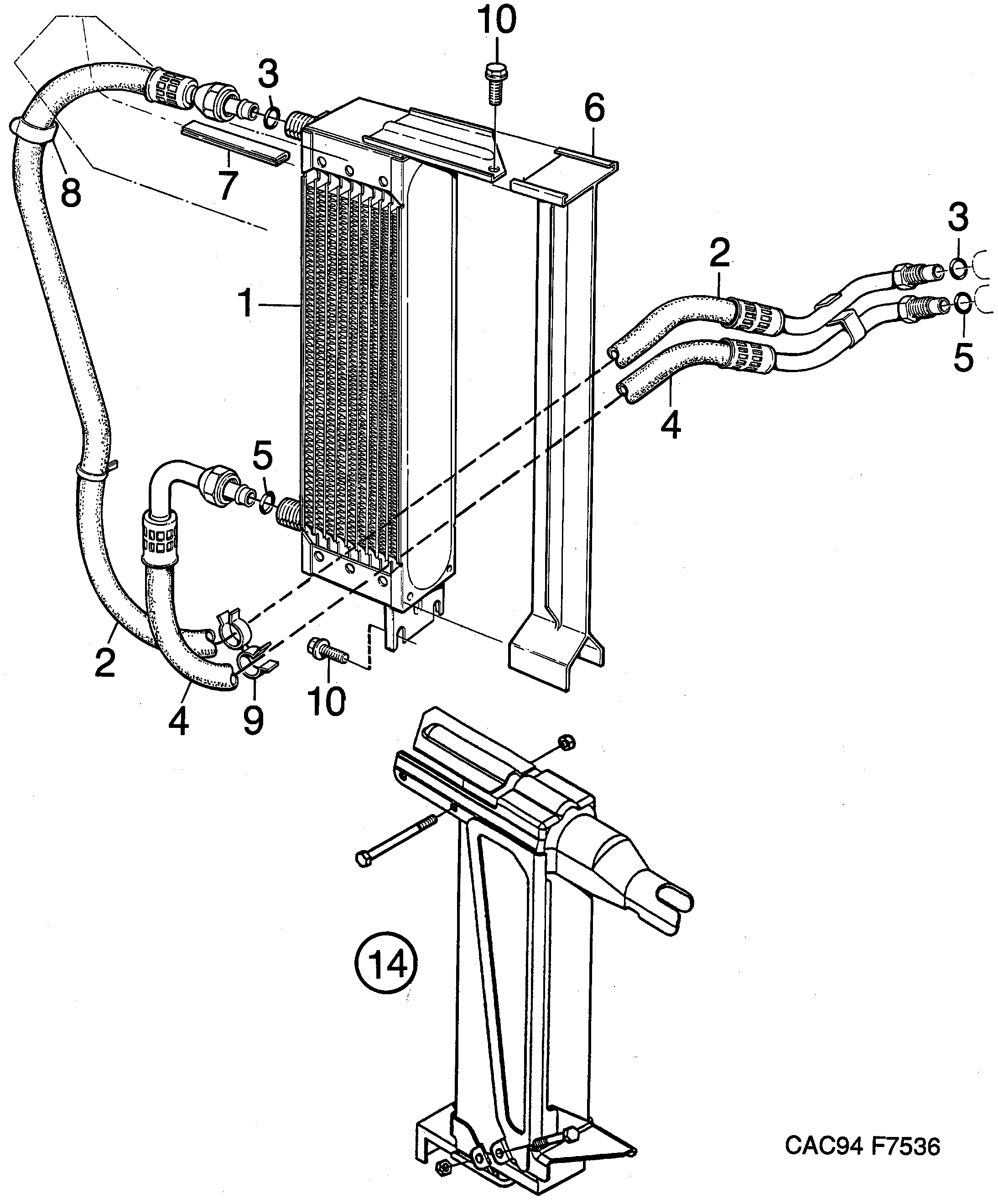
1920: Двигатель - Система охлаждения - Воздушный охладитель масла - Двигатель
(1994 - 1998 | B204E, B204I, B204L, B204S, B234E, B234I, B234L, B234R) | Для 9000 (1997)

| Поз. | Номер | Кол-во | |
|---|---|---|---|
| 1 | 4029625 Маслоохладитель I | 1 | |
| 1 | 7596018 4725867 Маслоохладитель 1995-1997 | I | Для тропического рынка; ME, LA, AU, HK, SG, TH, CY | 1 | |
| 1 | 7596018 4725867 Маслоохладитель 1994-1997 | TURBO | 1 | |
| 2 | 4395877 Шланг | 1 | |
| 3 | 7977598 30509305 О-образное кольцо | 2 | |
| 4 | 4358453 Шланг | 1 | |
| 5 | 7977598 30509305 О-образное кольцо | 2 | |
| 6 | 7596604 Накладная пластина | 1 | |
| 7 | 4867016 Планка защиты края 1997-1998 | Название вещества Di-(2-ethylhexyl)phthalat Указание по безопасности использования: При правильном применении и надлежащей утилизации не представляет опасности для здоровья и окружающей среды. | 1 | |
| 8 | 7398894 Зажим | 1 | |
| 9 | 4028569 Зажим | 1 | |
| 10 | 7971823 Винт | 3 | |
| 14 | 4396347 Защитный колпак комплект | SEE SI 261-1547 | 1 |