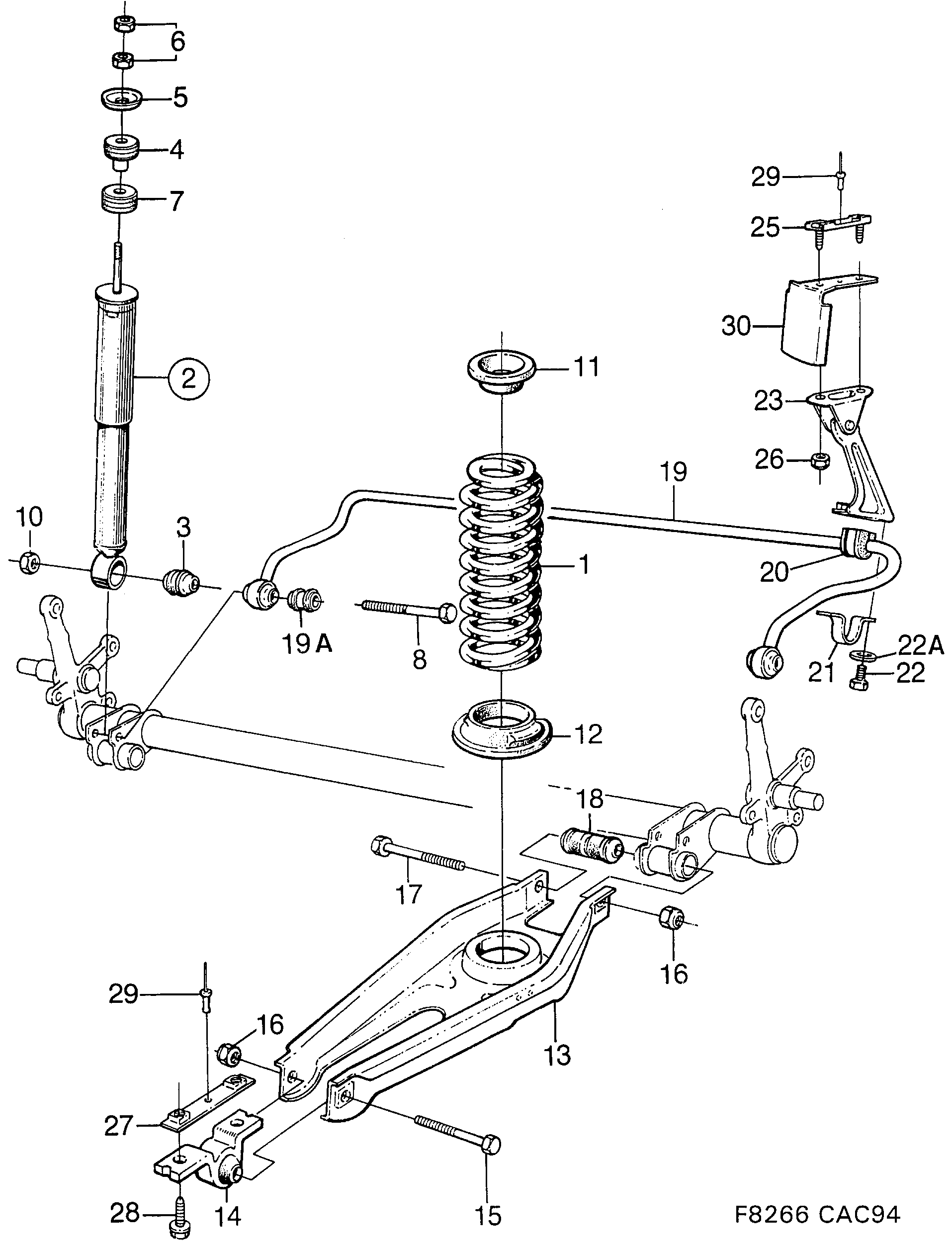
240: Система подвески - Задняя подвеска
(1997 - 1998) | Для 9000 (1997)

| Поз. | Номер | Кол-во | |
|---|---|---|---|
| 1 | 4193561 Пружина красный/серый | CODE=BA | 2 | |
| 1 | 4193603 Пружина желтый/желтый | CODE=BB | 2 | |
| 1 | 4193611 Пружина желтый/синий | CODE=BH | 2 | |
| 1 | 4193629 Пружина желтый/белый | CODE = BC | 2 | |
| 1 | 4193637 Пружина желтый/зеленый | CODE=BD | 2 | |
| 2 | 4645008 Комплект амортизатора красный | CODE=A | 2 | |
| 2 | 4645016 Комплект амортизатора желтый | CODE=B | 2 | |
| 2 | 4647095 Комплект амортизатора серый | CODE=C | 2 | |
| 3 | 8952749 Втулка подшипника | 2 | |
| 4 | 4197422 Резиновая втулка | 2 | |
| 5 | 8959934 Шайба | 2 | |
| 6 | 7979511 30509371 Гайка | 4 | |
| 7 | 4106266 Резиновая втулка | 2 | |
| 8 | 7985054 Шестигранный винт | 2 | |
| 10 | 8151482 Гайка замка | 2 | |
| 11 | 8952285 30519187 Изолятор пружины | 2 | |
| 12 | 8950438 Изолятор пружины | 2 | |
| 13 | 8970782 Серьга рессоры | 2 | |
| 14 | 8957714 Крепление подшипника | 2 | |
| 15 | 7982028 Винт | 2 | |
| 16 | 8151474 92153199 Гайка замка | 8 | |
| 17 | 7982036 Винт | 2 | |
| 18 | 8951063 Втулка, вкладыш | 2 | |
| 19 | 4105730 93169245 Стабилизатор поперечной устойчивости CODE=C | 1 | |
| 19 | 8961765 Стабилизатор поперечной устойчивости CODE=D | 1 | |
| 19A | 8962011 8952749 Втулка подшипника | 2 | |
| 20 | 4425583 Резиновая втулка | 2 | |
| 20 | 4425575 Резиновая втулка | 2 | |
| 21 | 8952137 Бюгель | 2 | |
| 22 | 7976897 11900016 Винт | 4 | |
| 22A | 8380982 Шайба | 4 | |
| 23 | 4193132 Шарнир LH | 1 | |
| 23 | 4193140 Шарнир RH | 1 | |
| 25 | 8961625 Крепежная пластина | 2 | |
| 26 | 7971922 92150143 Гайка | 4 | |
| 27 | 8958498 30519311 Гайка | 2 | |
| 28 | 7976905 Винт | 4 | |
| 29 | 7961642 Заклепка | 2 | |
| 30 | 8969214 Защитная плита | 1 |