900: Кузов, снаружи - Внешние детали - Декор
(1994 - 1998 | 5CS) | Для 9000 (1997)

| Поз. | Номер | Кол-во | |||
|---|---|---|---|---|---|
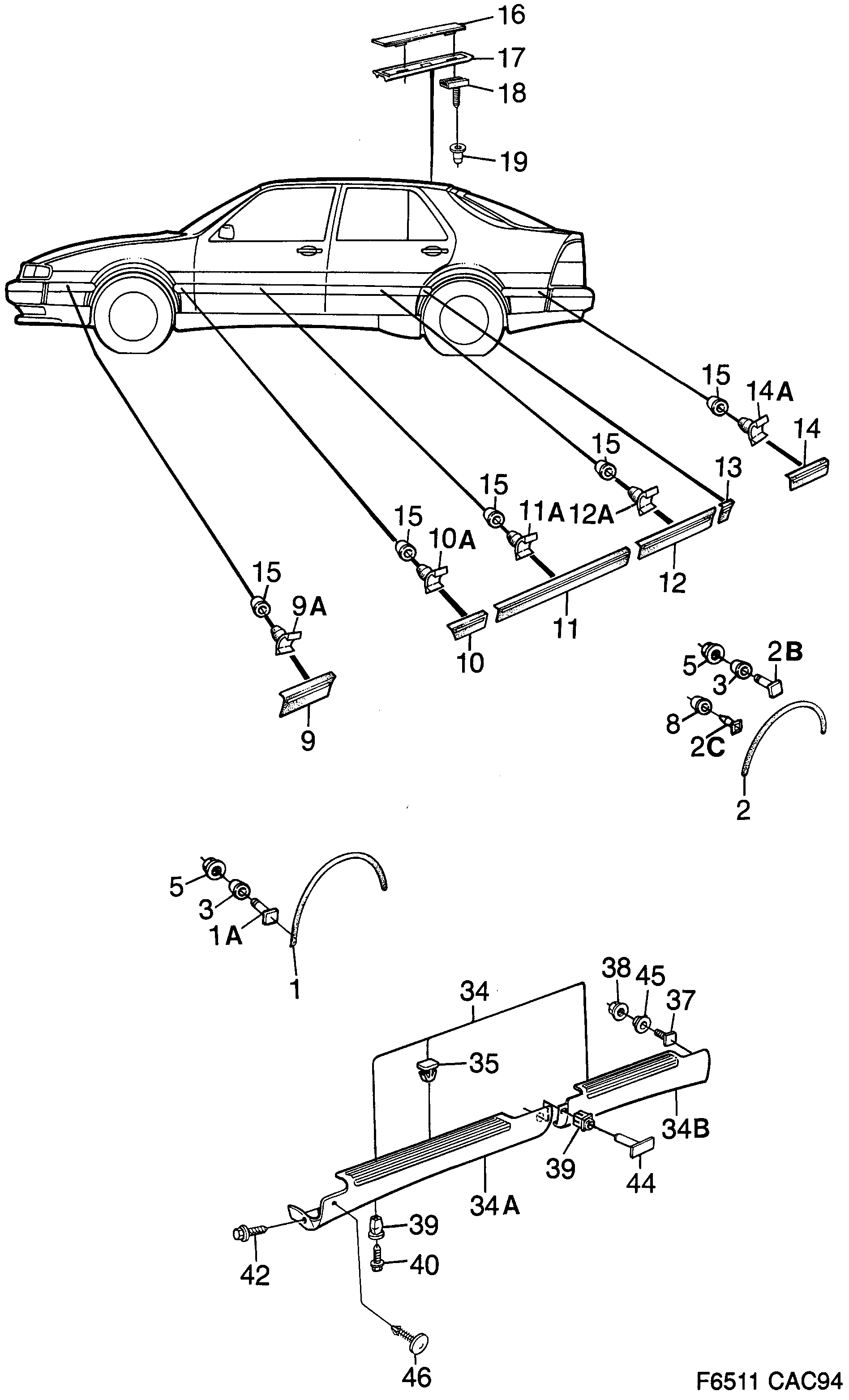
| 1 | 9089632 Декоративная отделка колесной ниши LH | 1 | |||
| 1 | 9089624 Декоративная отделка колесной ниши RH | 1 | |||
| 1A | 7399470 Винт | 7 | |||
| 1 | |||||
| 2 | 9089657 Декоративная отделка колесной ниши LH | 1 | |||
| 2 | 9089640 Декоративная отделка колесной ниши RH | 1 | |||
| 2B | 7399470 Винт | 2 | |||
| 2C | 9253329 Зажим | 4 | |||
| 2 | |||||
| 3 | 9278151 30521853 Втулка, вкладыш | 14 | |||
| 5 | 7399488 Гайка | 22 | |||
| 8 | 7373269 Втулка, вкладыш | X | |||
| 9 | 9088550 Декоративная планка LH | 1 | |||
| 9 | 9088543 Декоративная планка RH | 1 | |||
| 9A | 9083312 Зажим | 3 | |||
| 10 | 9083254 Декоративная планка LH | 1 | |||
| 10 | 9083247 Декоративная планка RH | 1 | |||
| 10 | 4341830 Декоративная планка Касается также Юбилейной модели, 50 лет. | LH | 1 | |||
| 10 | 4341848 Декоративная планка Касается также Юбилейной модели, 50 лет. | RH | 1 | |||
| 10A | 9083312 Зажим | 2 | |||
| 11 | 9083098 Декоративная планка LH | 1 | |||
| 11 | 9083080 Декоративная планка RH | 1 | |||
| 11 | 4341855 Декоративная планка Касается также Юбилейной модели, 50 лет. | LH | 1 | |||
| 11 | 4341863 Декоративная планка Касается также Юбилейной модели, 50 лет. | RH | 1 | |||
| 11A | 9083312 Зажим | 7 | |||
| 12 | 9083130 Декоративная планка LH | 1 | |||
| 12 | 9083122 Декоративная планка RH | 1 | |||
| 12 | 4341871 Декоративная планка Касается также Юбилейной модели, 50 лет. | LH | 1 | |||
| 12 | 4341889 Декоративная планка Касается также Юбилейной модели, 50 лет. | RH | 1 | |||
| 12A | 9083312 Зажим | 5 | |||
| 13 | 9083213 Декоративная планка LH | 1 | |||
| 13 | 9083205 Декоративная планка RH | 1 | |||
| 13 | 4341897 Декоративная планка Касается также Юбилейной модели, 50 лет. | LH | 1 | |||
| 13 | 4341905 Декоративная планка Касается также Юбилейной модели, 50 лет. | RH | 1 | |||
| 14 | 9083171 Декоративная планка LH | 1 | |||
| 14 | 9083163 Декоративная планка RH | 1 | |||
| 14A | 9083312 Зажим | 5 | |||
| 15 | 7373269 Втулка, вкладыш | 44 | |||
| 16 | 4674032 Декор 1995-1998 | LH | 1 | |||
| 16 | 4674024 Декор 1995-1998 | RH | 1 | |||
| 17 | 4380416 Декоративная планка LH | 1 | |||
| 17 | 4380424 Декоративная планка RH | 1 | |||
| 18 | 9087560 Зажим | 6 | |||
| 19 | 4096616 Втулка, вкладыш | 6 | |||
| 34 | 8284705 Комплект LH | 1 | |||
| 34A | 6962138 Защита порога | 1 | |||
| 34B | 6962153 Защита порога | 1 | |||
| 35 | 4102000 Зажим | 7 | |||
| 34 | 8284713 Комплект RH | 1 | |||
| 34A | 6962120 Защита порога | 1 | |||
| 34B | 6962146 Защита порога | 1 | |||
| 35 | 4102000 Зажим | 7 | |||
| 37 | 6959464 Винт | 4 | |||
| 38 | 7399488 Гайка | 4 | |||
| 39 | 4008504 Гайка | 12 | |||
| 40 | 7982325 92153216 Винт | 10 | |||
| 42 | 7982325 92153216 Винт | 4 | |||
| 44 | 4447967 Расширяющаяся заклепка | 2 | |||
| 45 | 4089934 Втулка, вкладыш | 4 | |||
| 46 | 9668153 92152407 Зажим | 2 | |||
7496029 Монтажный комплект | 1 | ||||
7496037 Монтажный комплект | 1 | ||||