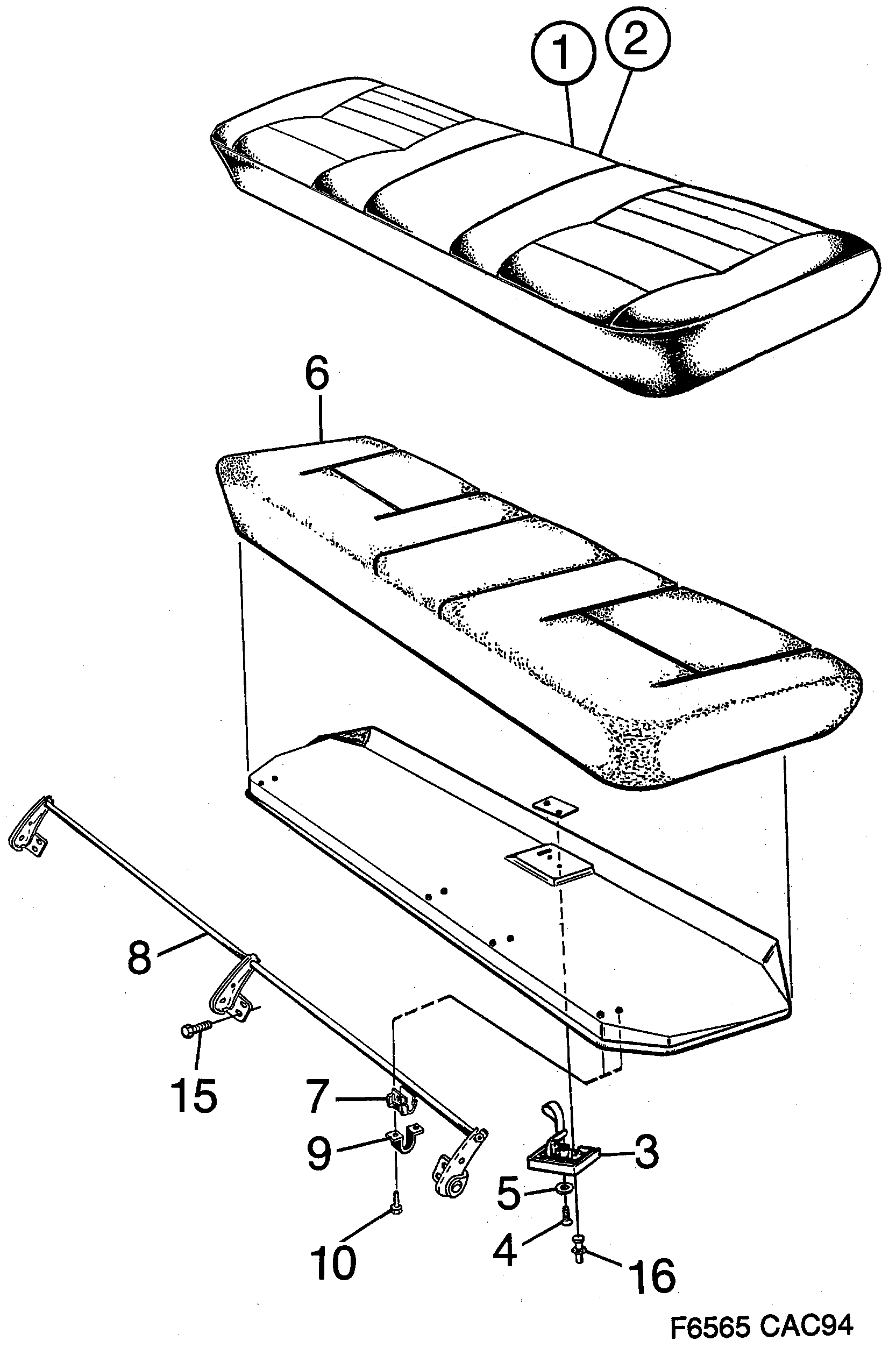
1680: Кузов, внутри - Прочее внутреннее оборудование - Заднее сидение, неподвижное - Подушка сидения
(1994 - 1997 | 4D) | Для 9000 (1997)
Шасси R1025685--; кроме автомобилей с кодом обшивки K64, J93, K93

| Поз. | Номер | Кол-во | |
|---|---|---|---|
| 2 | 4534939 Подушка сидения Для автомобилей с текстильной обивкой Подушка сидения в сборе не имеется в качестве запчасти. Для получения комплектной подушки сидения закажите следующие отдельные запчасти: подушка сидения, чехлы и монтажный набор. | 1 | |
| 2 | 4534996 Подушка сидения Для автомобилей с обивкой ''CONTUR'' Подушка сидения в сборе не имеется в качестве запчасти. Для получения комплектной подушки сидения закажите следующие отдельные запчасти: подушка сидения, чехлы и монтажный набор. | 1 | |
| 2 | 4650495 Подушка сидения Для автомобилей с обивкой ''SPORTS DESIGN'' Подушка сидения в сборе не имеется в качестве запчасти. Для получения комплектной подушки сидения закажите следующие отдельные запчасти: подушка сидения, чехлы и монтажный набор. | 1 | |
Плита сидения Не имеется как отдельная запчасть. | 1 | ||
| 3 | 9572454 Замок | 1 | |
| 4 | 7977028 Винт | 2 | |
| 5 | 9787516 Шайба | 2 | |
| 6 | 4505350 Пенопластовая подушка Для автомобилей с текстильной обивкой | 1 | |
| 6 | 4505384 Пенопластовая подушка Для автомобилей с обивкой ''CONTUR'' | 1 | |
| 6 | 4650529 Пенопластовая подушка Для автомобилей с обивкой ''SPORTS DESIGN'' | 1 | |
| 7 | 4048260 Втулка, вкладыш | 4 | |
| 8 | 9572470 Рычаг шарнира | 1 | |
| 9 | 4048278 Крышка | 4 | |
| 10 | 7974397 Винт | 8 | |
| 15 | 9778952 8059578 Винт | 6 | |
| 16 | 4656005 Штифт замка 1996- | 1 | |
4475539 Монтажный комплект Для автомобилей с обивкой ''SPORTS DESIGN'' | X |