1320: Двигатель - Впускная система и выхлопная система - IAC
(1994 - 1998 | 4-CYL TURBO) | Для 9000 (1998)

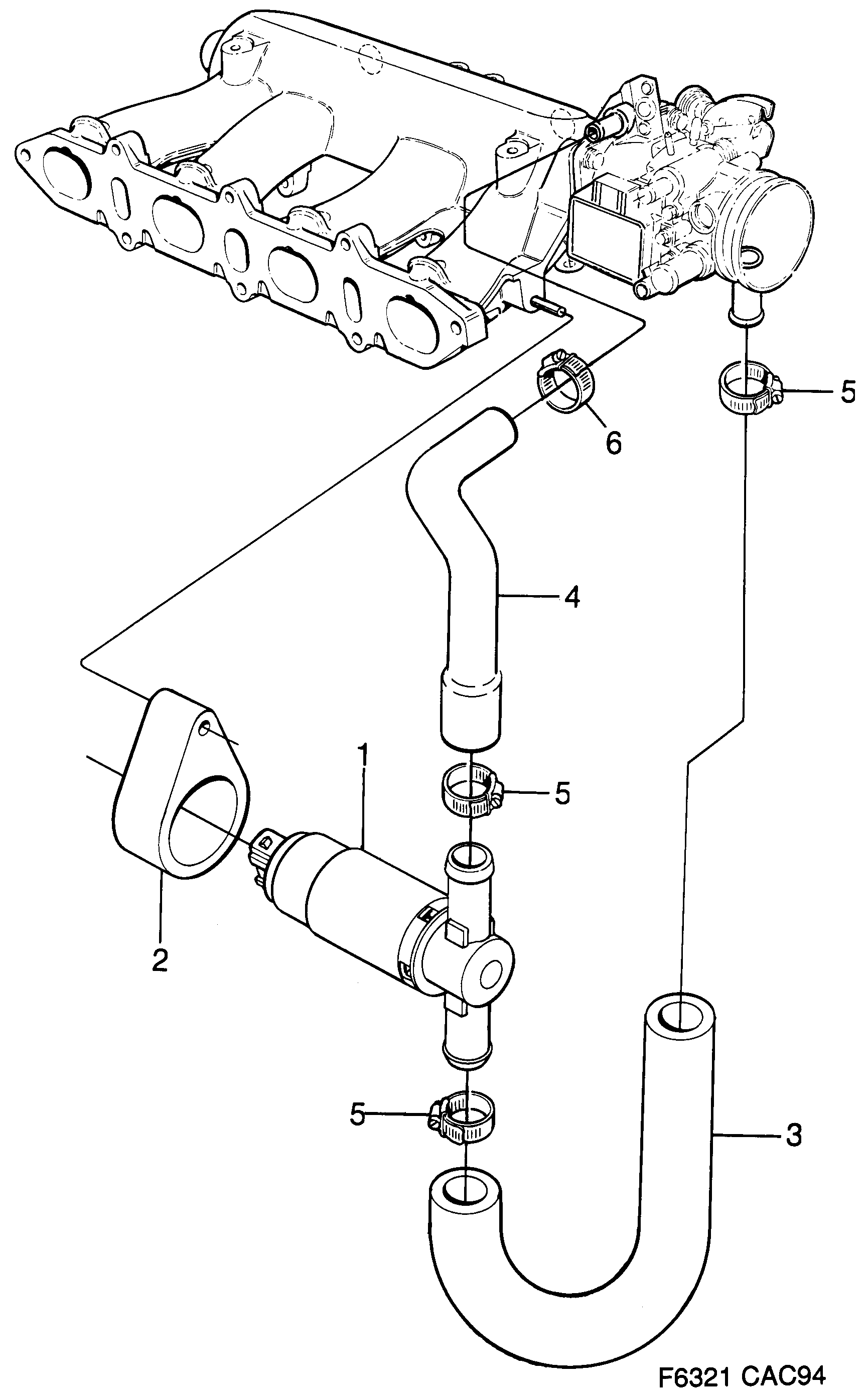
| Поз. | Номер | Кол-во | |
|---|---|---|---|
| 1 | 9127200 Регулировочный клапан | 1 | |
| 2 | 7856933 Держатель | 1 | |
| 3 | 9128703 30545466 Шланг | 1 | |
| 4 | 9128695 Шланг | 1 | |
| 5 | 7963549 7970080 Зажим шланга | 3 | |
| 6 | 7963523 7970064 Зажим шланга | 1 |