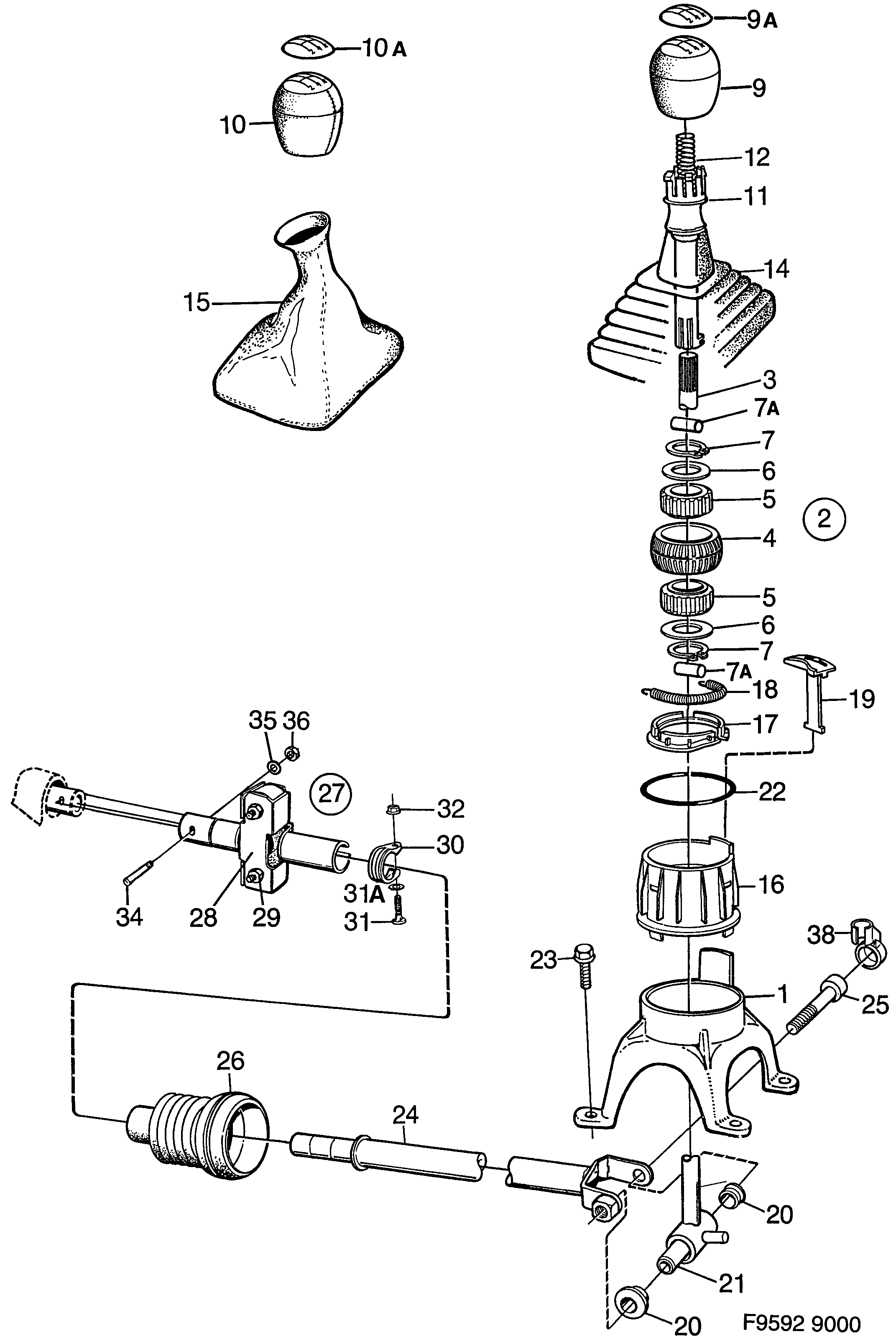
450: Силовая передача - Маневрирование коробкой передач, ручная - Рычаг переключения передач
(1994 - 1998 | M) | Для 9000 (1998)

| Поз. | Номер | Кол-во | |
|---|---|---|---|
| 1 | 4279535 Кожух рычага переключения передач | 1 | |
| 2 | 4384434 Рычаг переключения передач LHD | 1 | |
| 2 | 4384442 Рычаг переключения передач RHD | 1 | |
| 2 | 4384459 Рычаг переключения передач кожа | 1 | |
| 3 | 4775961 Рычаг переключения передач 1997- | 1 | |
| 4 | 4027876 Шарик | 1 | |
| 5 | 4027892 Втулка, вкладыш | 2 | |
| 6 | 4121588 Шайба | 2 | |
| 7A | 4685657 Натяжной штифт 1997- | 2 | |
| 9 | 4904405 5333331 Кнопка 1998-1998 | 1 | |
| 9A | 7550064 Эмблема | 1 | |
| 10 | 4904413 5333349 Кнопка 1998-1998 | кожа | 1 | |
| 10A | 7598725 Эмблема кожа | 1 | |
| 11 | 4027868 Поводок | 1 | |
| 12 | 4477204 Пружина | 1 | |
| 14 | 7599442 Манжета LHD | 1 | |
| 14 | 7599434 Манжета RHD | 1 | |
| 15 | 7598337 Манжета кожа | 1 | |
| 16 | 4477824 Сферический вкладыш | 1 | |
| 17 | 4027850 Сферический вкладыш | 1 | |
| 18 | 4027942 Пружина | 1 | |
| 19 | 4027843 Блокировка задней передачи | 1 | |
| 20 | 7559875 Втулка, вкладыш | 2 | |
| 21 | 7577729 55562625 Прокладка | 1 | |
| 22 | 7967912 О-образное кольцо | 1 | |
| 23 | 7965544 Винт | 4 | |
| 24 | 4118626 Шток вилки переключения передач | 1 | |
| 25 | 7554553 92151758 Винт | 1 | |
| 26 | 7599400 Манжета | 1 | |
| 27 | 4477147 Узел 1994- | 1 | |
| 30 | 4477139 Зажим 1994- | 1 | |
| 31 | 4087813 Винт 1994- | 1 | |
| 31A | 8029985 92153033 Шайба 1994- | 1 | |
| 32 | 7975501 11066386 Гайка | 1 | |
| 34 | 4776274 Штифт 1997- | 1 | |
| 35 | 8029944 Шайба | 1 | |
| 36 | 8074270 Гайка замка 1997- | 1 | |
| 38 | 4775821 Колпак 1997-1998 | 1 |