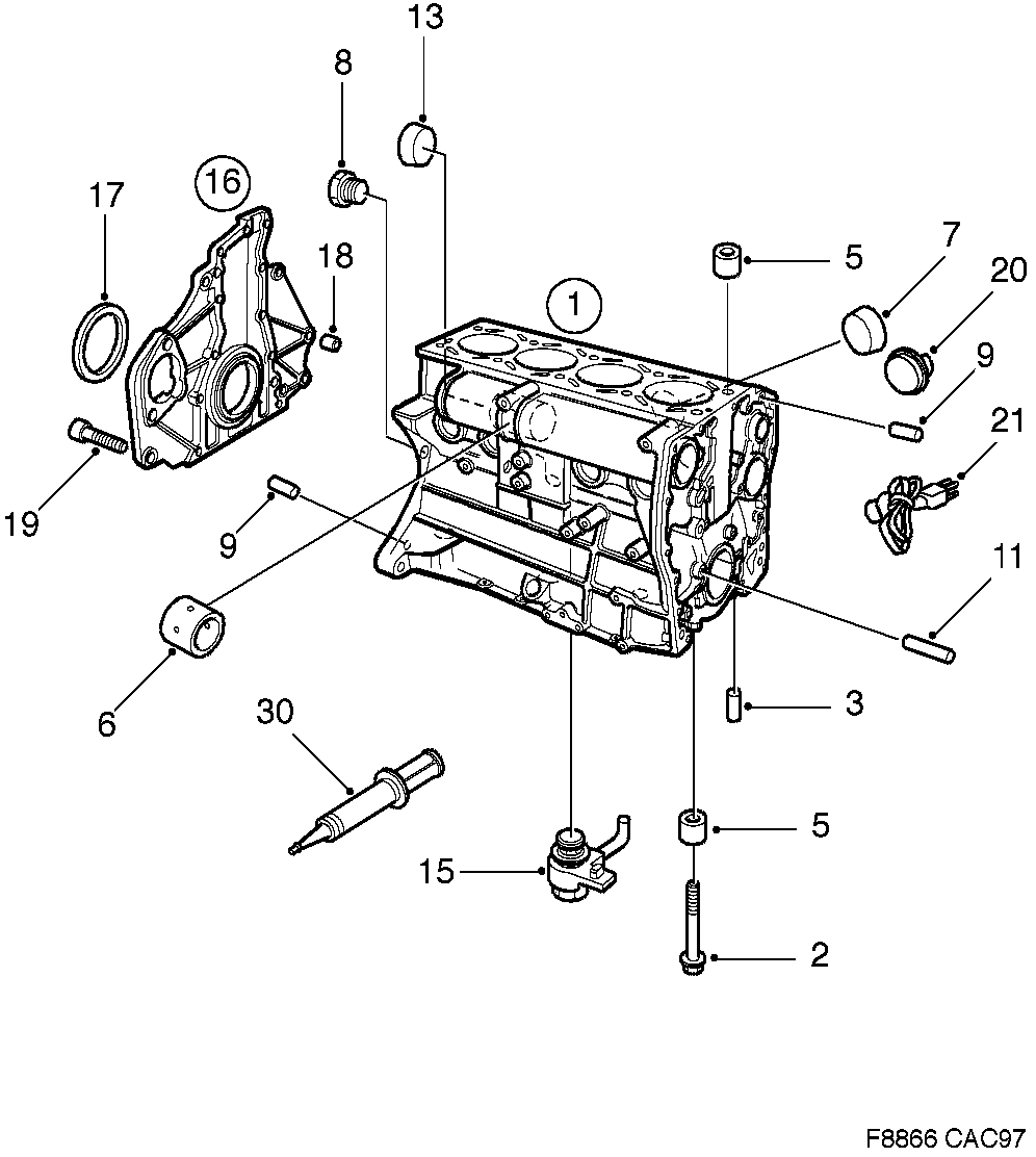
190: Двигатель - Корпус двигателя - Блок цилиндров
(1998 - 2010 | B205E, B205L, B205R, B235E, B235R) | Для 9-5 (9600) (2000)

| Поз. | Номер | Кол-во | |
|---|---|---|---|
| 1 | 9174285 Блок цилиндров 1998-2003 | Не имеется как отдельная запчасть. | 1 | |
| 2 | 9128687 Винт | 10 | |
| 3 | 7949548 Штифт | 5 | |
| 5 | 8346470 Направляющая | 7 | |
| 6 | 9172230 Втулка, вкладыш | 2 | |
| 7 | 7985120 Уплотнительная шайба | 1 | |
| 8 | 8348047 Пробка | 1 | |
| 9 | 7585052 Направляющая | 4 | |
| 11 | 7950066 Штифт | 1 | |
| 13 | 8123259 92151501 Уплотнительная шайба 1998-2005 | 2 | |
| 15 | 9167677 Форсунка охлаждения поршня | 4 | |
| 16 | 30564736 55557715 Плита 1998-2005 | 1 | |
| 17 | 30565654 55557240 Уплотнение 1998-2005 | 1 | |
| 18 | 9129800 Направляющая гильза | 2 | |
| 19 | 4087235 55560366 Винт -2007 | 12 | |
| 20 | 4725883 Обогреватель двигателя 1998-2009 | 1 | |
| 21 | 4397311 Соединительный кабель 1998-2009 | 1 | |
| 30 | 90297970 Уплотнение фланца 50 ML | X |