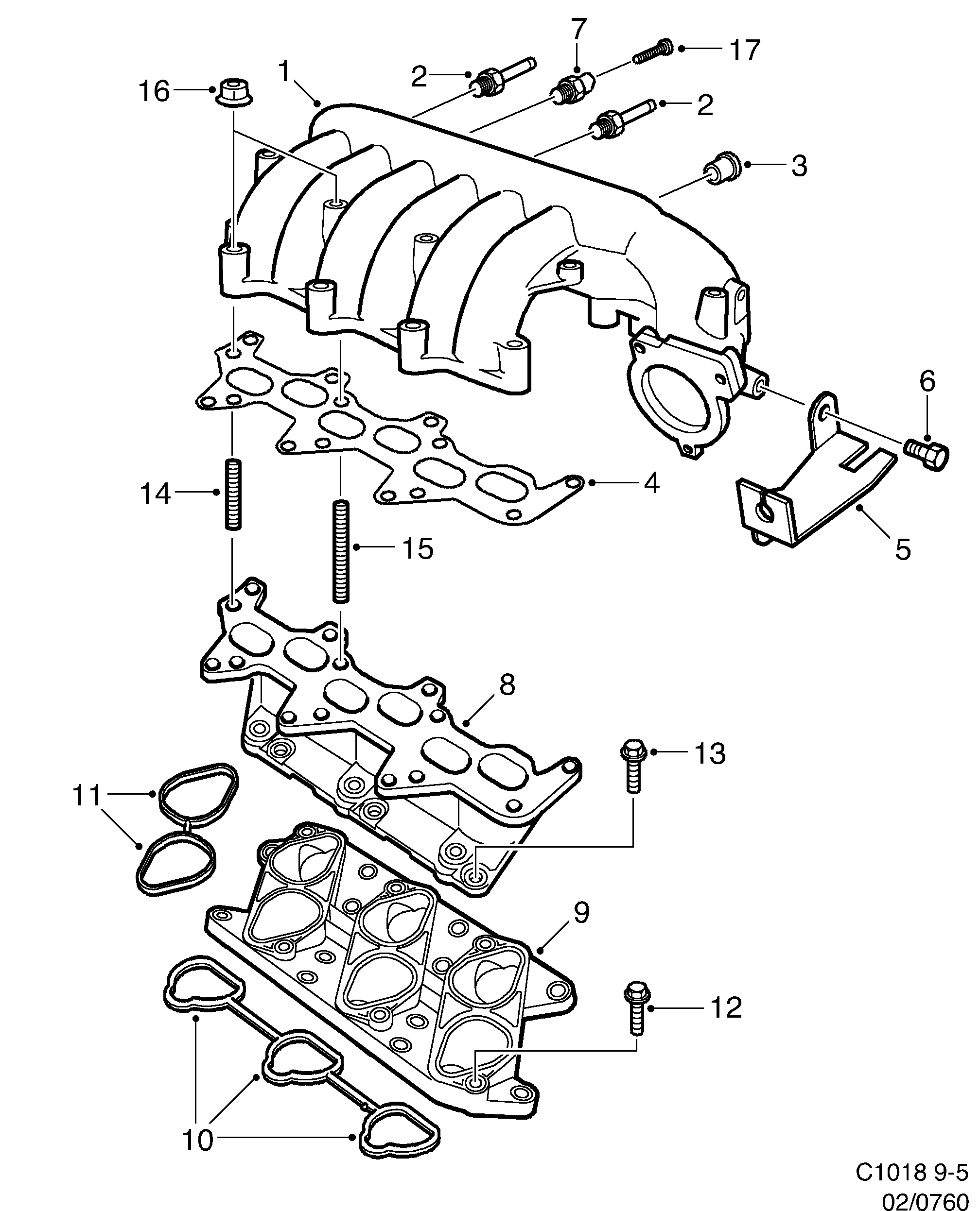
760: Двигатель - Впускная система и выхлопная система - Впускная труба
(1998 - 2003 | B308E) | Для 9-5 (9600) (2002)

| Поз. | Номер | Кол-во | |
|---|---|---|---|
| 1 | 9188939 90490615 Впускная труба 2000- | 1 | |
| 2 | 9177056 90490282 Ниппель | 2 | |
| 3 | 9179318 55557389 Ниппель | 1 | |
| 4 | 4503512 90412126 Прокладка | 1 | |
| 5 | 5950167 Консоль 2002-2003 | 1 | |
| 6 | 7978109 11900354 Винт | 2 | |
| 7 | 9197930 90490743 Датчик давления 2000- | 1 | |
| 8 | 4503850 Впускная труба | 1 | |
| 9 | 4621272 90467004 Фланец | 1 | |
| 10 | 4770418 90501652 Прокладка | 2 | |
| 11 | 4770426 90501653 Прокладка | 3 | |
| 12 | 93175509 Винт M8 X 25 | 12 | |
| 13 | 4773156 11096811 Винт M8 X 20 | 6 | |
| 14 | 4503868 90412461 Резьбовая шпилька | 5 | |
| 15 | 9179821 90490363 Резьбовая шпилька | 2 | |
| 16 | 4503538 11082413 Гайка | 7 | |
| 17 | 90490746 Винт 2000- | 1 |