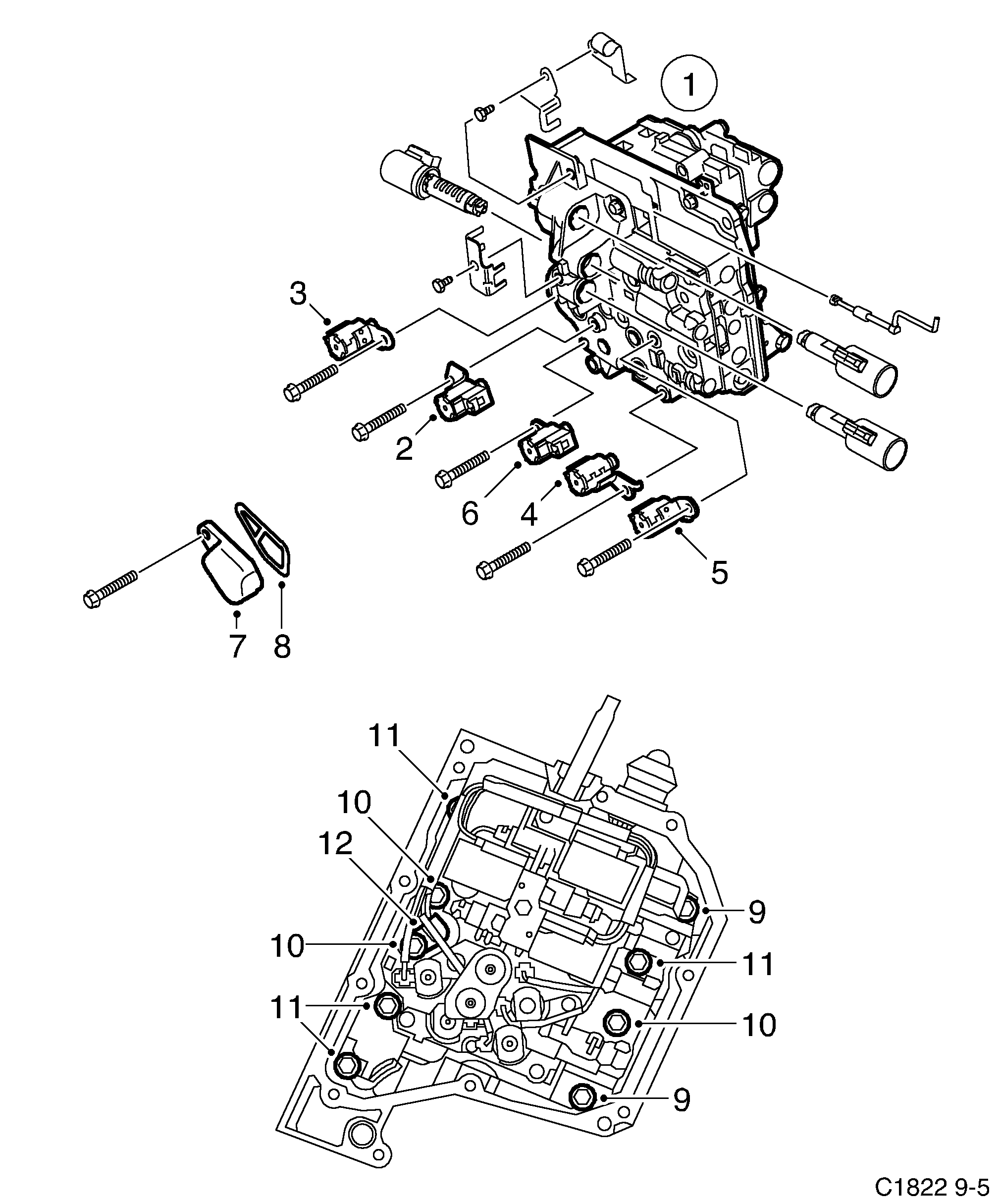
1040: Силовая передача - Коробка передач, автоматическая - Клапанная коробка
(2002 - 2010 | A) | Для 9-5 (9600) (2002)

| Поз. | Номер | Кол-во | |||
|---|---|---|---|---|---|
| 1 | 5449780 Клапанная коробка 2002-2003 | В сборе | 1 | |||
| 2 | 5443684 5448840 Магнитный клапан 2002-2002 | 1 | 1 | |||
| 2 | 93177240 Магнитный клапан 2002-2002 | 1 | 1 | |||
| 3 | 5443692 93177232 Магнитный клапан 2 | 1 | |||
| 4 | 5443700 93177233 Магнитный клапан 3 | 1 | |||
| 5 | 5443718 93177235 Магнитный клапан 4 | 1 | |||
| 6 | 5443726 93177237 Магнитный клапан 5 | 1 | |||
| 7 | 5251970 90542055 Крышка | 1 | |||
| 8 | 5251988 90542059 Прокладка | 1 | |||
| 9 | 5251996 Винт M6 X 1.0 X 16 | 2 | |||
| 10 | 5252002 Винт M6 X 1.0 X 55 | 3 | |||
| 11 | 5252010 Винт M6 X 1.0 X 50 | 4 | |||
| 12 | 5443775 Зажим | 1 | |||