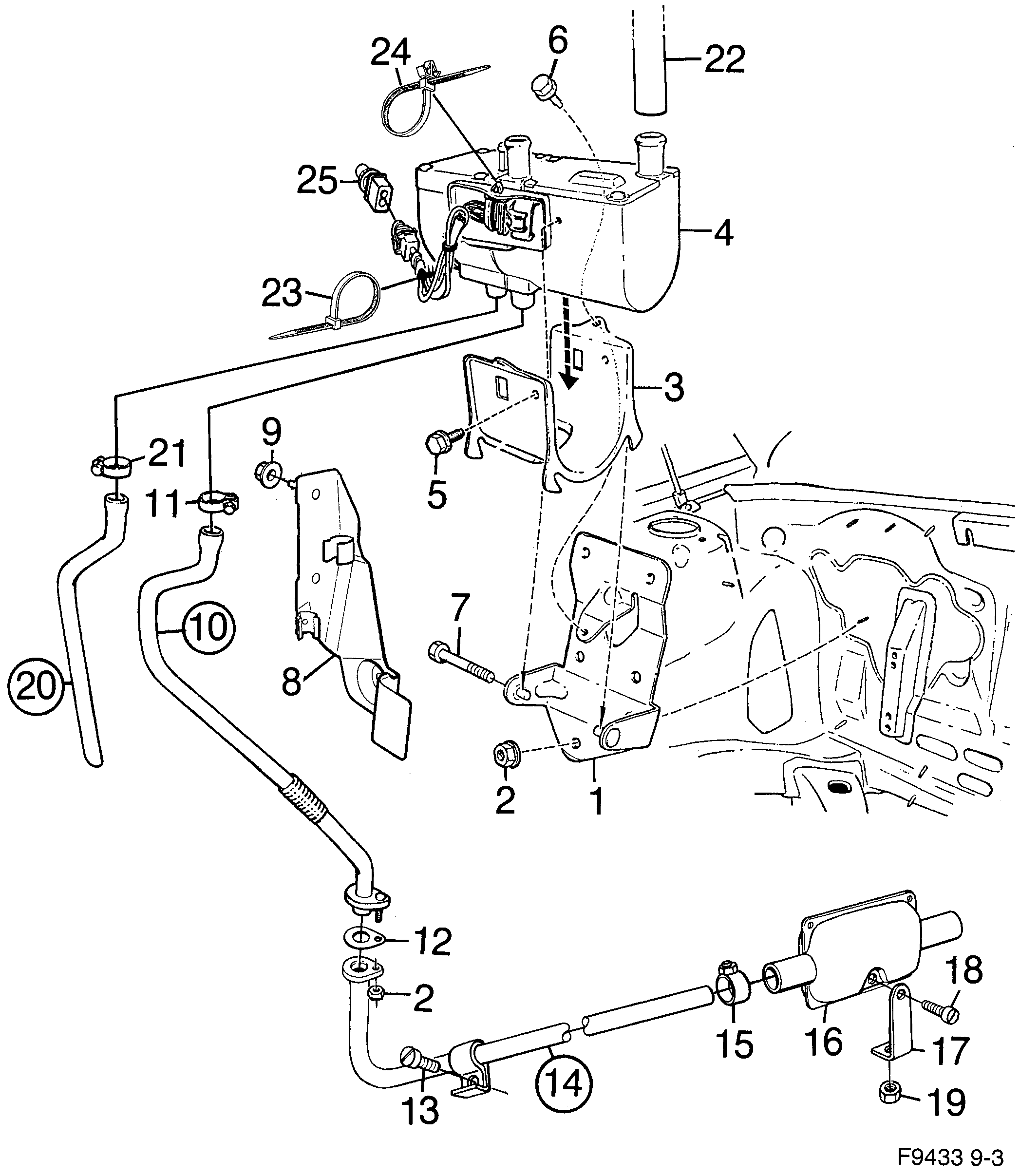
1130: Двигатель - Система охлаждения - Дополнительный обогреватель
(1998 - 2002 | D223L) | Для 9-3 (9400) (2000)

| Поз. | Номер | Кол-во | |||
|---|---|---|---|---|---|
| 1 | 4624771 Консоль LHD | 1 | |||
| 1 | 4624813 Консоль RHD | 1 | |||
| 2 | 7977929 11900451 Гайка | 4 | |||
| 3 | 4962197 Консоль LHD | 1 | |||
| 3 | 4624789 Консоль RHD | 1 | |||
| 4 | |||||
| 5 | 7978091 11900353 Винт | 2 | |||
| 6 | 7978117 11900355 Винт | 1 | |||
| 7 | 8022055 Шестигранный винт | 1 | |||
| 8 | 4878369 Консоль LHD | 1 | |||
| 8 | 4878559 Консоль RHD | 1 | |||
| 6 | 4087128 92152035 Пластмассовая гайка | 2 | |||
| 10 | 4751434 Выхлопная труба LHD | 1 | |||
| 10 | 4751483 Выхлопная труба RHD | 1 | |||
| 11 | 4940433 400109286 Зажим шланга | 1 | |||
| 12 | 4879227 Прокладка | 1 | |||
| 13 | 7971294 Винт | 1 | |||
| 14 | 4876868 Выхлопная труба -2001 | 1 | |||
| 15 | 4940441 Зажим шланга | 1 | |||
| 16 | 4623351 400106936 Глушитель | 1 | |||
| 17 | 4876892 Консоль | 1 | |||
| 18 | 7978091 11900353 Винт | 1 | |||
| 19 | 4087664 92151935 Гайка | 1 | |||
| 20 | 4623344 Всасывающая труба LHD | 1 | |||
| 20 | 4624896 Всасывающая труба RHD | 1 | |||
| 21 | 4940425 Зажим | 1 | |||
| 22 | |||||
| 23 | 7971864 Хомут | 2 | |||
| 24 | 9528019 Хомут | 1 | |||
| 25 | 4942298 Глухой контакт | 1 | |||